Скачать ГОСТ 23209-78 Блоки универсальных штампов для обрезки облоя у круглых в плане штампованных поковок на кривошипных прессах. Конструкция и размеры

Дата актуализации: 01.01.2021

ГОСТ 23209-78

Блоки универсальных штампов для обрезки облоя у круглых в плане штампованных поковок на кривошипных прессах. Конструкция и размеры

Обозначение: ГОСТ 23209-78
Обозначение англ: GOST 23209-78
Статус:действует
Название рус.:Блоки универсальных штампов для обрезки облоя у круглых в плане штампованных поковок на кривошипных прессах. Конструкция и размеры
Название англ.:Versatile press tools for clipping of round in plan view die fordings on crank presses. Design and dimensions
Дата добавления в базу:01.09.2013
Дата актуализации:01.01.2021
Дата введения:01.07.1979
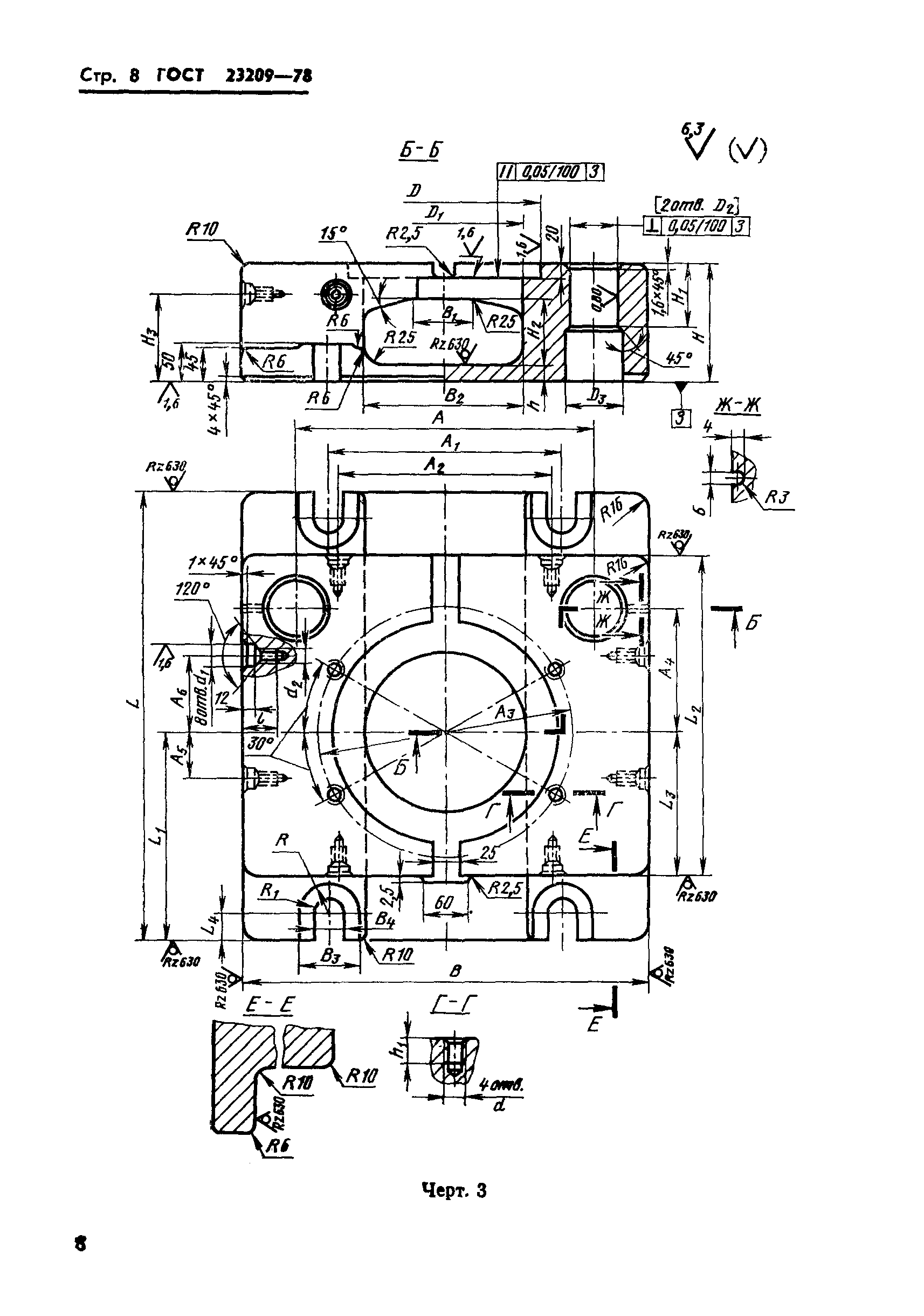
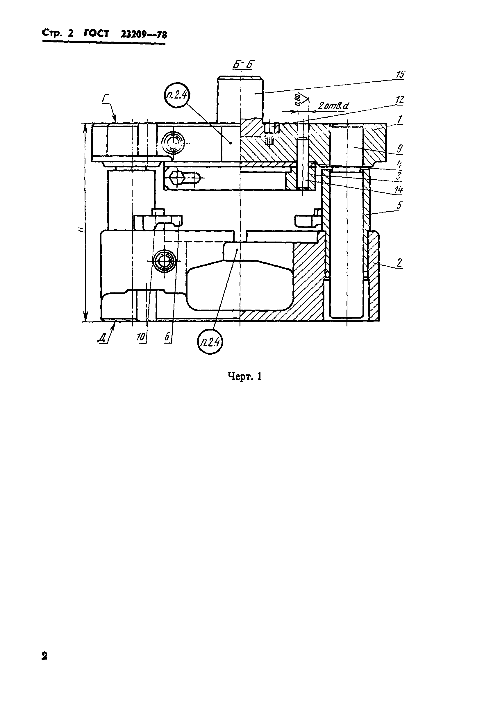
Область применения:Стандарт распространяется на блоки универсальных штампов для обрезки облоя у круглых в плане штампованных поковок на однокривошипных закрытых прессах простого действия.
Оглавление:Приложение (справочное) Компоновка блока универсального штампа для обрезки облоя у круглых в плане штампованных поковок на кривошипных прессах
Разработан: Министерство машиностроения для легкой и пищевой промышленности и бытовых приборов
Утверждён:12.07.1978 Государственный комитет стандартов Совета Министров СССР (USSR National Committee on Standards at the Cabinet of Ministers 1874)
Издан: Издательство стандартов (1978 г. )
Нормативные ссылки:
ГОСТ 23209-78ГОСТ 23209-78ГОСТ 23209-78ГОСТ 23209-78ГОСТ 23209-78ГОСТ 23209-78ГОСТ 23209-78ГОСТ 23209-78ГОСТ 23209-78ГОСТ 23209-78ГОСТ 23209-78ГОСТ 23209-78ГОСТ 23209-78ГОСТ 23209-78ГОСТ 23209-78ГОСТ 23209-78ГОСТ 23209-78ГОСТ 23209-78ГОСТ 23209-78ГОСТ 23209-78ГОСТ 23209-78ГОСТ 23209-78ГОСТ 23209-78ГОСТ 23209-78