Скачать ГОСТ 23215-78 Диамагазин для малоформатных диапроекторов. Конструкция

Дата актуализации: 01.01.2021

ГОСТ 23215-78

Диамагазин для малоформатных диапроекторов. Конструкция

Обозначение: ГОСТ 23215-78
Обозначение англ: GOST 23215-78
Статус:действует
Название рус.:Диамагазин для малоформатных диапроекторов. Конструкция
Название англ.:Slide tray for miniature format slide projectors. Design
Дата добавления в базу:01.09.2013
Дата актуализации:01.01.2021
Дата введения:01.01.1980
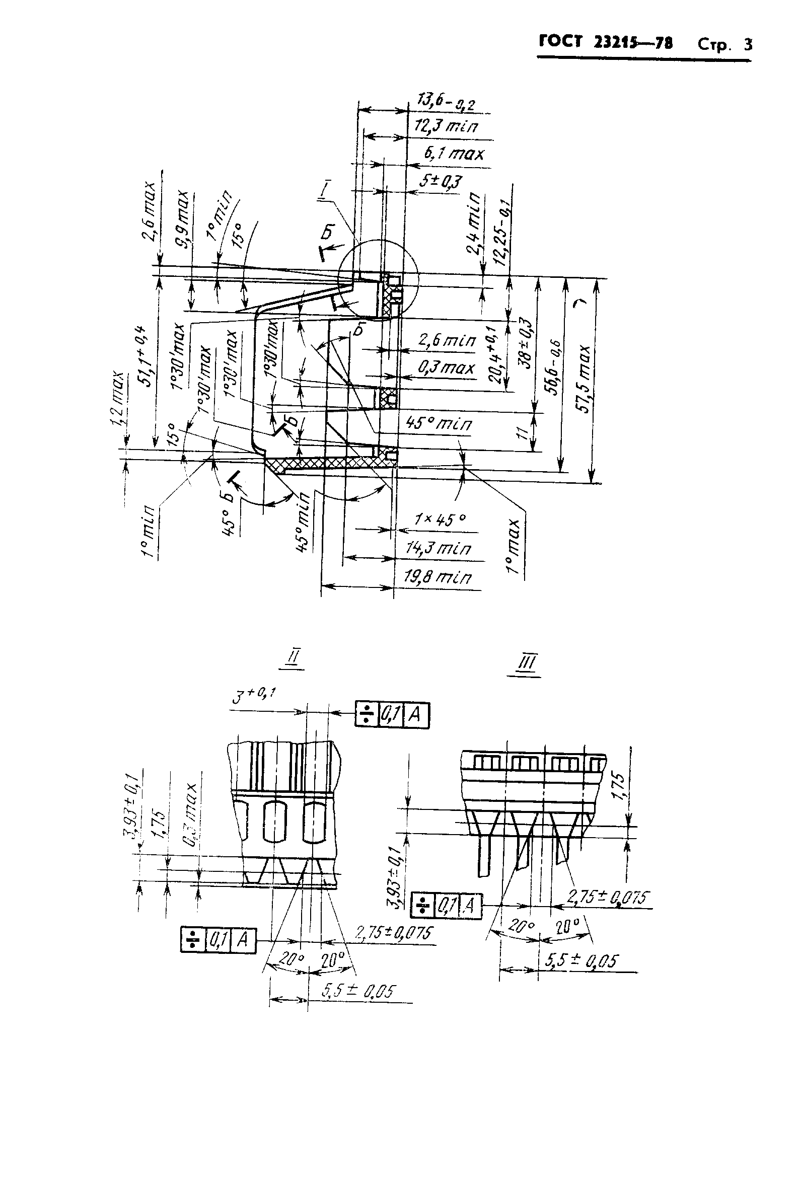
Область применения:Стандарт распространяется на прямые диамагазины для диапозитивных рамок размером 50х50 мм.
Утверждён:17.07.1978 Госстандарт СССР (USSR Gosstandart 1909)
Издан: Издательство стандартов (1978 г. )
Список изменений:
ГОСТ 23215-78ГОСТ 23215-78ГОСТ 23215-78ГОСТ 23215-78ГОСТ 23215-78ГОСТ 23215-78ГОСТ 23215-78ГОСТ 23215-78

Текстовое изменение № 1 от 01.01.1989

№ 1№ 1