Скачать ГОСТ 23267-78 Аптечки индивидуальные. Технические условия

Дата актуализации: 01.01.2021

ГОСТ 23267-78

Аптечки индивидуальные. Технические условия

Обозначение: ГОСТ 23267-78
Обозначение англ: GOST 23267-78
Статус:отменен в рф
Название рус.:Аптечки индивидуальные. Технические условия
Название англ.:Individual medicinal chests. Specifications
Дата добавления в базу:01.09.2013
Дата актуализации:01.01.2021
Дата введения:01.07.1979
Дата окончания срока действия:01.07.2012
Область применения:Стандарт распространяется на индивидуальные аптечки, предназначенные для профилактики и оказания первой помощи при радиационном поражении, поражении отравляющими веществами и бактериальными средствами личного состава вооруженных сил и населения.
Оглавление:1 Типы и размеры
2 Технические требования
3 Правила приемки
4 Методы испытаний
5 Упаковка, маркировка, транспортирование и хранение
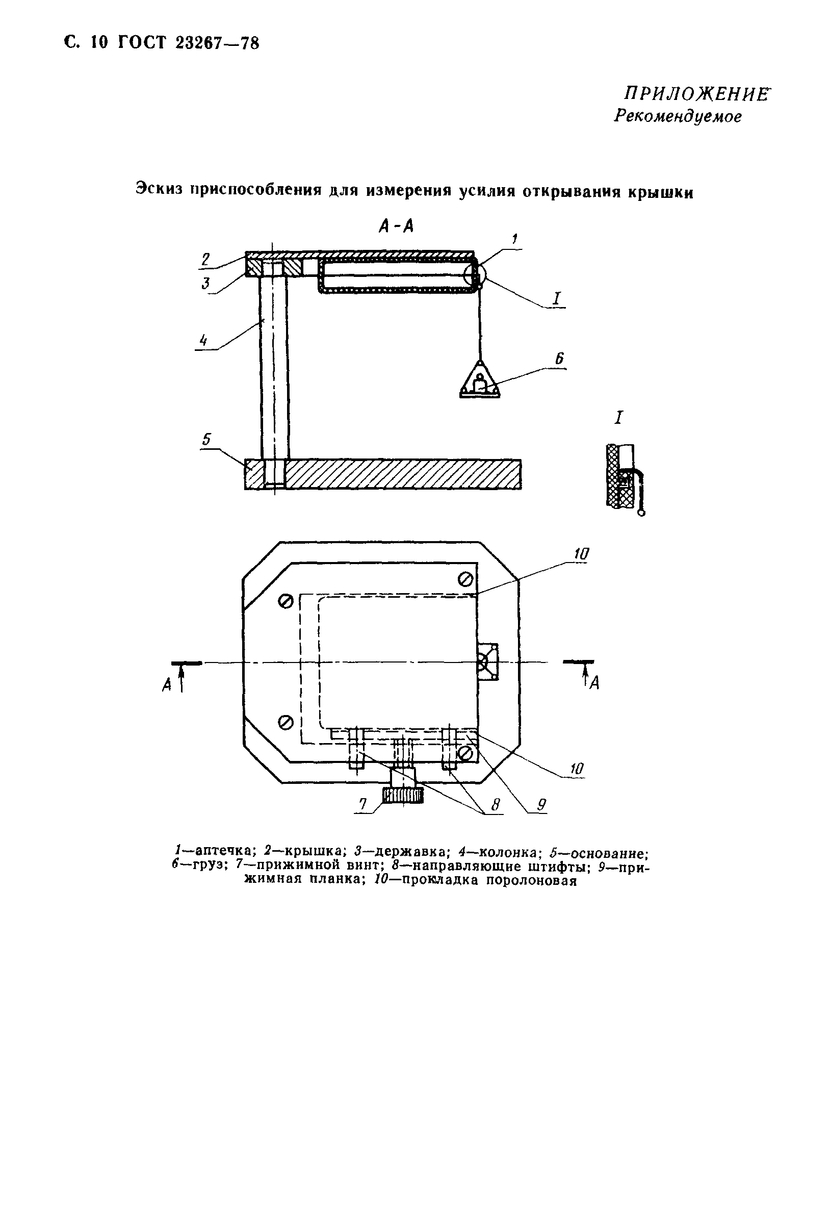
Приложение (рекомендуемое) Эскиз приспособления для измерения усилия отрывания крышки
Разработан: Министерство медицинской и микробиологической промышленности СССР
Утверждён:31.08.1978 Государственный комитет СССР по стандартам (USSR National Committee on Standards 2402)
Издан: Издательство стандартов (1978 г. )
Издательство стандартов (1995 г. )
Список изменений:
Нормативные ссылки:
ГОСТ 23267-78ГОСТ 23267-78ГОСТ 23267-78ГОСТ 23267-78ГОСТ 23267-78ГОСТ 23267-78ГОСТ 23267-78ГОСТ 23267-78ГОСТ 23267-78ГОСТ 23267-78ГОСТ 23267-78ГОСТ 23267-78ГОСТ 23267-78

Текстовое изменение № 4 от 01.09.1988

№ 4№ 4