Скачать ГОСТ 23560-79 Шинели для суворовцев, воспитанников военно-музыкальных школ и нахимовцев. Технические условияДата актуализации: 01.01.2021
|
| Обозначение: | ГОСТ 23560-79 |
| Обозначение англ: | GOST 23560-79 |
| Статус: | действует |
| Название рус.: | Шинели для суворовцев, воспитанников военно-музыкальных школ и нахимовцев. Технические условия |
| Название англ.: | Greatcoats for pupils of Suvorov military colleges, military musical colleges and Nakhimov naval college. Specifications |
| Дата добавления в базу: | 01.09.2013 |
| Дата актуализации: | 01.01.2021 |
| Дата введения: | 01.07.1980 |
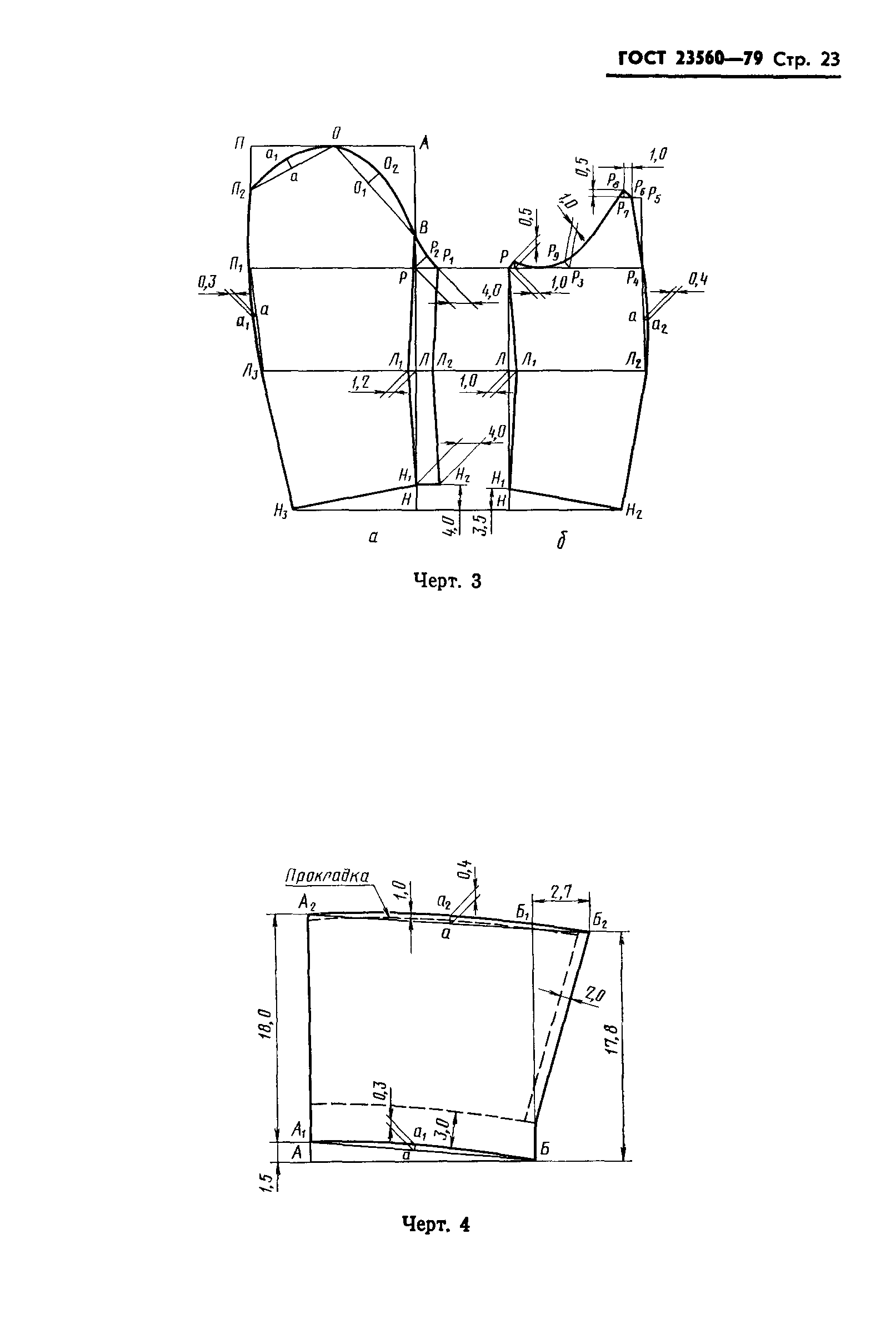
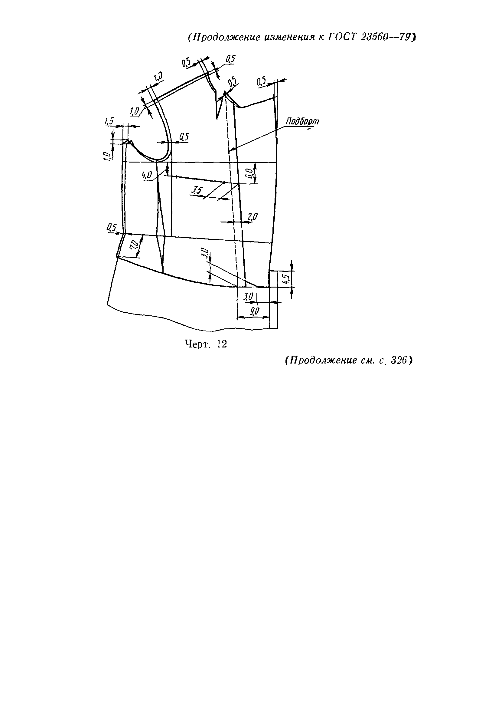
| Оглавление: | 1 Основные размеры 2 Технические требования 3 Правила приемки 4 Маркировка, упаковка, транспортирование и хранение Приложение 1 Пособие для построения чертежей лекал шинелей Приложение 2 Спецификация деталей |
| Утверждён: | 16.04.1979 Госстандарт СССР (USSR Gosstandart 1392) |


































