Скачать ГОСТ 23617-79 Одежда форменная. Куртка утепленная женская. Технические условияДата актуализации: 01.01.2021
|
| Обозначение: | ГОСТ 23617-79 |
| Обозначение англ: | GOST 23617-79 |
| Статус: | действует |
| Название рус.: | Одежда форменная. Куртка утепленная женская. Технические условия |
| Название англ.: | Uniform. Woman's warmed jacket. Specificatins |
| Дата добавления в базу: | 01.09.2013 |
| Дата актуализации: | 01.01.2021 |
| Дата введения: | 01.01.1981 |
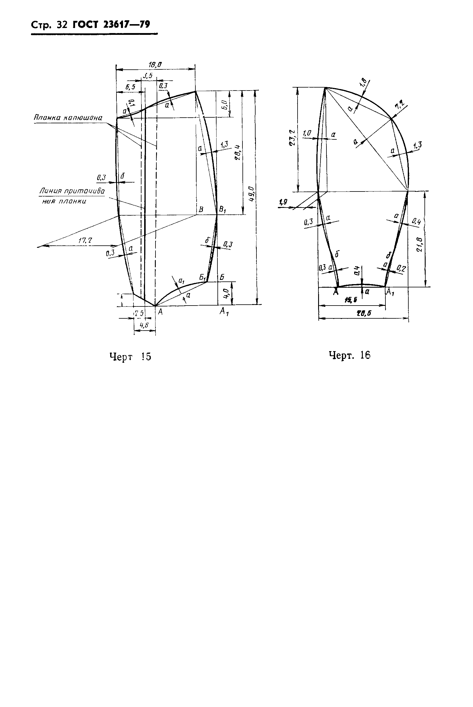
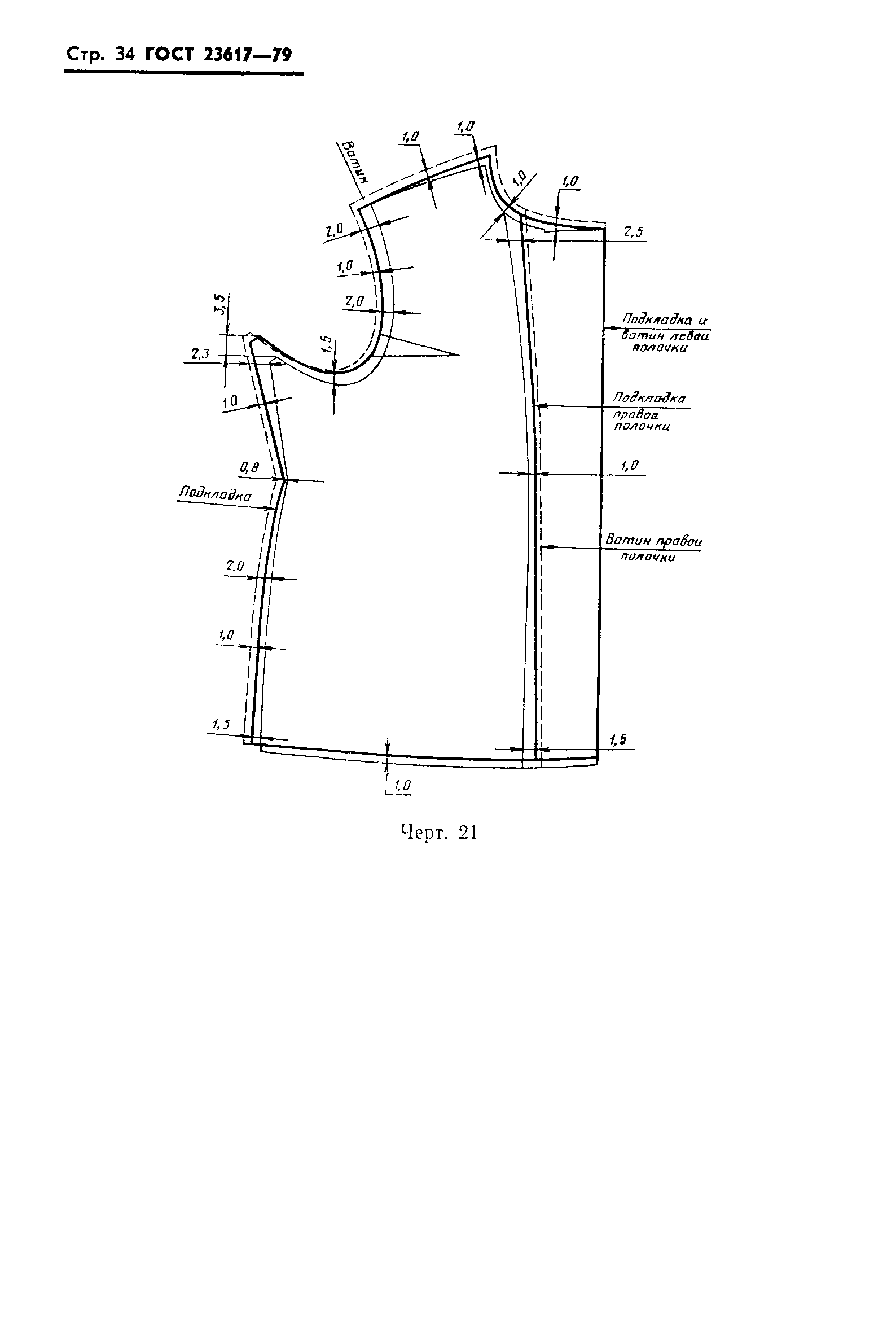
| Оглавление: | 1 Типы и основные размеры 2 Технические требования 3 Правила приемки и методы контроля 4 Маркировка, упаковка, транспортирование и хранение Приложение 1 Особенности обработки Приложение 2 Пособие для построения чертежей и лекал курток Приложение 3 Спецификация деталей курток Приложение 4 Норма расхода ваты на куртку |
| Утверждён: | 07.05.1979 Госстандарт СССР (USSR Gosstandart 1620) |















































