Скачать ГОСТ 23865-79 Вводы конденсаторные герметичные на номинальные напряжения от 110 кВ и выше. Типы и размеры

Дата актуализации: 01.01.2021

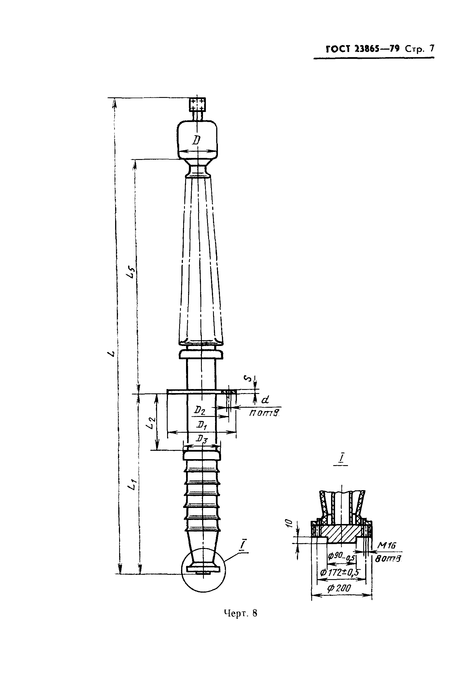
ГОСТ 23865-79

Вводы конденсаторные герметичные на номинальные напряжения от 110 кВ и выше. Типы и размеры

Обозначение: ГОСТ 23865-79
Обозначение англ: GOST 23865-79
Статус:действует
Название рус.:Вводы конденсаторные герметичные на номинальные напряжения от 110 кВ и выше. Типы и размеры
Название англ.:Condenser sealed bushings for nominal voltages from 110 V and higher. Type and sizes
Дата добавления в базу:01.09.2013
Дата актуализации:01.01.2021
Дата введения:01.01.1982
Область применения:Стандарт распространяется на механические центробежные форсунки и паромеханические форсунки (с механической центробежной топливной ступенью) паровых котлов тепловых электростанций, предназначенные для распыления топочного мазута. Стандарт не распространяется на форсунки для установок технологического и энерготехнологического назначения и камер сгорания газотурбинных установок
Утверждён:26.10.1979 Госстандарт СССР (USSR Gosstandart 4084)
Издан: Издательство стандартов (1983 г. )
Список изменений:
Нормативные ссылки:
ГОСТ 23865-79ГОСТ 23865-79ГОСТ 23865-79ГОСТ 23865-79ГОСТ 23865-79ГОСТ 23865-79ГОСТ 23865-79ГОСТ 23865-79ГОСТ 23865-79ГОСТ 23865-79ГОСТ 23865-79ГОСТ 23865-79ГОСТ 23865-79ГОСТ 23865-79ГОСТ 23865-79ГОСТ 23865-79ГОСТ 23865-79ГОСТ 23865-79ГОСТ 23865-79ГОСТ 23865-79ГОСТ 23865-79ГОСТ 23865-79ГОСТ 23865-79ГОСТ 23865-79ГОСТ 23865-79ГОСТ 23865-79ГОСТ 23865-79ГОСТ 23865-79ГОСТ 23865-79ГОСТ 23865-79ГОСТ 23865-79ГОСТ 23865-79ГОСТ 23865-79ГОСТ 23865-79ГОСТ 23865-79ГОСТ 23865-79ГОСТ 23865-79ГОСТ 23865-79ГОСТ 23865-79ГОСТ 23865-79ГОСТ 23865-79

Текстовое изменение № 2 от 01.01.1987

№ 2№ 2№ 2№ 2№ 2

Текстовое изменение № 3 от 01.04.1988

№ 3№ 3№ 3