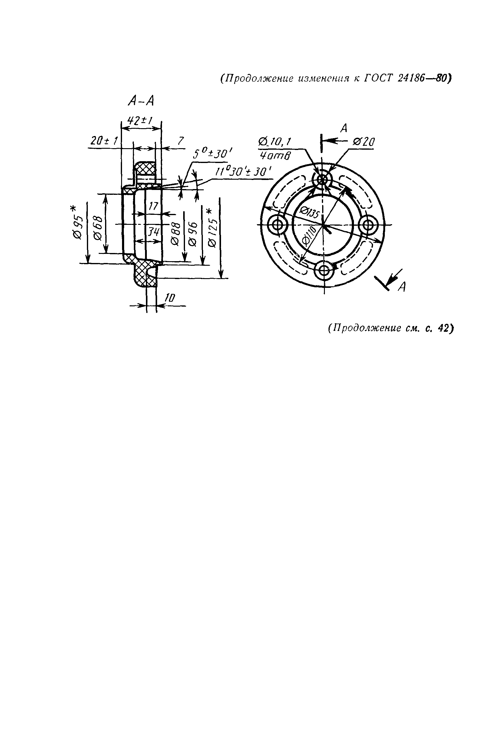
Скачать ГОСТ 24186-80 Фланцы. КонструкцияДата актуализации: 01.01.2021
|
| Обозначение: | ГОСТ 24186-80 |
| Обозначение англ: | GOST 24186-80 |
| Статус: | действует |
| Название рус.: | Фланцы. Конструкция |
| Название англ.: | Flanges. Construction |
| Дата добавления в базу: | 01.09.2013 |
| Дата актуализации: | 01.01.2021 |
| Дата введения: | 01.07.1981 |
| Утверждён: | 22.05.1980 Госстандарт СССР (USSR Gosstandart 2306) |







