Скачать ГОСТ 24232-80 Одежда форменная. Брюки утепленные для офицеров. Технические условияДата актуализации: 01.01.2021
|
| Обозначение: | ГОСТ 24232-80 |
| Обозначение англ: | GOST 24232-80 |
| Статус: | действует |
| Название рус.: | Одежда форменная. Брюки утепленные для офицеров. Технические условия |
| Название англ.: | Uniform. Warm trousers for officers. Specifications |
| Дата добавления в базу: | 01.09.2013 |
| Дата актуализации: | 01.01.2021 |
| Дата введения: | 01.01.1982 |
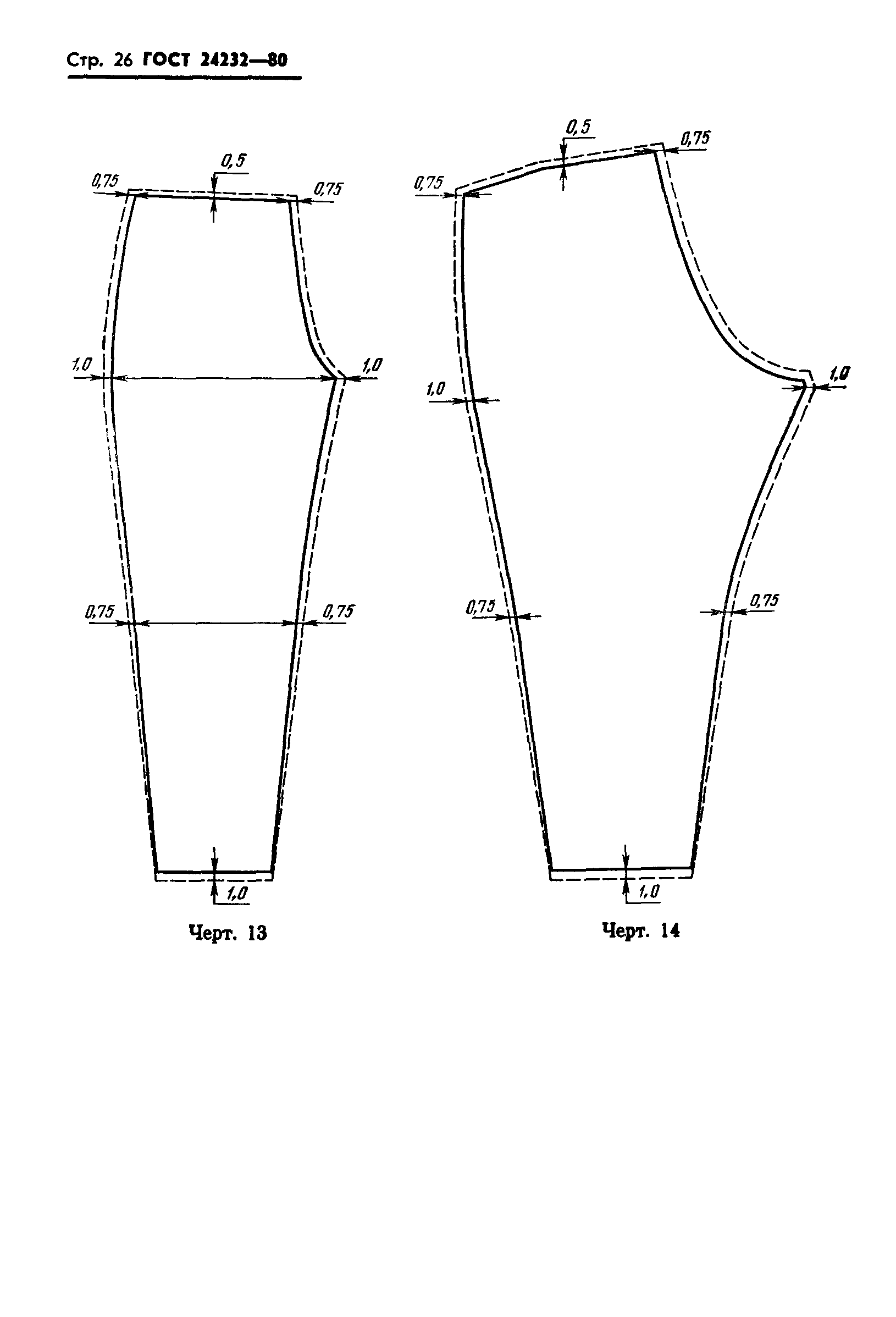
| Оглавление: | 1 Типы и размеры 2 Технические требования 3 Правила приемки и методы контроля 4 Маркировка, упаковка, транспортирование и хранение Приложение 1 Особенности обработки Приложение 2 Пособие для построения чертежей лекал брюк Приложение 3 Спецификация деталей брюк Приложение 4 Норма расхода ваты на брюки |
| Утверждён: | 12.06.1980 Госстандарт СССР (USSR Gosstandart 2722) |













































