Скачать ГОСТ 24271-80 Шарниры под сварку на кассетные пресс-формы для изготовления резинотехнических изделий. Конструкция и размерыДата актуализации: 01.01.2021
|
| Обозначение: | ГОСТ 24271-80 |
| Обозначение англ: | GOST 24271-80 |
| Статус: | действует |
| Название рус.: | Шарниры под сварку на кассетные пресс-формы для изготовления резинотехнических изделий. Конструкция и размеры |
| Название англ.: | Joints welding on plates of bar press moulds for manufacturing of industrial rubber articles. Design and dimensions |
| Дата добавления в базу: | 01.09.2013 |
| Дата актуализации: | 01.01.2021 |
| Дата введения: | 01.01.1981 |
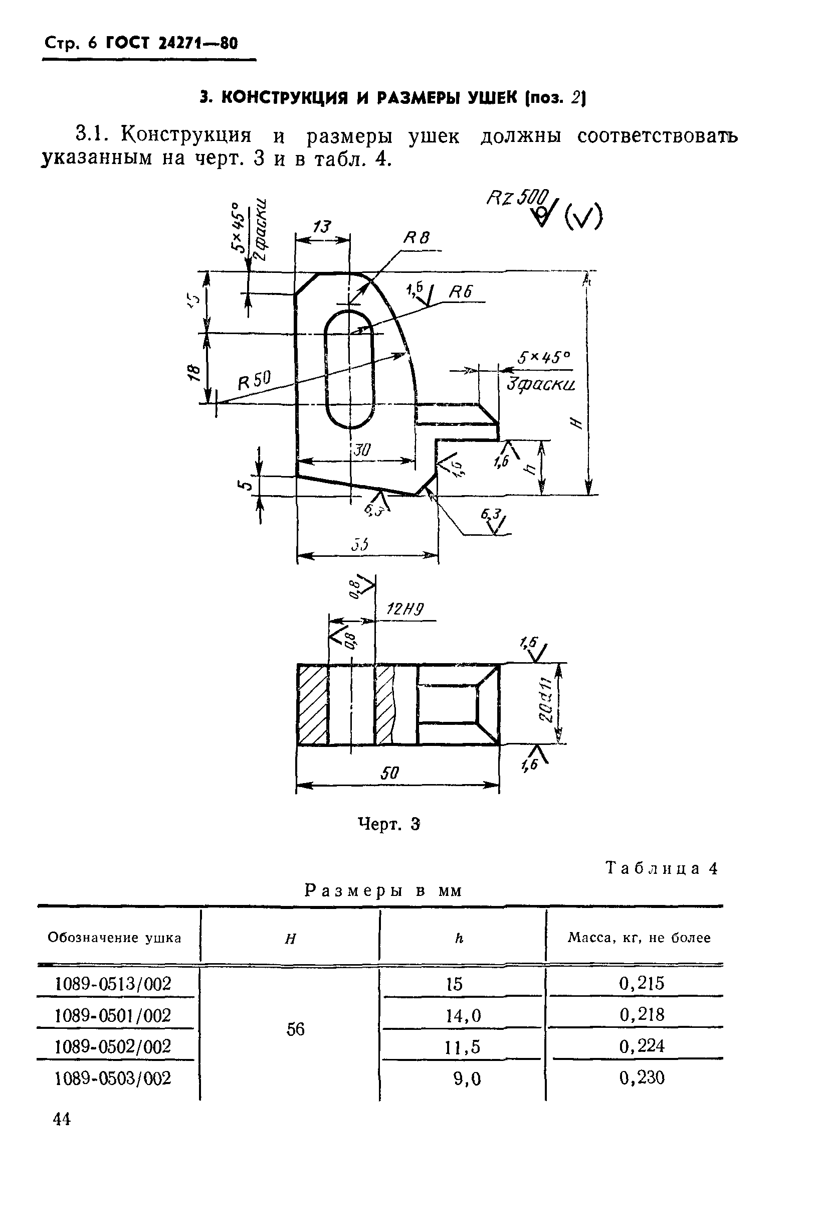
| Оглавление: | 1 Конструкция и размеры шарниров 2 Конструкция и размеры вилок (поз. 1) 3 Конструкция и размеры ушек (поз. 2) Приложение Примеры применения шарнира под сварку для кассетных пресс-форм |
| Утверждён: | 24.06.1980 Госстандарт СССР (USSR Gosstandart 3018) |






