Скачать ГОСТ 24317-80 Блоки двухкассетных пресс-форм для изготовления резинотехнических изделий. Конструкция и размеры

Дата актуализации: 01.01.2021

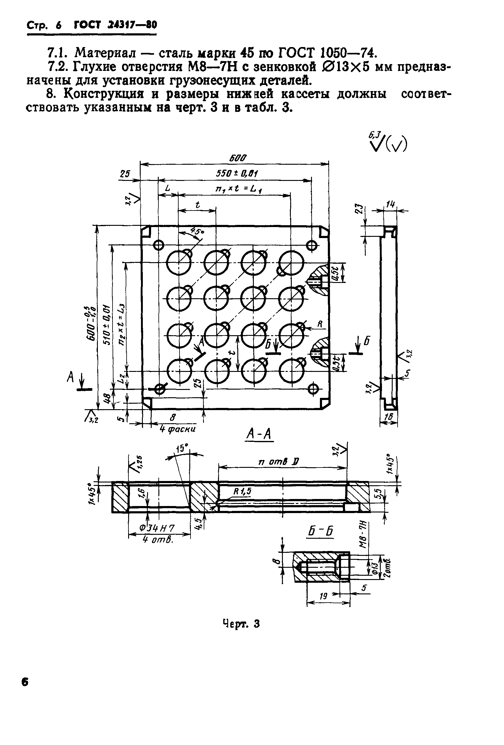
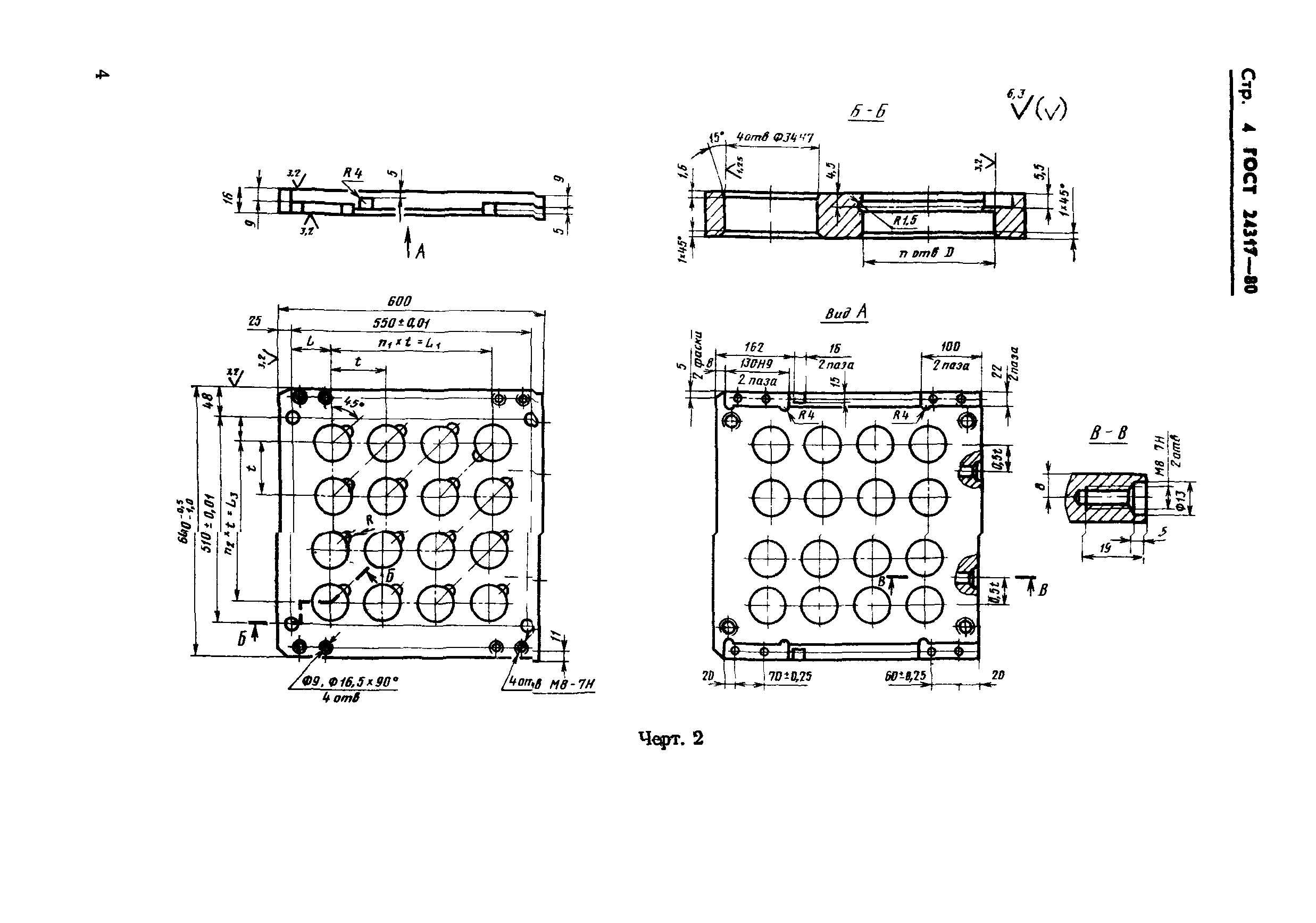
ГОСТ 24317-80

Блоки двухкассетных пресс-форм для изготовления резинотехнических изделий. Конструкция и размеры

Обозначение: ГОСТ 24317-80
Обозначение англ: GOST 24317-80
Статус:действует
Название рус.:Блоки двухкассетных пресс-форм для изготовления резинотехнических изделий. Конструкция и размеры
Название англ.:Blocks of two-cassette moulds for production of rubber technical parts. Design and dimensions
Дата добавления в базу:01.09.2013
Дата актуализации:01.01.2021
Дата введения:01.01.1982
Оглавление:Приложение Пример крепления пакета в двухкассетном блоке
Утверждён:18.07.1980 Госстандарт СССР (USSR Gosstandart 3731)
ГОСТ 24317-80ГОСТ 24317-80ГОСТ 24317-80ГОСТ 24317-80ГОСТ 24317-80ГОСТ 24317-80ГОСТ 24317-80ГОСТ 24317-80ГОСТ 24317-80ГОСТ 24317-80ГОСТ 24317-80ГОСТ 24317-80