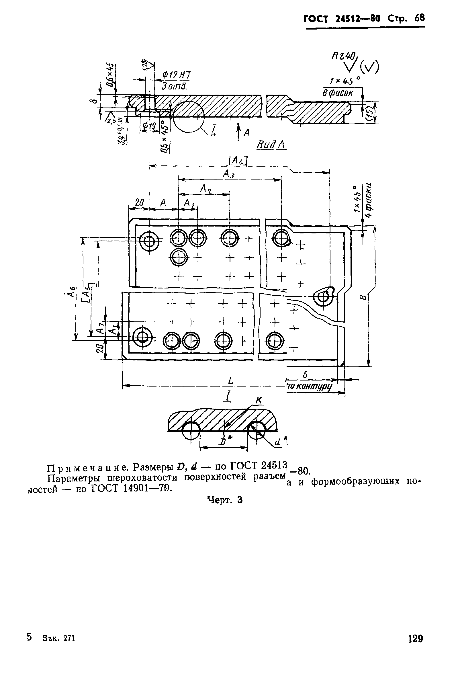
Скачать ГОСТ 24512-80 Пресс-формы многоместные съемные для изготовления резиновых колец круглого сечения. Конструкция и размерыДата актуализации: 01.01.2021 ГОСТ 24512-80
Пресс-формы многоместные съемные для изготовления резиновых колец круглого сечения. Конструкция и размеры| Обозначение: | ГОСТ 24512-80 | | Обозначение англ: | GOST 24512-80 | | Статус: | действует | | Название рус.: | Пресс-формы многоместные съемные для изготовления резиновых колец круглого сечения. Конструкция и размеры | | Название англ.: | Press-moulds multi-placel removable for manufacturing of rubber o-rings section. Construction and dimensions | | Дата добавления в базу: | 01.09.2013 | | Дата актуализации: | 01.01.2021 | | Дата введения: | 01.01.1983 | | Утверждён: | 30.12.1980 Госстандарт СССР (USSR Gosstandart 6273)
|
                                                                                        
|