Скачать ГОСТ 24516-80 Пакеты быстросменные с горизонтальным разъемом пресс-форм для изготовления резиновых колец круглого сечения. Конструкция и размеры

Дата актуализации: 01.01.2021

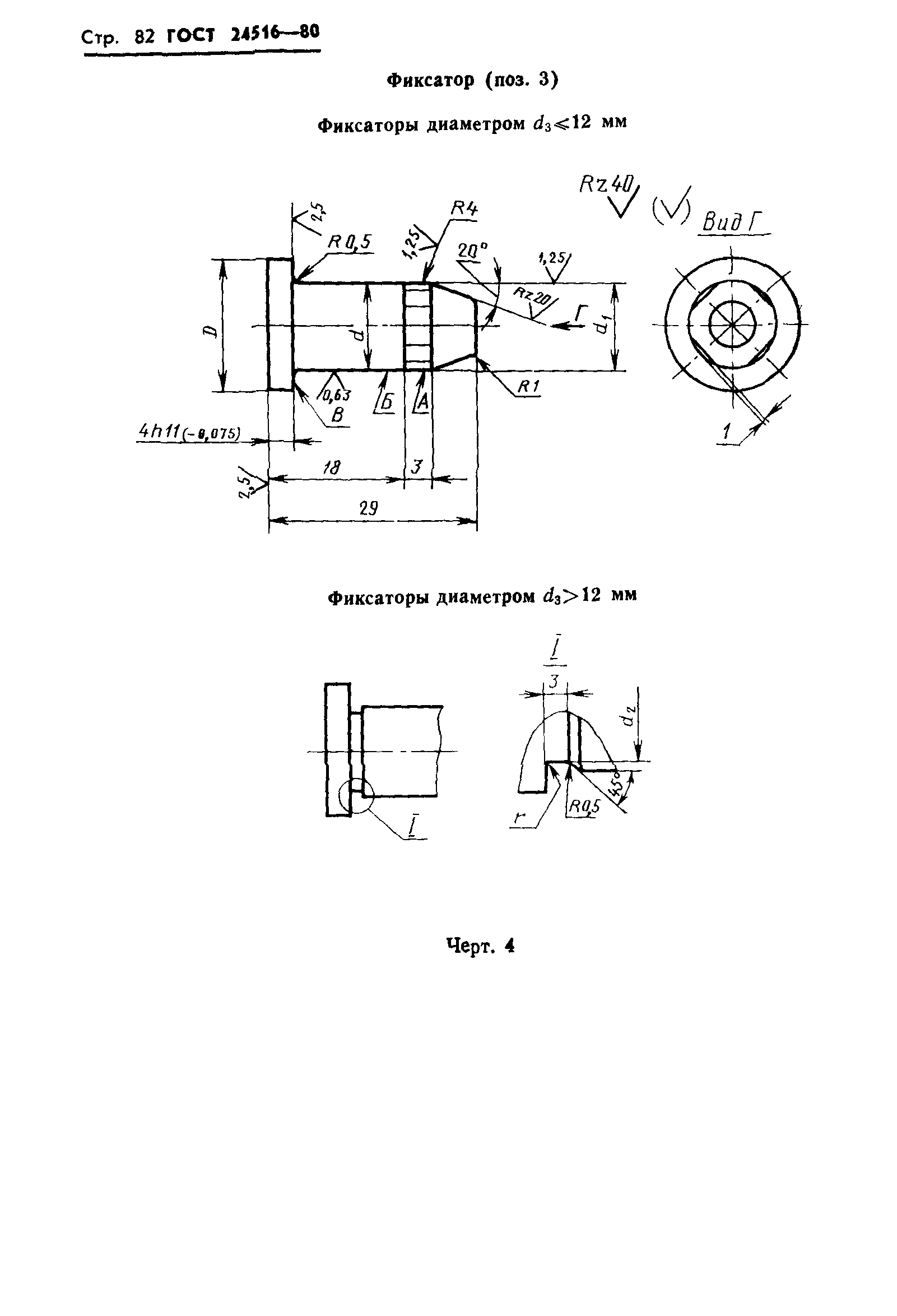
ГОСТ 24516-80

Пакеты быстросменные с горизонтальным разъемом пресс-форм для изготовления резиновых колец круглого сечения. Конструкция и размеры

Обозначение: ГОСТ 24516-80
Обозначение англ: GOST 24516-80
Статус:действует
Название рус.:Пакеты быстросменные с горизонтальным разъемом пресс-форм для изготовления резиновых колец круглого сечения. Конструкция и размеры
Название англ.:Packets quick-changing with horisontal break of press-moulds for manufacturing of rubber o-rings section. Construction and dimensions
Дата добавления в базу:01.09.2013
Дата актуализации:01.01.2021
Дата введения:01.01.1983
Оглавление:Приложение Компоновка пакетов в блоках универсальных пресс-форм
Утверждён:30.12.1980 Госстандарт СССР (USSR Gosstandart 6274)
ГОСТ 24516-80ГОСТ 24516-80ГОСТ 24516-80ГОСТ 24516-80ГОСТ 24516-80ГОСТ 24516-80ГОСТ 24516-80ГОСТ 24516-80ГОСТ 24516-80ГОСТ 24516-80ГОСТ 24516-80ГОСТ 24516-80ГОСТ 24516-80ГОСТ 24516-80ГОСТ 24516-80ГОСТ 24516-80ГОСТ 24516-80ГОСТ 24516-80ГОСТ 24516-80ГОСТ 24516-80ГОСТ 24516-80ГОСТ 24516-80ГОСТ 24516-80ГОСТ 24516-80ГОСТ 24516-80ГОСТ 24516-80ГОСТ 24516-80ГОСТ 24516-80ГОСТ 24516-80ГОСТ 24516-80ГОСТ 24516-80ГОСТ 24516-80ГОСТ 24516-80ГОСТ 24516-80ГОСТ 24516-80ГОСТ 24516-80ГОСТ 24516-80ГОСТ 24516-80ГОСТ 24516-80ГОСТ 24516-80ГОСТ 24516-80ГОСТ 24516-80ГОСТ 24516-80ГОСТ 24516-80ГОСТ 24516-80ГОСТ 24516-80ГОСТ 24516-80ГОСТ 24516-80ГОСТ 24516-80ГОСТ 24516-80ГОСТ 24516-80ГОСТ 24516-80ГОСТ 24516-80ГОСТ 24516-80ГОСТ 24516-80ГОСТ 24516-80ГОСТ 24516-80ГОСТ 24516-80ГОСТ 24516-80ГОСТ 24516-80ГОСТ 24516-80ГОСТ 24516-80ГОСТ 24516-80ГОСТ 24516-80ГОСТ 24516-80ГОСТ 24516-80ГОСТ 24516-80ГОСТ 24516-80ГОСТ 24516-80ГОСТ 24516-80ГОСТ 24516-80ГОСТ 24516-80ГОСТ 24516-80ГОСТ 24516-80ГОСТ 24516-80ГОСТ 24516-80ГОСТ 24516-80ГОСТ 24516-80ГОСТ 24516-80ГОСТ 24516-80ГОСТ 24516-80ГОСТ 24516-80ГОСТ 24516-80ГОСТ 24516-80ГОСТ 24516-80ГОСТ 24516-80ГОСТ 24516-80ГОСТ 24516-80