Скачать ГОСТ 24870-81 Костюмы специальные летние для военнослужащих. Технические условияДата актуализации: 01.01.2021
|
| Обозначение: | ГОСТ 24870-81 |
| Обозначение англ: | GOST 24870-81 |
| Статус: | действует |
| Название рус.: | Костюмы специальные летние для военнослужащих. Технические условия |
| Название англ.: | Industrial summer overalls for service men. Specifications |
| Дата добавления в базу: | 01.09.2013 |
| Дата актуализации: | 01.01.2021 |
| Дата введения: | 01.01.1983 |
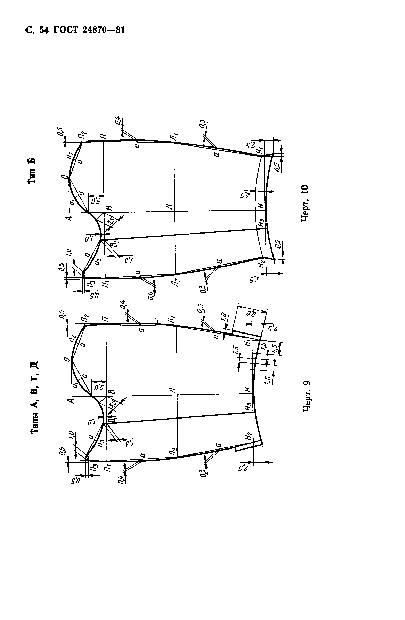
| Оглавление: | 1 Типы и основные размеры 2 Технические требования 3 Приемка 4 Методы контроля 5 Транспортирование и хранение Приложение 1 Особенности обработки костюмов Приложение 2 Пособие для построения чертежей лекал костюмов Приложение 3 Спецификация деталей костюма Приложение 4 Коды ОКП на костюмы |
| Утверждён: | 30.06.1981 Госстандарт СССР (USSR Gosstandart 3268) |
| Заменяет собой: |
|









































































