Скачать ГОСТ 24900-81 Хвостовики державок цилиндрические для токарных станков с программным управлением. Основные размеры

Дата актуализации: 01.01.2021

ГОСТ 24900-81

Хвостовики державок цилиндрические для токарных станков с программным управлением. Основные размеры

Обозначение: ГОСТ 24900-81
Обозначение англ: GOST 24900-81
Статус:действует
Название рус.:Хвостовики державок цилиндрические для токарных станков с программным управлением. Основные размеры
Название англ.:Straight shanks of holders for NC-lathes. Basic dimensions
Дата добавления в базу:01.09.2013
Дата актуализации:01.01.2021
Дата введения:01.01.1982
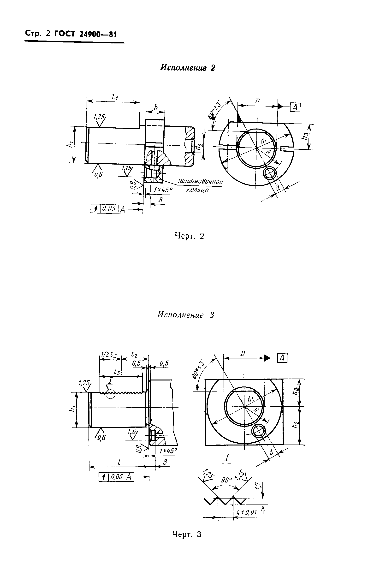
Область применения:Стандарт распространяется на цилиндрические хвостовики для резцедержателей, борштанг, оправок с перовым сверлом и оправок для концевого инструмента, применяемых на токарных станках с программным управлением.
Оглавление:Приложение (рекомендуемое) Основные размеры отверстий для крепления цилиндрических хвостовиков державок
Разработан: Министерство станкостроительной и инструментальной промышленности
Утверждён:10.08.1981 Государственный комитет СССР по стандартам (USSR National Committee on Standards 3761)
Издан: Издательство стандартов (1981 г. )
ГОСТ 24900-81ГОСТ 24900-81ГОСТ 24900-81ГОСТ 24900-81ГОСТ 24900-81ГОСТ 24900-81ГОСТ 24900-81ГОСТ 24900-81