Скачать ГОСТ 24912-81 Костюмы специальные зимние для военнослужащих. Технические условияДата актуализации: 01.01.2021
|
| Обозначение: | ГОСТ 24912-81 |
| Обозначение англ: | GOST 24912-81 |
| Статус: | действует |
| Название рус.: | Костюмы специальные зимние для военнослужащих. Технические условия |
| Название англ.: | Special army winter clothes. Specification |
| Дата добавления в базу: | 01.09.2013 |
| Дата актуализации: | 01.01.2021 |
| Дата введения: | 01.01.1983 |
| Область применения: | Стандарт распространяется на зимние костюмы, состоящие из куртки и брюк, предназначенные в качестве спецодежды для личного состава Военно-Морского Флота и Комитета государственной безопасности СССР. |
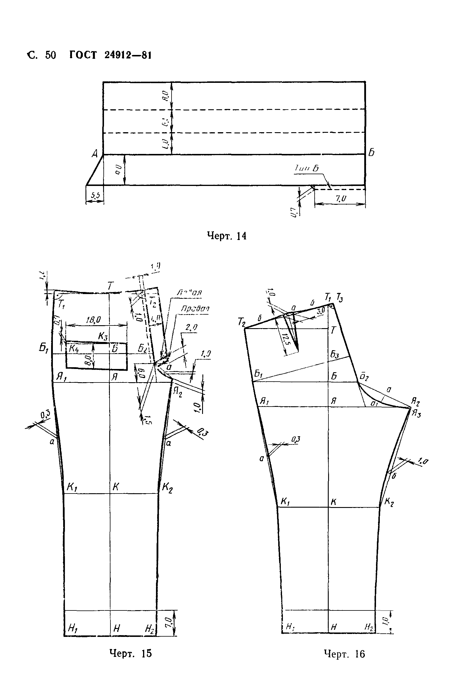
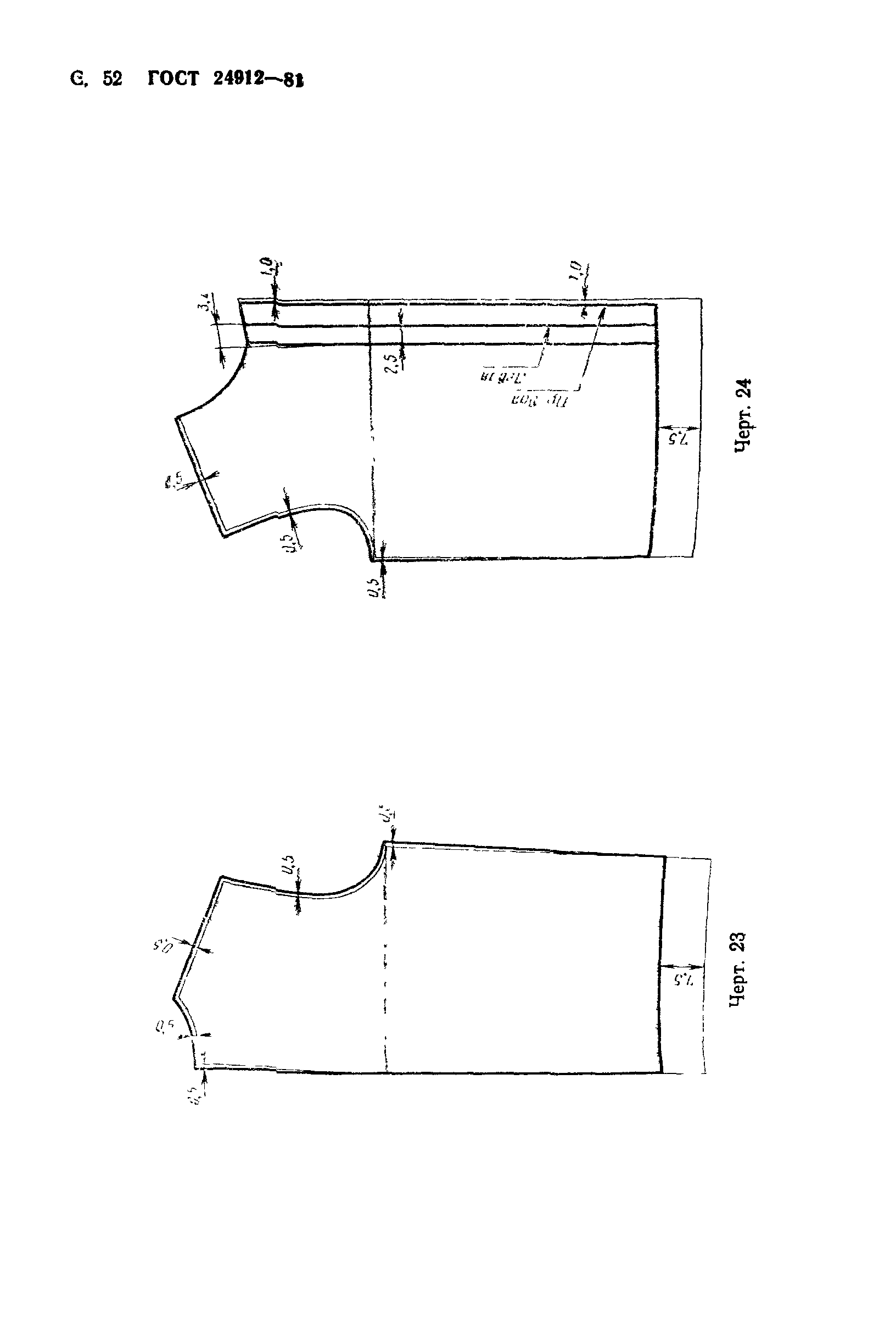
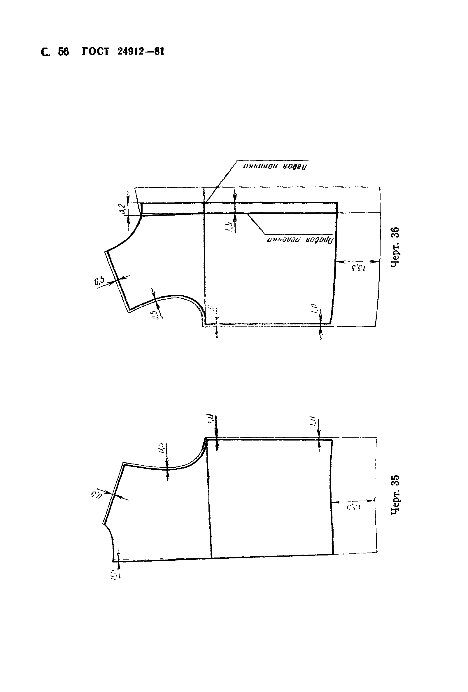
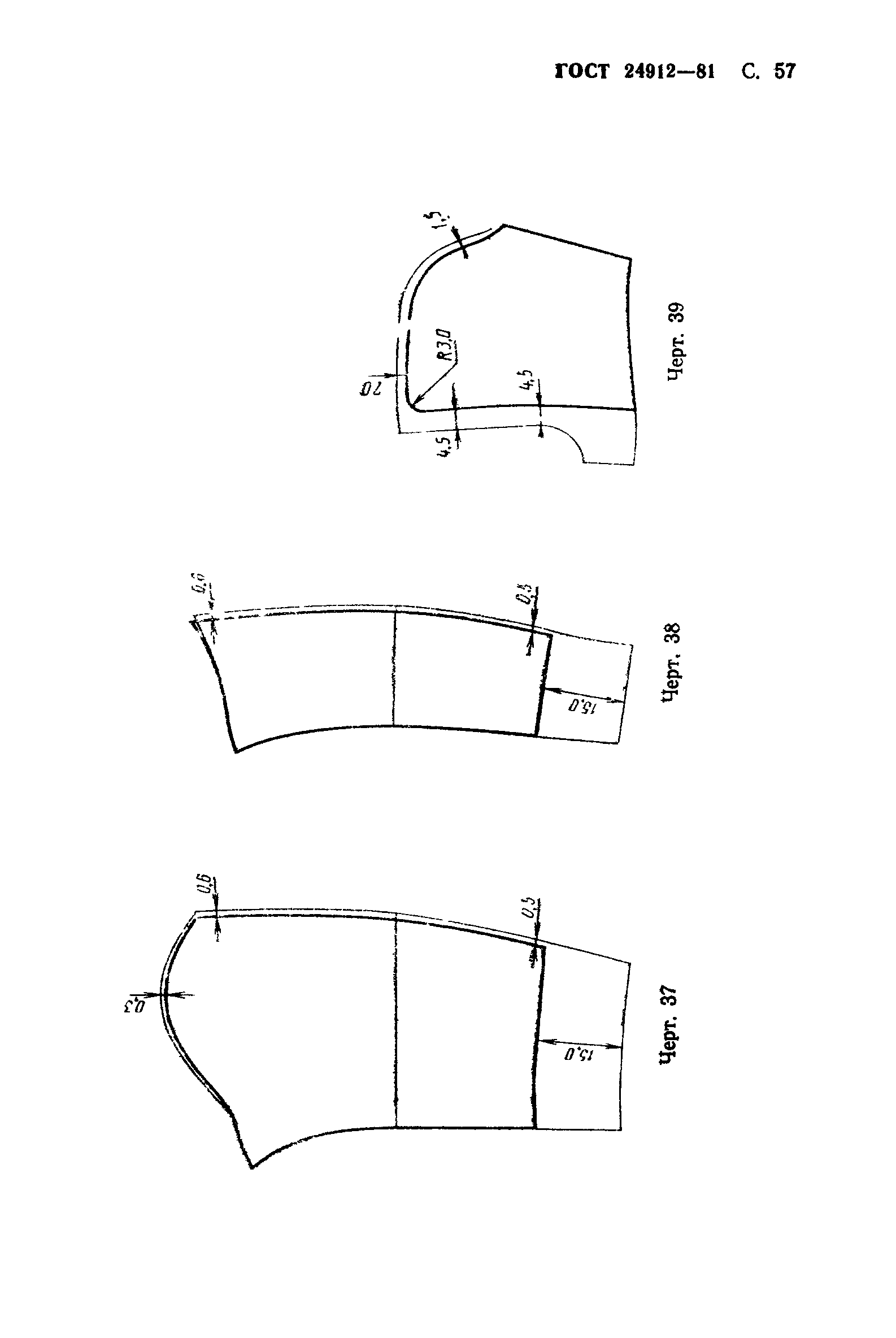
| Оглавление: | 1 Типы и основные размеры 2 Технические требования 3 Приемка 3а Методы контроля 4 Транспортирование и хранение Приложение 1 (рекомендуемое) Особенности обработки костюмов Приложение 2 (рекомендуемое) Пособие для построения чертежей лекал костюмов Приложение 3 (справочное) Спецификация деталей костюмов Приложение 4 (справочное) Коды ОКП на костюмы |
| Разработан: | Министерство легкой промышленности СССР |
| Утверждён: | 14.08.1981 Государственный комитет СССР по стандартам (USSR National Committee on Standards 3871) |
| Издан: | Издательство стандартов (1981 г. ) Издательство стандартов (1990 г. ) |
| Список изменений: |
|
| Нормативные ссылки: |
|

































































Текстовое изменение № 2 от 01.04.1990
