Скачать ГОСТ 24913-81 Костюм специальный утепленный для военнослужащих. Технические условияДата актуализации: 01.01.2021
|
| Обозначение: | ГОСТ 24913-81 |
| Обозначение англ: | GOST 24913-81 |
| Статус: | действует |
| Название рус.: | Костюм специальный утепленный для военнослужащих. Технические условия |
| Название англ.: | Special army clothes with bat wool. Specifications |
| Дата добавления в базу: | 01.09.2013 |
| Дата актуализации: | 01.01.2021 |
| Дата введения: | 01.01.1983 |
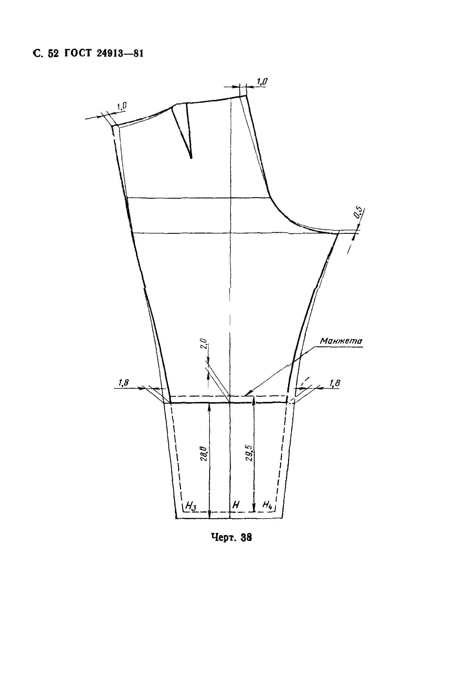
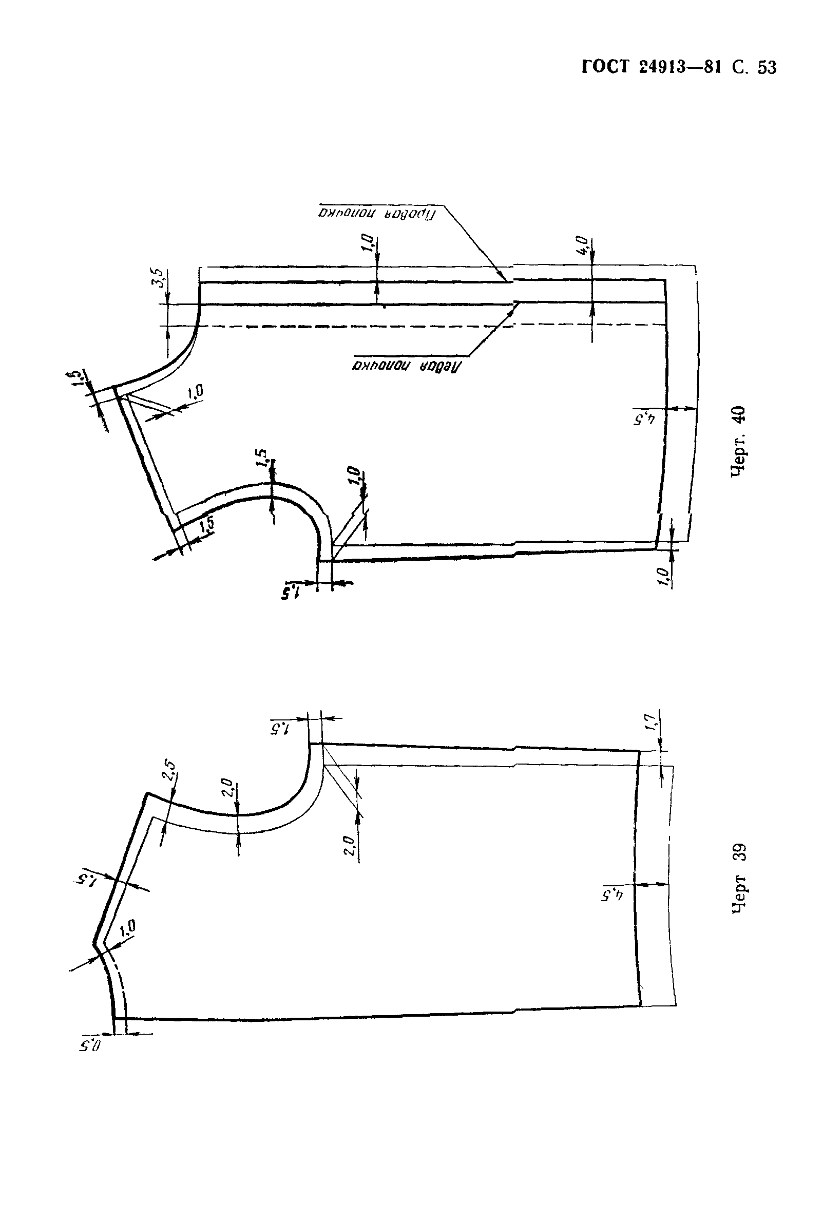
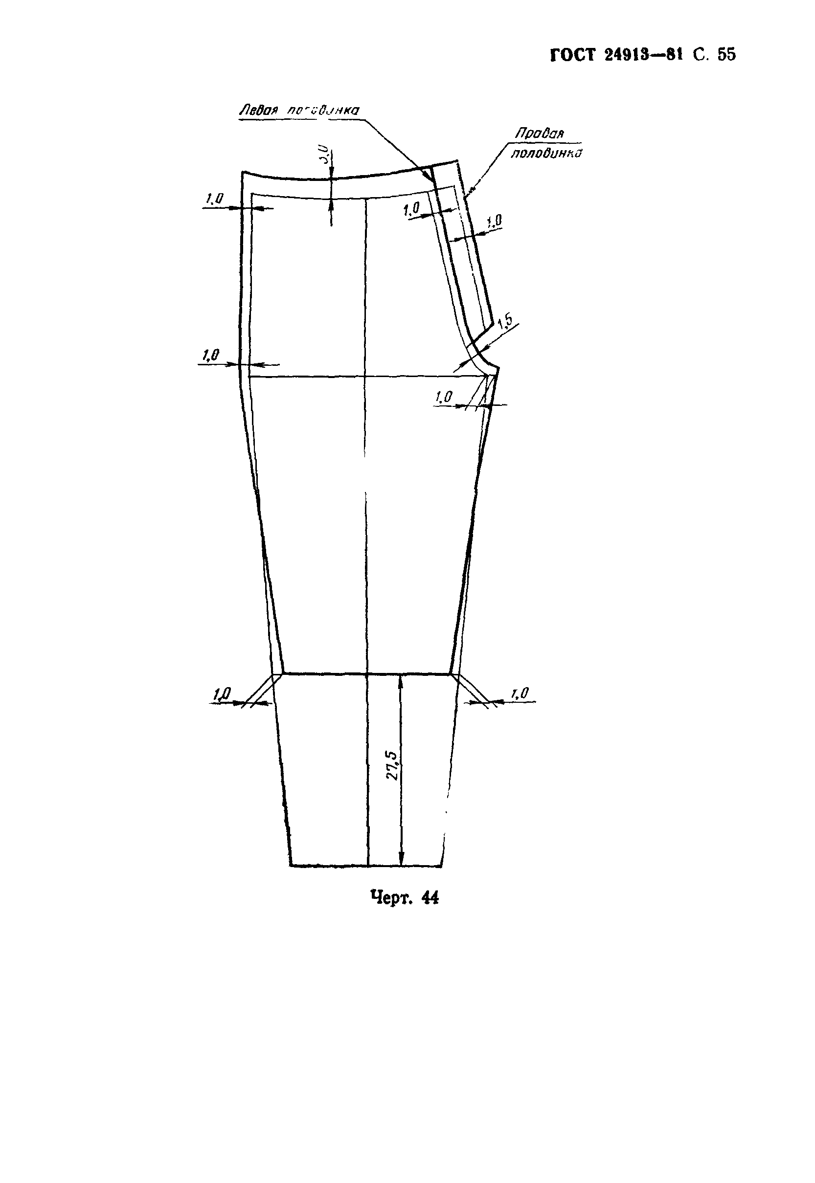
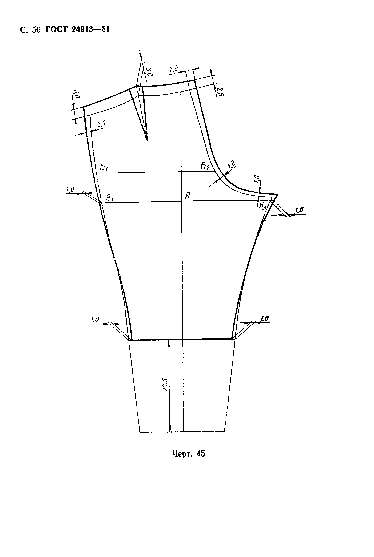
| Оглавление: | 1 Основные размеры 2 Технические требования 3 Приемка 4 Методы контроля 5 Транспортирование и хранение Приложение 1 Особенности обработки костюмов Приложение 2 Пособие для построения чертежей лекал костюмов Приложение 3 Спецификация деталей костюмов Приложение 4 Коды ОКП на костюмы |
| Утверждён: | 14.08.1981 Госстандарт СССР (USSR Gosstandart 3872) |

































































