Скачать ГОСТ 24932-81 Калибры для конических соединений. ДопускиДата актуализации: 01.01.2021
|
| Обозначение: | ГОСТ 24932-81 |
| Обозначение англ: | GOST 24932-81 |
| Статус: | введен впервые |
| Название рус.: | Калибры для конических соединений. Допуски |
| Название англ.: | Ganges for tapered joints. Tolerances |
| Дата добавления в базу: | 01.09.2013 |
| Дата актуализации: | 01.01.2021 |
| Дата введения: | 01.01.1982 |
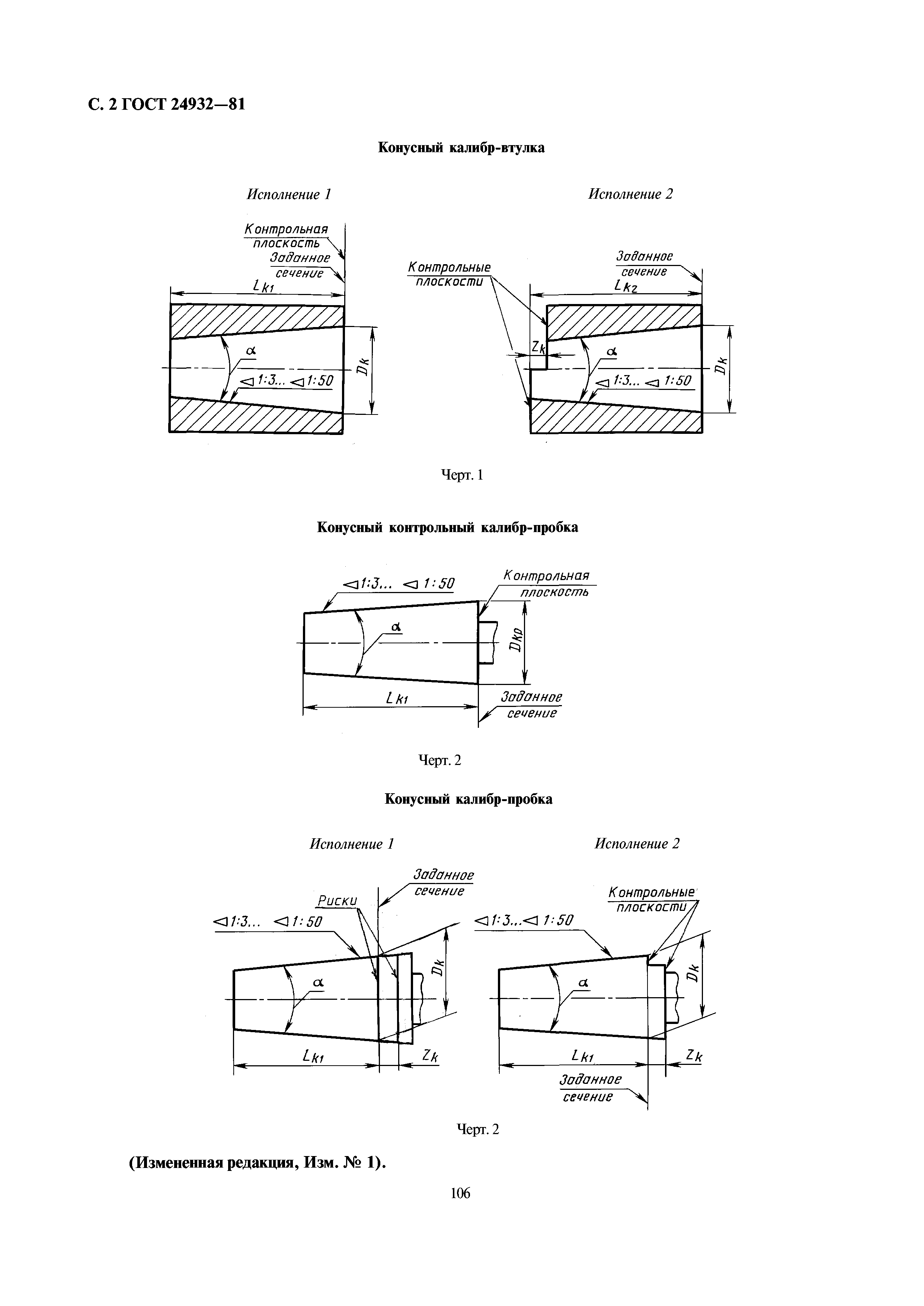
| Область применения: | Стандарт распространяется на калибры для гладких конусов с раздельным нормированием каждого вида допусков, с диаметрами в заданном сечении до 200 мм, конусностью от 163 до 1650. С допусками диаметром от 6 до 12 квалитета, допусками углов конусов от 4 до 9 степени точности и устанавливает: виды и исполнения, формулы для определения размеров, допуски и комплектность калибров. |
| Оглавление: | 1 Виды калибров 2 Обозначения 3 Расположение полей допусков 4 Формулы для определения размеров калибров 5 Допуски 6 Комплектность калибров Приложение 1 Принятые в стандарте соотношения между допусками изделий и калибров Приложение 2 Припасовка калибров |
| Разработан: | Министерством станкостроительной и инструментальной промышленности СССР |
| Утверждён: | 26.08.1981 Госстандарт СССР (USSR Gosstandart 4062) |
| Издан: | Издательство стандартов (1981 г. ) ИПК Издательство стандартов (2003 г. ) |
| Нормативные ссылки: |










