Скачать ГОСТ 25006-81 Оборудование обогатительное. Термины и определенияДата актуализации: 01.01.2021
|
| Обозначение: | ГОСТ 25006-81 |
| Обозначение англ: | GOST 25006-81 |
| Статус: | действует |
| Название рус.: | Оборудование обогатительное. Термины и определения |
| Название англ.: | Mineral processing equipment. Terms and definitions |
| Дата добавления в базу: | 01.09.2013 |
| Дата актуализации: | 01.01.2021 |
| Дата введения: | 01.07.1982 |
| Область применения: | Стандарт устанавливает применяемые в науке, технике и производстве термины и определения понятий в области оборудования, предназначенного для обогащения твердых полезных ископаемых: руд черных и цветных металлов, твердых видов топлива и горно-химического сырья. |
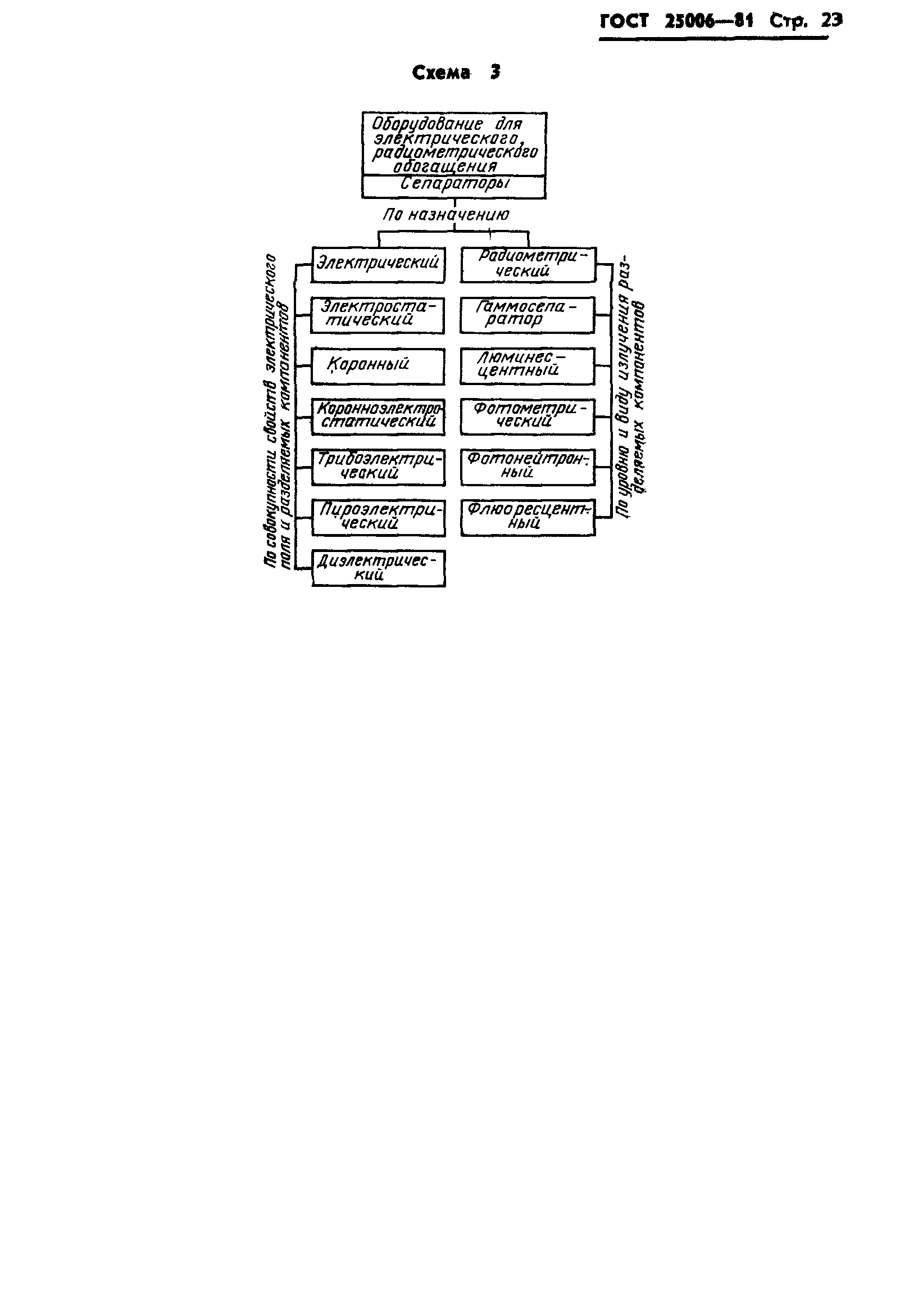
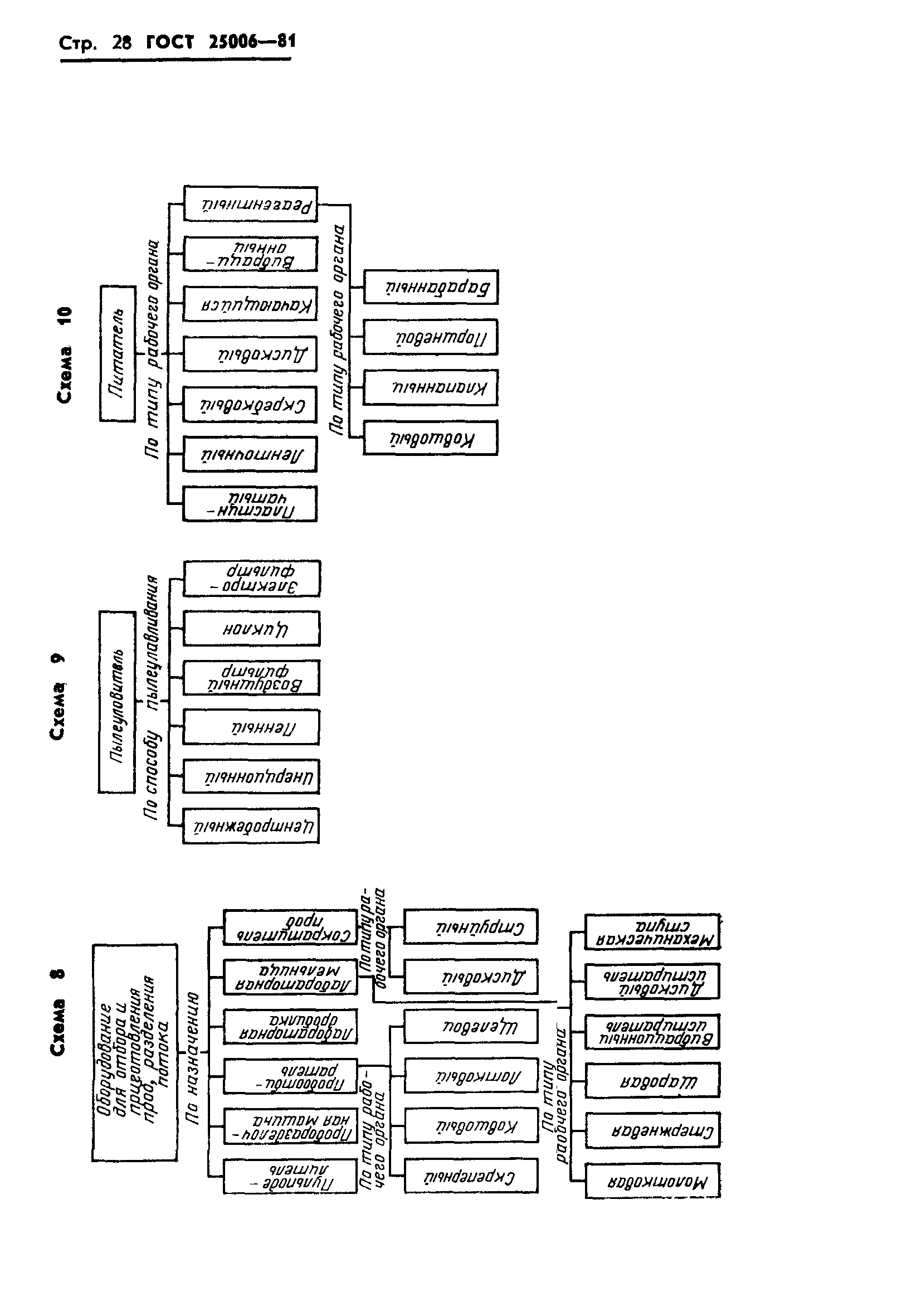
| Оглавление: | Общие понятия Оборудование для магнитного обогащения Оборудование для электрического и радиометрического обогащения Оборудование для флотационного обогащения Оборудование для гравитационного обогащения Оборудование для классификации по крупности Оборудование для обезвоживания и осветления Оборудование для отбора и приготовления проб, разделения потока Пылеуловители и питатели Алфавитный указатель терминов Приложение 1 (справочное) Термины и определения общих понятий, связанных с обогатительным оборудованием Приложение 2 (справочное) Схемы классификации обогатительного оборудования |
| Утверждён: | 24.11.1981 Госстандарт СССР (USSR Gosstandart 5096) |
| Издан: | Издательство стандартов (1982 г. ) |
| Список изменений: |
|
| Нормативные ссылки: |































