Скачать ГОСТ 25047-87 Устройства комплектные эксфузионные, инфузионные и трансфузионные однократного применения. Технические условияДата актуализации: 01.01.2021 ГОСТ 25047-87
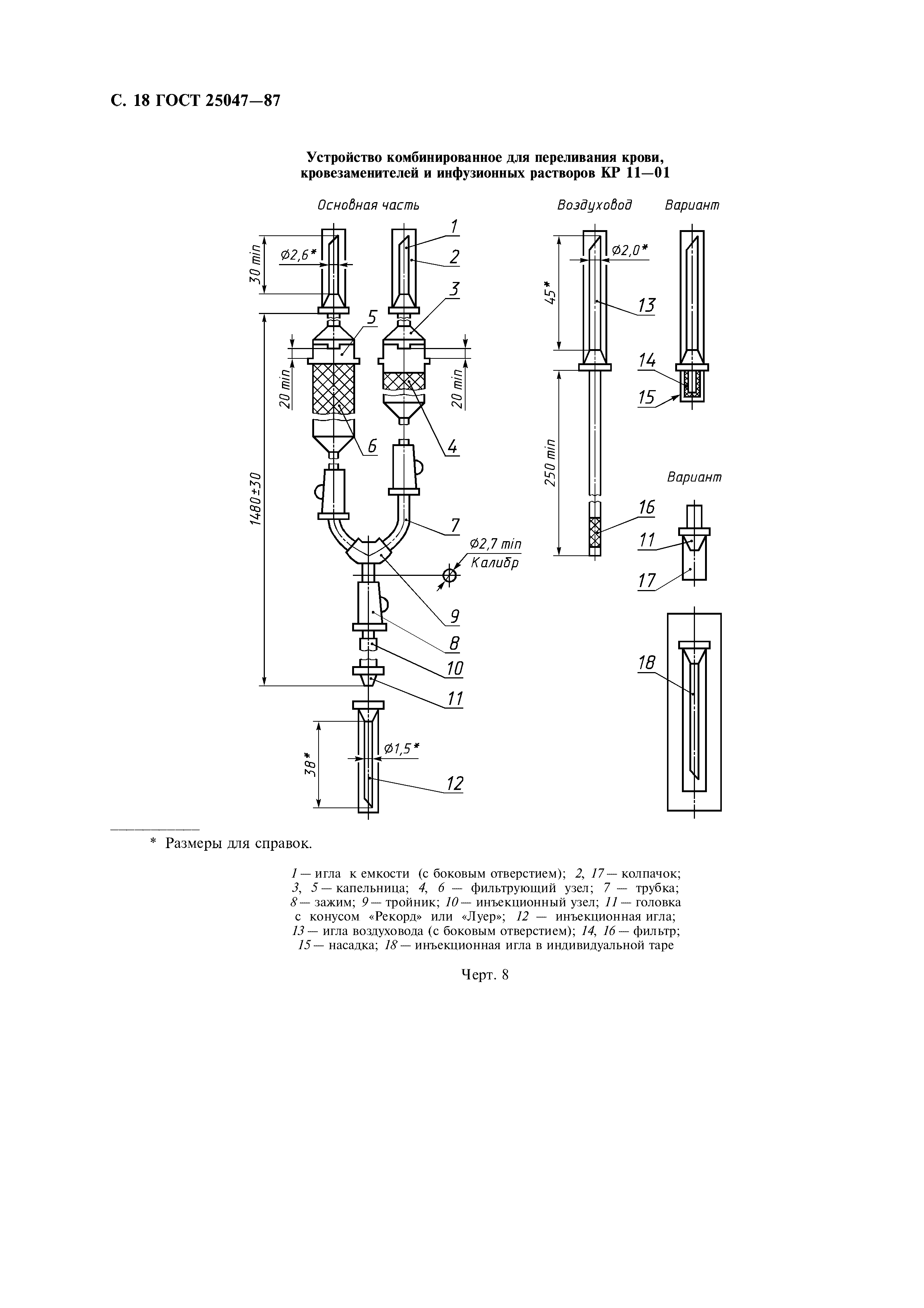
Устройства комплектные эксфузионные, инфузионные и трансфузионные однократного применения. Технические условия| Обозначение: | ГОСТ 25047-87 | | Обозначение англ: | GOST 25047-87 | | Статус: | взамен | | Название рус.: | Устройства комплектные эксфузионные, инфузионные и трансфузионные однократного применения. Технические условия | | Название англ.: | Disposable exfusion, infusion and transfusion sets. Specifications | | Дата добавления в базу: | 01.09.2013 | | Дата актуализации: | 01.01.2021 | | Дата введения: | 01.01.1989 | | Область применения: | Стандарт распространяется на комплектные эксфузионные, инфузионные и трансфузионные устройства однократного применения (далее — устройства), предназначенные для взятия крови у донора, для вливания реципиенту растворов и переливания крови и ее компонентов, а также кровезаменителей и других трансфузионных сред из стеклянных и полимерных емкостей.
Стандарт устанавливает требования к устройствам, изготовляемым для потребностей национальной экономики и экспорта в страны с умеренным и тропическим климатом. | | Оглавление: | 1. Технические требования 2. Приемка 3. Методы испытаний 4. Транспортирование и хранение 5. Гарантии изготовителя Приложение 1 (обязательное) Виды устройств Приложение 2 (обязательное) Перечень кодов ОКП | | Разработан: | Министерство медицинской и микробиологической промышленности СССР
| | Утверждён: | 20.03.1987 Государственный комитет СССР по стандартам (USSR National Committee on Standards 805)
| | Издан: | Издательство стандартов (1987 г. ) ИПК Издательство стандартов (2003 г. )
| | Заменяет собой: | ГОСТ 25047-81 «Устройства комплектные, эксфузионные, инфузионные и трансфузионные однократного применения. Основные размеры, общие технические требования и методы испытаний» | | Нормативные ссылки: |   ГОСТ 3560-73 «Лента стальная упаковочная. Технические условия»  ГОСТ 15150-69 «Машины, приборы и другие технические изделия. Исполнения для различных климатических районов. Категории, условия эксплуатации, хранения и транспортирования в части воздействия климатических факторов внешней среды»  ГОСТ 28840-90 «Машины для испытания материалов на растяжение, сжатие и изгиб. Общие технические требования»  ГОСТ 14192-96 «Маркировка грузов»  ГОСТ 18242-72 «Статистический приемочный контроль по альтернативному признаку. Планы контроля»  ГОСТ 18321-73 «Статистический контроль качества. Методы случайного отбора выборок штучной продукции»  ГОСТ 24634-81 «Ящики деревянные для продукции, поставляемой для экспорта. Общие технические условия» ГОСТ 10459-87 «Бумага-основа для клеевой ленты. Технические условия» ГОСТ 13511-91 «Ящики из гофрированного картона для пищевых продуктов, спичек, табака и моющих средств. Технические условия» ГОСТ 13513-86 «Ящики из гофрированного картона для продукции мясной и молочной промышленности. Технические условия»  ГОСТ 16337-77 «Полиэтилен высокого давления. Технические условия» ГОСТ 18251-87 «Лента клеевая на бумажной основе. Технические условия» ГОСТ 20435-75 «Контейнер универсальный металлический закрытый номинальной массой брутто 3,0 т. Технические условия» ГОСТ 22852-77 «Ящики из гофрированного картона для продукции приборостроительной промышленности. Технические условия» ГОСТ 2364-74 «Уголки для деревянных ящиков. Технические условия»  ГОСТ 15846-2002 «Продукция, отправляемая в районы Крайнего Севера и приравненные к ним местности. Упаковка, маркировка, транспортирование и хранение» ГОСТ 20790-93 «Приборы, аппараты и оборудование медицинские. Общие технические условия» ГОСТ 9481-2001 «Ящики из гофрированного картона для химических нитей. Технические условия»
|
                        
|