Скачать ГОСТ 25712-88 Бандажи чистые для вагонов трамвая. Технические условияДата актуализации: 01.01.2021
|
| Обозначение: | ГОСТ 25712-88 |
| Обозначение англ: | GOST 25712-88 |
| Статус: | взамен |
| Название рус.: | Бандажи чистые для вагонов трамвая. Технические условия |
| Название англ.: | Machined steel tyres for tramway cars. Specifications |
| Дата добавления в базу: | 01.09.2013 |
| Дата актуализации: | 01.01.2021 |
| Дата введения: | 01.07.1989 |
| Область применения: | Стандарт распространяется на бандажи, обрабатываемые при формировании колесных пар для всех типов пассажирского подвижного состава трамвая широкой и узкой колеи. |
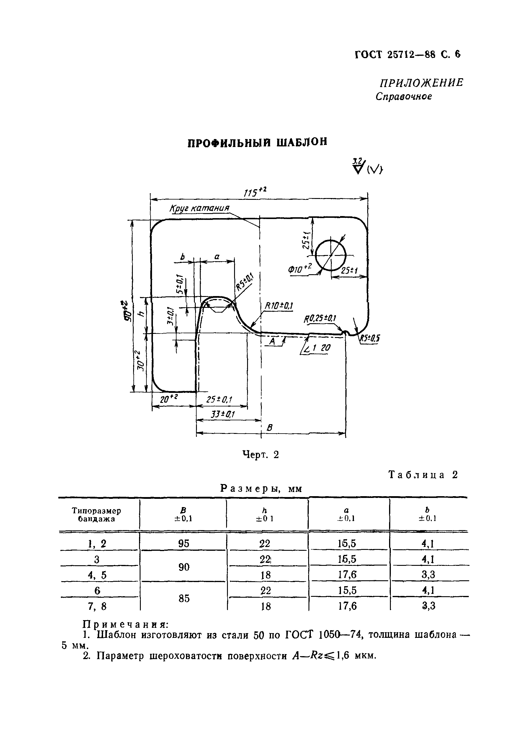
| Оглавление: | 1 Типы и размеры 2 Технические требования 3 Правила приемки 4 Методы проверки 5 Указания по эксплуатации 6 Гарантии изготовителя Приложение (справочное) Профильный шаблон |
| Разработан: | Министерство жилищно-коммунального хозяйства РСФСР |
| Утверждён: | 28.11.1988 Государственный комитет СССР по стандартам (USSR National Committee on Standards 3846) |
| Издан: | Издательство стандартов (1989 г. ) |
| Заменяет собой: |
|
| Нормативные ссылки: |







