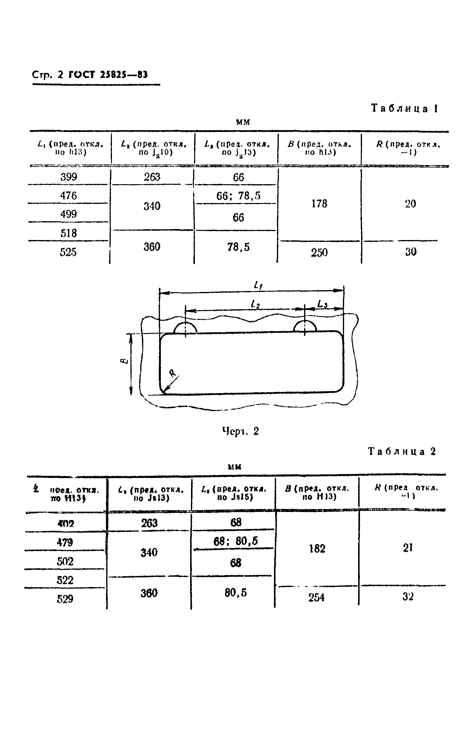
Скачать ГОСТ 25825-83 Платформы и столы промышленных швейных машин. Присоединительные размерыДата актуализации: 01.01.2021 ГОСТ 25825-83
Платформы и столы промышленных швейных машин. Присоединительные размеры| Обозначение: | ГОСТ 25825-83 | | Обозначение англ: | GOST 25825-83 | | Статус: | действует | | Название рус.: | Платформы и столы промышленных швейных машин. Присоединительные размеры | | Название англ.: | Platforms and tables for industrial sewing machines. Mounting dimensions | | Дата добавления в базу: | 01.09.2013 | | Дата актуализации: | 01.01.2021 | | Дата введения: | 01.01.1984 | | Утверждён: | 15.06.1983 Госстандарт СССР (USSR Gosstandart 2545)
|
  
|