Скачать ГОСТ 25922-83 Материалы электроизоляционные. Методы определения жесткостиДата актуализации: 01.01.2021
|
| Обозначение: | ГОСТ 25922-83 |
| Обозначение англ: | GOST 25922-83 |
| Статус: | действует |
| Название рус.: | Материалы электроизоляционные. Методы определения жесткости |
| Название англ.: | Electrical insulating materials. Determination of stiffness. Methods of test |
| Дата добавления в базу: | 01.09.2013 |
| Дата актуализации: | 01.01.2021 |
| Дата введения: | 01.01.1985 |
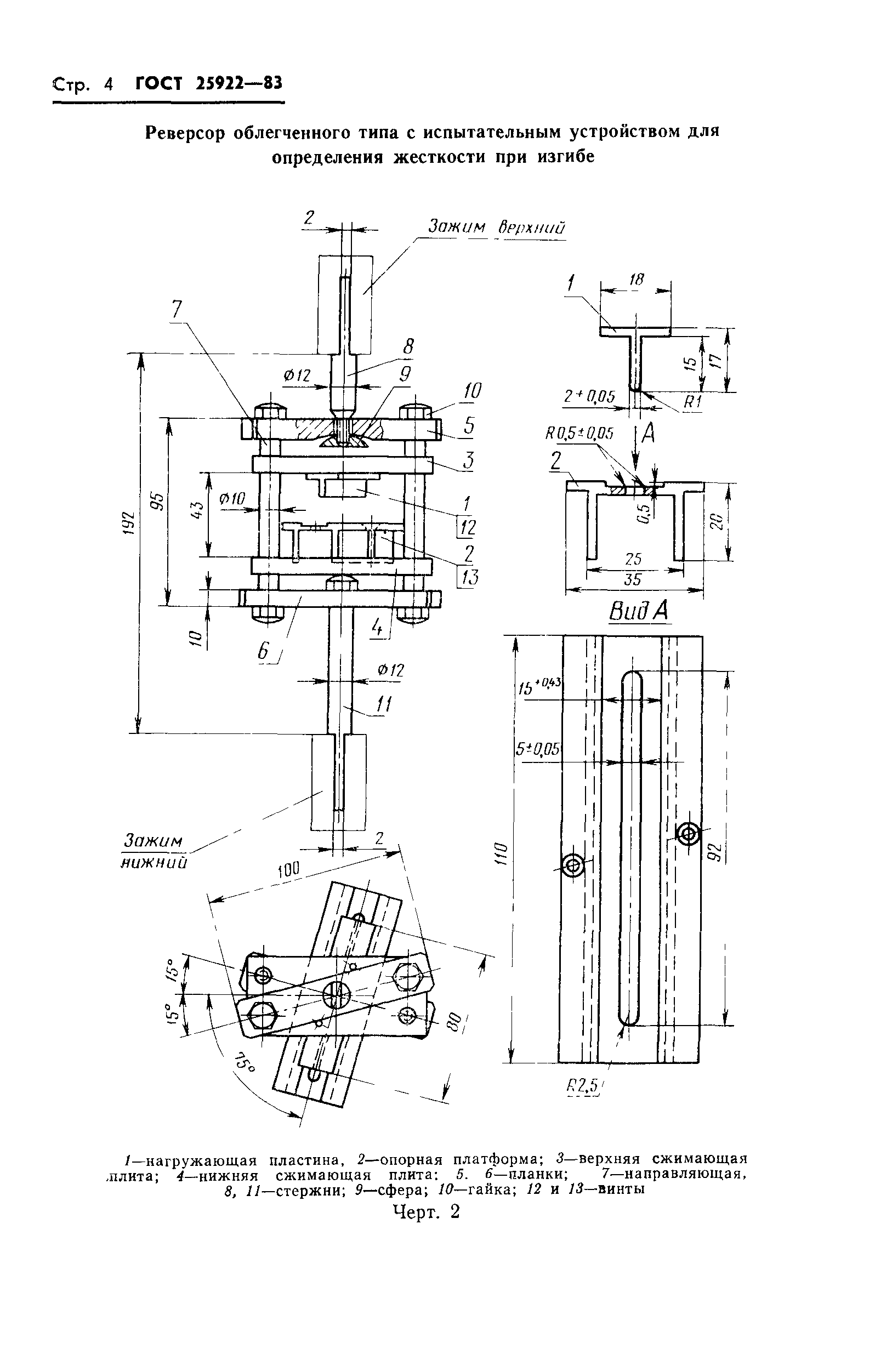
| Область применения: | Стандарт устанавливает методы определения жесткости при сжатии кольца и при изгибе электроизоляционных материалов толщиной до 0,5 мм: многослойные слюдосодержащие и пленкосодержащие, синтетические и неорганические бумаги (в том числе слюдяные) и пленки |
| Оглавление: | 1 Отбор проб и подготовка образцов 2 Аппаратура 3 Проведение испытаний 4 Обработка результатов |
| Разработан: | Министерство электротехнической промышленности |
| Утверждён: | 26.09.1983 Госстандарт СССР (USSR Gosstandart 4536) |
| Издан: | Издательство стандартов (1984 г. ) |
| Нормативные ссылки: |
|









