Скачать ГОСТ 26135-84 Окатыши железорудные. Метод определения набухания при восстановленииДата актуализации: 01.01.2021
|
| Обозначение: | ГОСТ 26135-84 |
| Обозначение англ: | GOST 26135-84 |
| Статус: | действует |
| Название рус.: | Окатыши железорудные. Метод определения набухания при восстановлении |
| Название англ.: | Iron ore pellets. Method for determination of reduction swelling |
| Дата добавления в базу: | 01.09.2013 |
| Дата актуализации: | 01.01.2021 |
| Дата введения: | 01.01.1985 |
| Область применения: | Стандарт распространяется на железорудные окатыши и устанавливает метод определения набухания при восстановлении. |
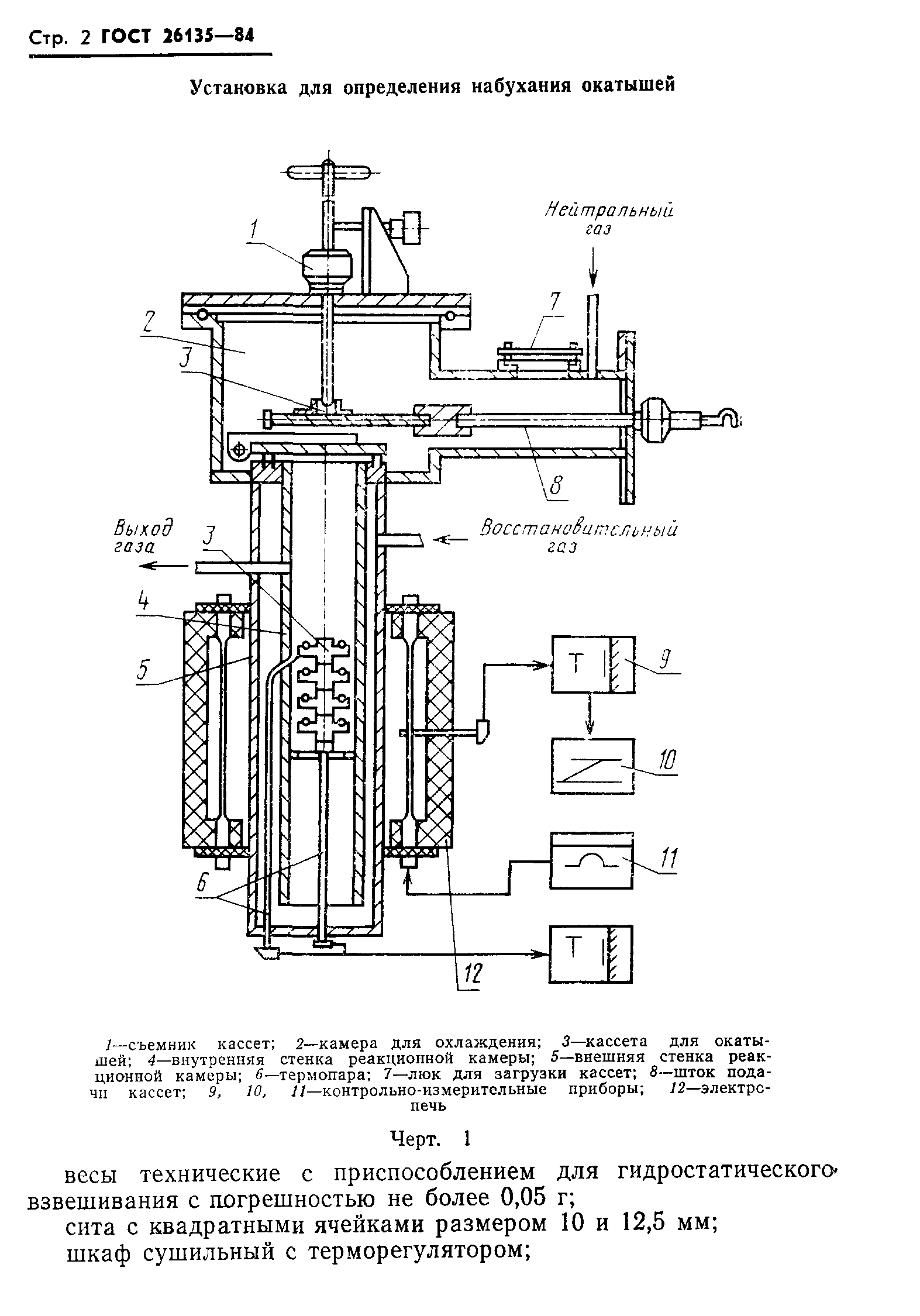
| Оглавление: | 1 Метод отбора проб 2 Аппаратура 3 Подготовка к испытанию 4 Проведение испытания 5 Обработка результатов |
| Разработан: | Министерство черной металлургии СССР |
| Утверждён: | 28.03.1984 Госстандарт СССР (USSR Gosstandart 1121) |
| Издан: | Издательство стандартов (1984 г. ) |
| Нормативные ссылки: |







