Скачать ГОСТ 26218-94 Редукторы и мотор-редукторы волновые зубчатые. Параметры и размерыДата актуализации: 01.01.2021
|
| Обозначение: | ГОСТ 26218-94 |
| Обозначение англ: | GOST 26218-94 |
| Статус: | действует |
| Название рус.: | Редукторы и мотор-редукторы волновые зубчатые. Параметры и размеры |
| Название англ.: | Harmonic drive reducers and reduction gearmotors. Parameters anddimensions |
| Дата добавления в базу: | 01.09.2013 |
| Дата актуализации: | 01.01.2021 |
| Дата введения: | 01.07.1996 |
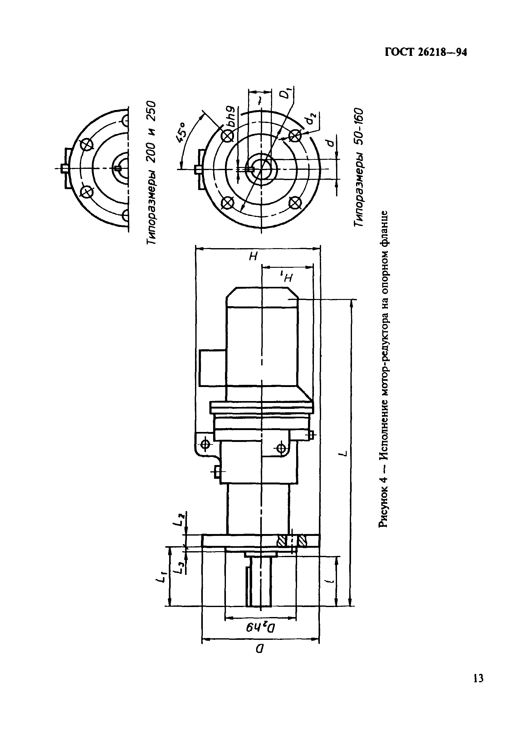
| Область применения: | Стандарт распространяется на волновые зубчатые одноступенчатые редукторы с крутящими моментами от 25до 4400 Н м, передаточными отношениями от 50 до 275 и мотор-редукторы с двигателями мощностью от 0,09 до 7,5 кВт и частотами вращения выходного вала от 6,3 до 56 об/мин общемашиностроительного применения, предназначенные для эксплуатации в условиях по ГОСТ 16162 для редукторов и ГОСТ 25484 для мотор-редукторов. Стандарт не распространяется на редукторы и мотор-редукторы специального назначения. |
| Оглавление: | 1 Область применения 2 Нормативные ссылки 3 Основные параметры и размеры |
| Разработан: | НИИредуктор Минмашпрома Украины |
| Утверждён: | 22.12.1995 Госстандарт России (Russian Federation Gosstandart 627) 21.10.1994 Межгосударственный Совет по стандартизации, метрологии и сертификации (Inter-Governmental Council on Standardization, Metrology, and Certification 6-94) |
| Издан: | ИПК Издательство стандартов (1996 г. ) |
| Заменяет собой: |
|


















