Скачать ГОСТ 26239.4-84 Дихлорсилан. Методы определения примесейДата актуализации: 01.01.2021
|
| Обозначение: | ГОСТ 26239.4-84 |
| Обозначение англ: | GOST 26239.4-84 |
| Статус: | действует |
| Название рус.: | Дихлорсилан. Методы определения примесей |
| Название англ.: | Dichlorsilane. Methods of inpurities determination |
| Дата добавления в базу: | 01.09.2013 |
| Дата актуализации: | 01.01.2021 |
| Дата введения: | 01.01.1986 |
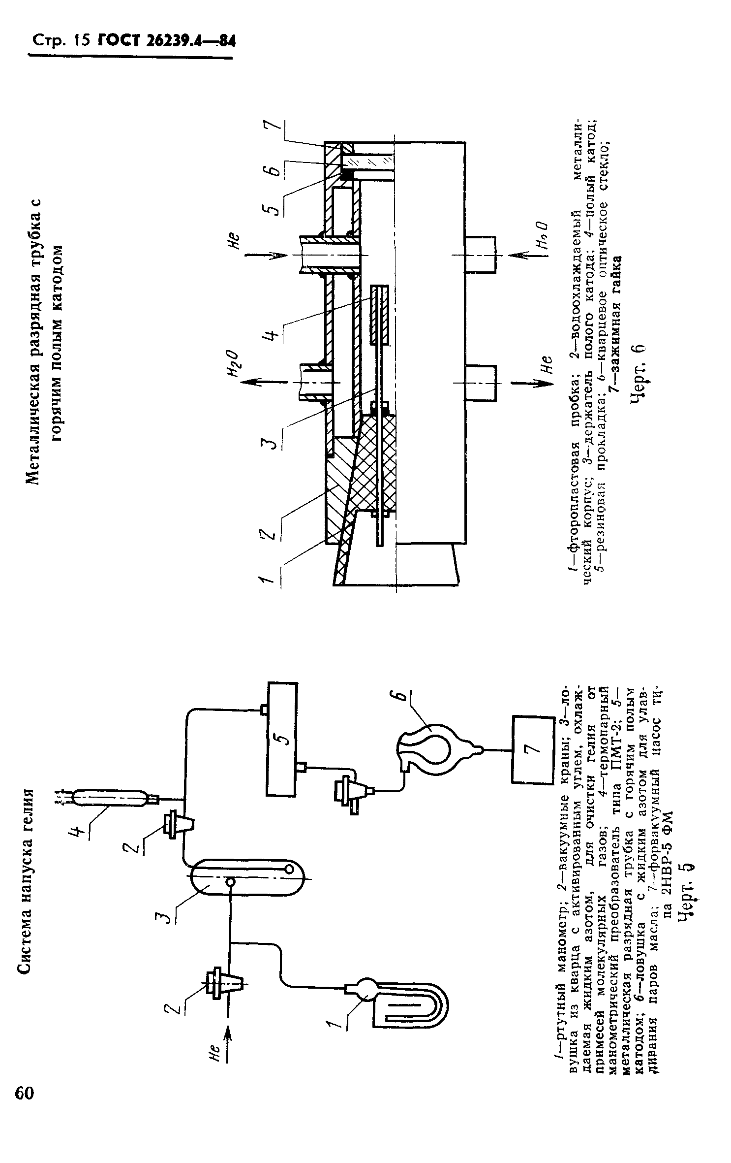
| Оглавление: | 1 Общие требования 2 Химико-спектральный метод с возбуждением спектров дугой постоянного тока 3 Химико-спектральный метод с возбуждением спектров разрядом с горячим полым катодом |
| Утверждён: | 13.07.1984 Госстандарт СССР (USSR Gosstandart 2490) |



















