Скачать ГОСТ 26306-84 Источники бета-излучения радионуклидные закрытые. Методы измерения параметровДата актуализации: 01.01.2021
|
| Обозначение: | ГОСТ 26306-84 |
| Обозначение англ: | GOST 26306-84 |
| Статус: | введен впервые |
| Название рус.: | Источники бета-излучения радионуклидные закрытые. Методы измерения параметров |
| Название англ.: | Sealed radionuclidic beta-radiation sources. Methods of parameters measurement |
| Дата добавления в базу: | 01.09.2013 |
| Дата актуализации: | 01.01.2021 |
| Дата введения: | 01.01.1986 |
| Область применения: | Стандарт распространяется на закрытые радионуклидные источники бета-излучения и устанавливает методы измерения основных радиационных параметров источнико в следующих диапазонах радиационных параметров и максимальной энергии бета-излучения: внешнего излучения от 10 до 1 - 1•104 с-1 при максимальной энергии бета-излучения от 48 до 640 фДж (от 0,3 до 4,0 МэВ) - абсолютный метод; внешнего излучения от 2 до 8•107 с-1 при максимальной энергии бета-излучения от 48 до 640 фДж (от 0,3 до 4,0 МэВ) - относительный метод; внешнего излучения от 1•106 до 3•1012 с-1 при максимальной энергии бета-излучения от 32 до 570 фДж (от 0,2 до 3,5 МэВ) - абсолютный метод; активности бета-излучающих радионуклидов 5 - 2•108 Бк при максимальной энергии бета-излучения 48 - 640 фДж (0,3 - 4,0 МэВ) - относительный метод; мощности поглощенной дозы (МПД) 1•104 - 1 Гр•с-1 при максимальной энергии бета-излучения 16 - 640 фДж (0,1 - 4,0 МэВ) - абсолютный метод; мощности поглощенной дозы 1,4•10-4 - 1,4•10-1 Гр•с-1 при максимальной энергии бета-излучения 16 - 640 фДж (0,1 - 4,0 МэВ ) - относительный метод. Стандарт не распространяется на методы аттестации эталонных, образцовых и рабочих источников. |
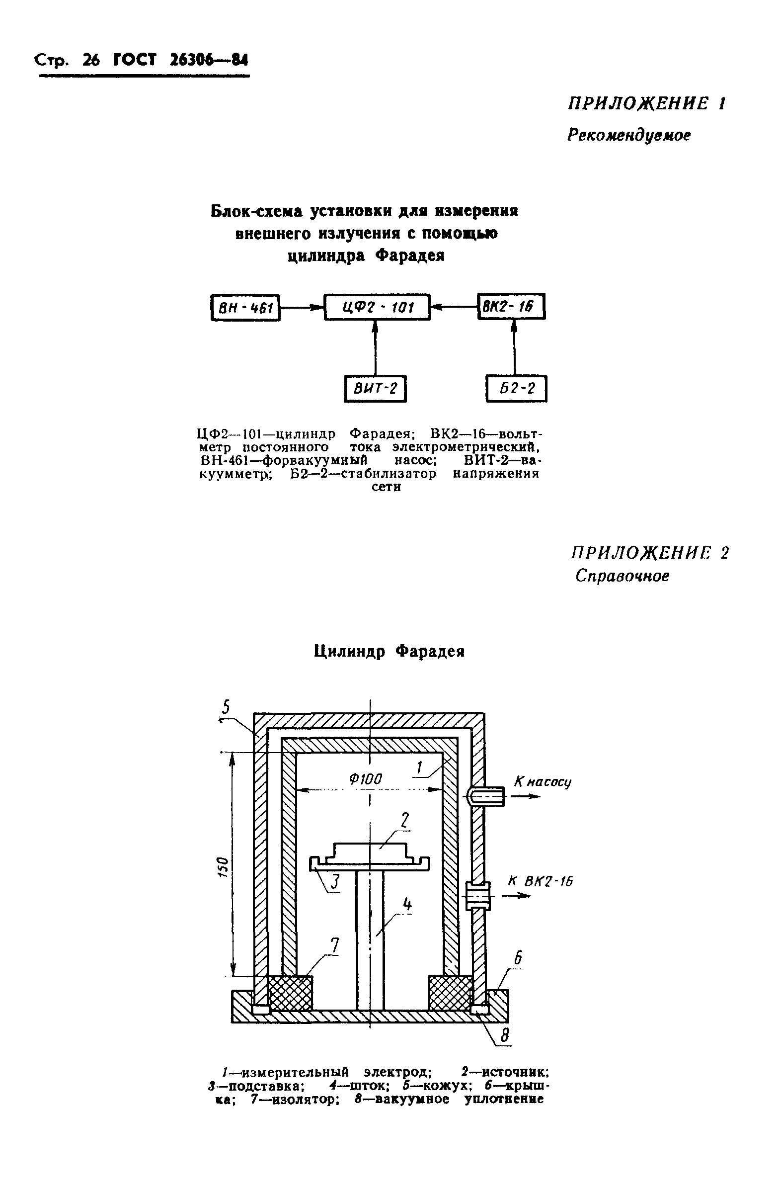
| Оглавление: | 1 Измерение внешнего бета-излучения источников методом 2"пи"-cчeтa бета-частиц 2 Измерение активности бета-излучающих радионуклидов и внешнего бета-излучения источника методом замещения 3 Измерение внешнего бета-излучения на установке с цилиндром фарадея 4 Измерение мощности поглощенной дозы бета-излучения с помощью экстраполяционной камеры 5 Сцинтилляционный метод относительных измерений мощности поглощенной дозы бета-излучения 6 Оформление результатов измерений 7 Требования безопасности Приложение 1 Блок-схема установки для измерения внешнего излучения с помощью цилиндра Фарадея Приложение 2 Цилиндр Фарадея Приложение 3 Схема установки СКД-1 |
| Утверждён: | 25.10.1984 Госстандарт СССР (USSR Gosstandart 3650) |
| Издан: | Издательство стандартов (1985 г. ) |
| Нормативные ссылки: |
|
































