Скачать ГОСТ 26466-85 Костюм специальный меховой для военнослужащих Военно-Морского Флота. Технические условияДата актуализации: 01.01.2021
|
| Обозначение: | ГОСТ 26466-85 |
| Обозначение англ: | GOST 26466-85 |
| Статус: | действует |
| Название рус.: | Костюм специальный меховой для военнослужащих Военно-Морского Флота. Технические условия |
| Название англ.: | Special fur suit for navy soldiers. Specifications |
| Дата добавления в базу: | 01.09.2013 |
| Дата актуализации: | 01.01.2021 |
| Дата введения: | 01.07.1986 |
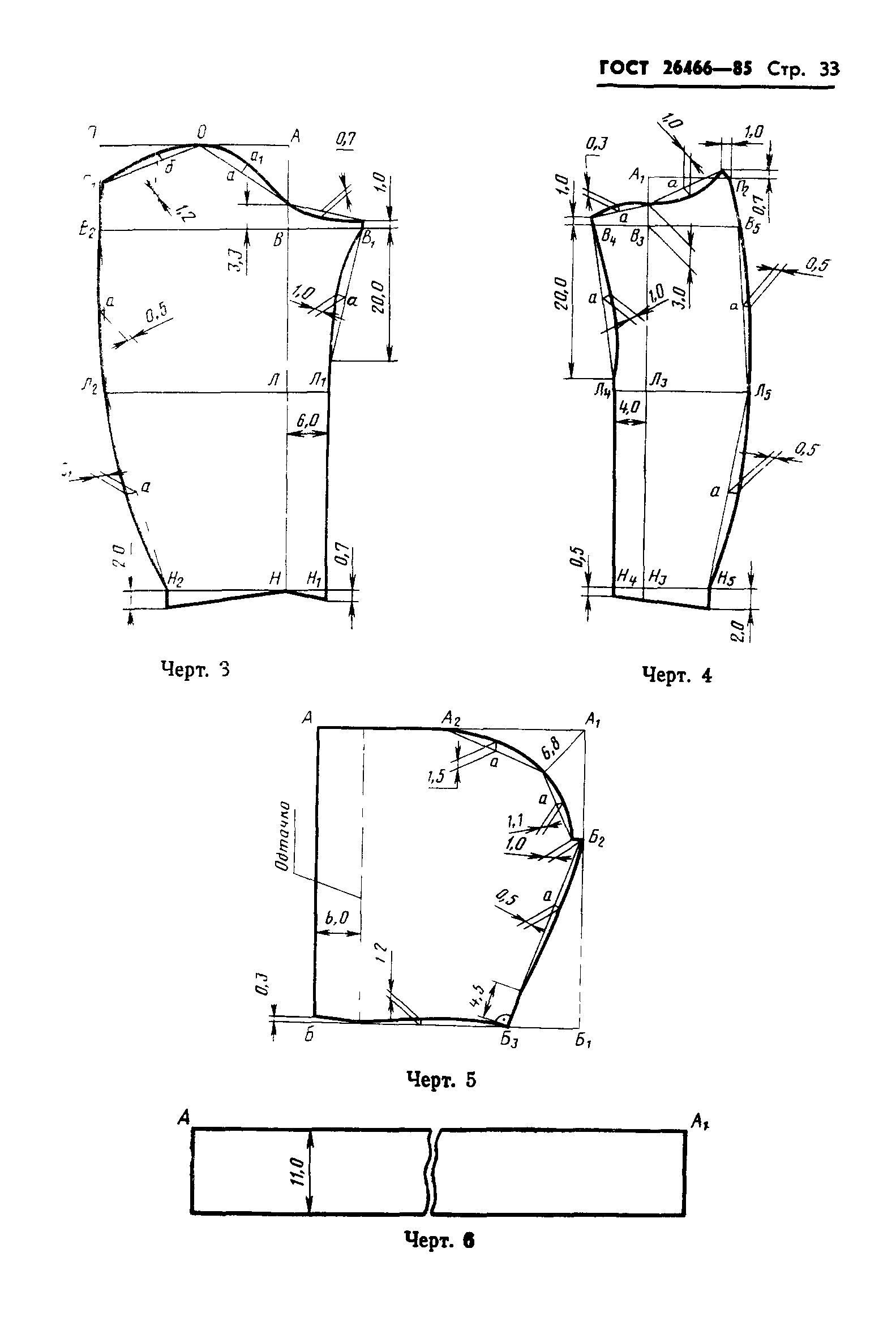
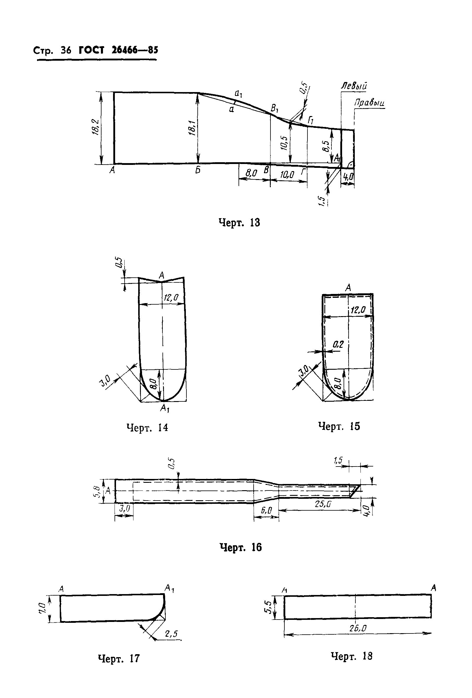
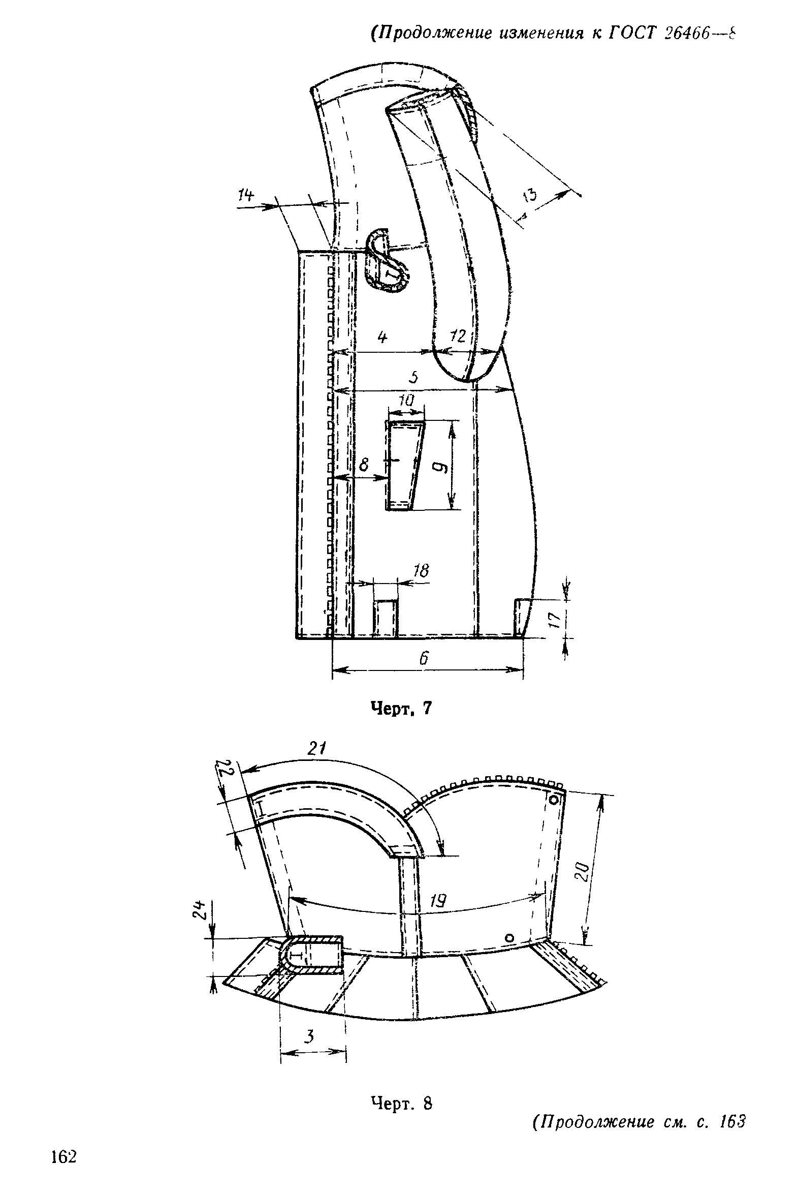
| Оглавление: | 1 Основные размеры 2 Технические требования 3 Правила приемки 4 Методы контроля 5 Маркировка, упаковка, транспортирование и хранение Приложение 1 Пособие для построения чертежей лекал костюма Приложение 2 Спецификация деталей костюма Приложение 3 Особенности обработки костюма Приложение 4 Изображение специального клейма (М 1:1) |
| Утверждён: | 22.03.1985 Госстандарт СССР (USSR Gosstandart 697) |






















































