Скачать ГОСТ 26540-85 Хвостовики цилиндрические для регулируемых втулок и оправок и стопорные гайки. Основные параметры

Дата актуализации: 01.01.2021

ГОСТ 26540-85

Хвостовики цилиндрические для регулируемых втулок и оправок и стопорные гайки. Основные параметры

Обозначение: ГОСТ 26540-85
Обозначение англ: GOST 26540-85
Статус:введен впервые
Название рус.:Хвостовики цилиндрические для регулируемых втулок и оправок и стопорные гайки. Основные параметры
Название англ.:Straight shanks for adjustable bushes and arbours and locking nuts main characteristics
Дата добавления в базу:01.09.2013
Дата актуализации:01.01.2021
Дата введения:01.01.1986
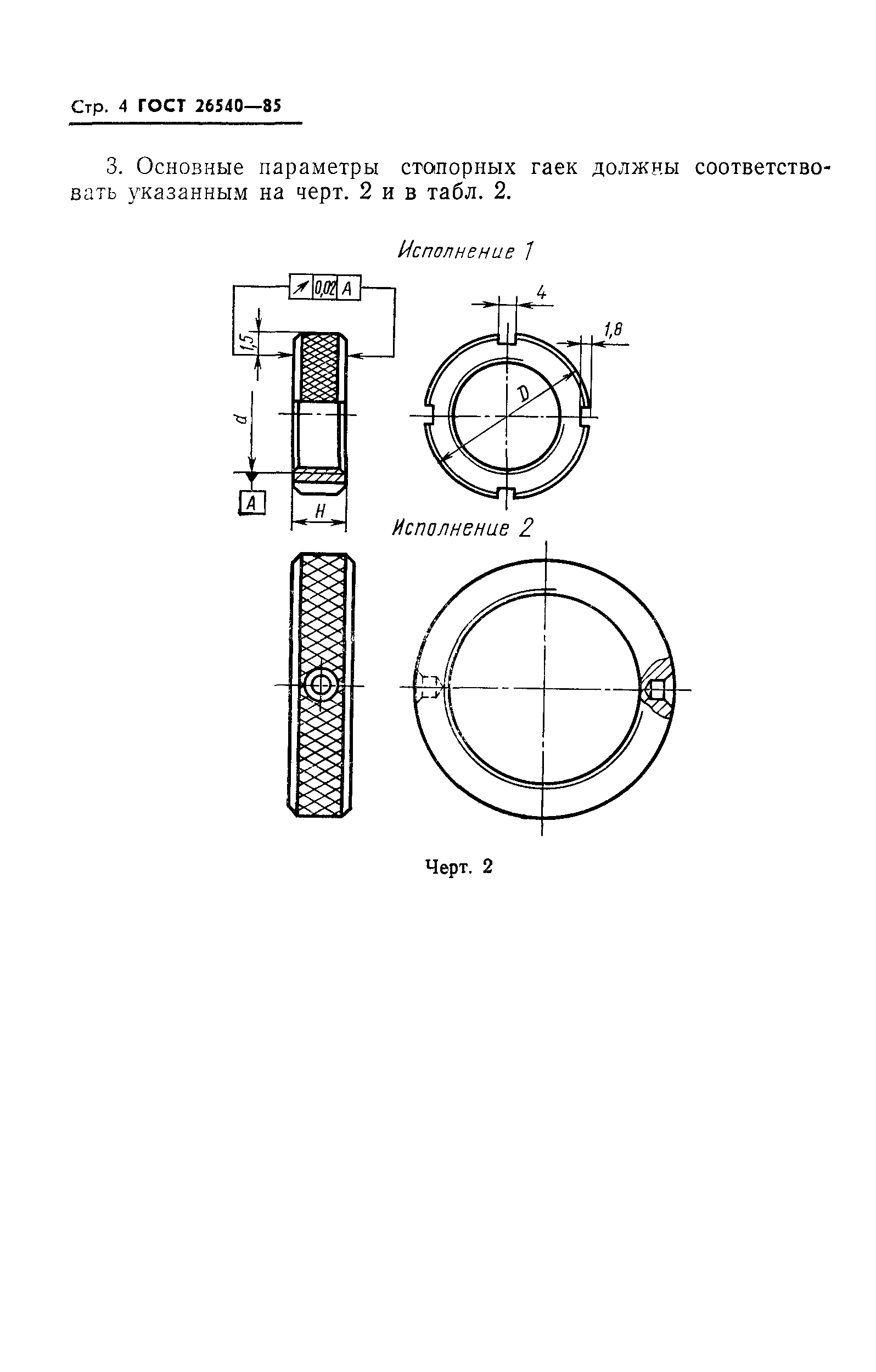
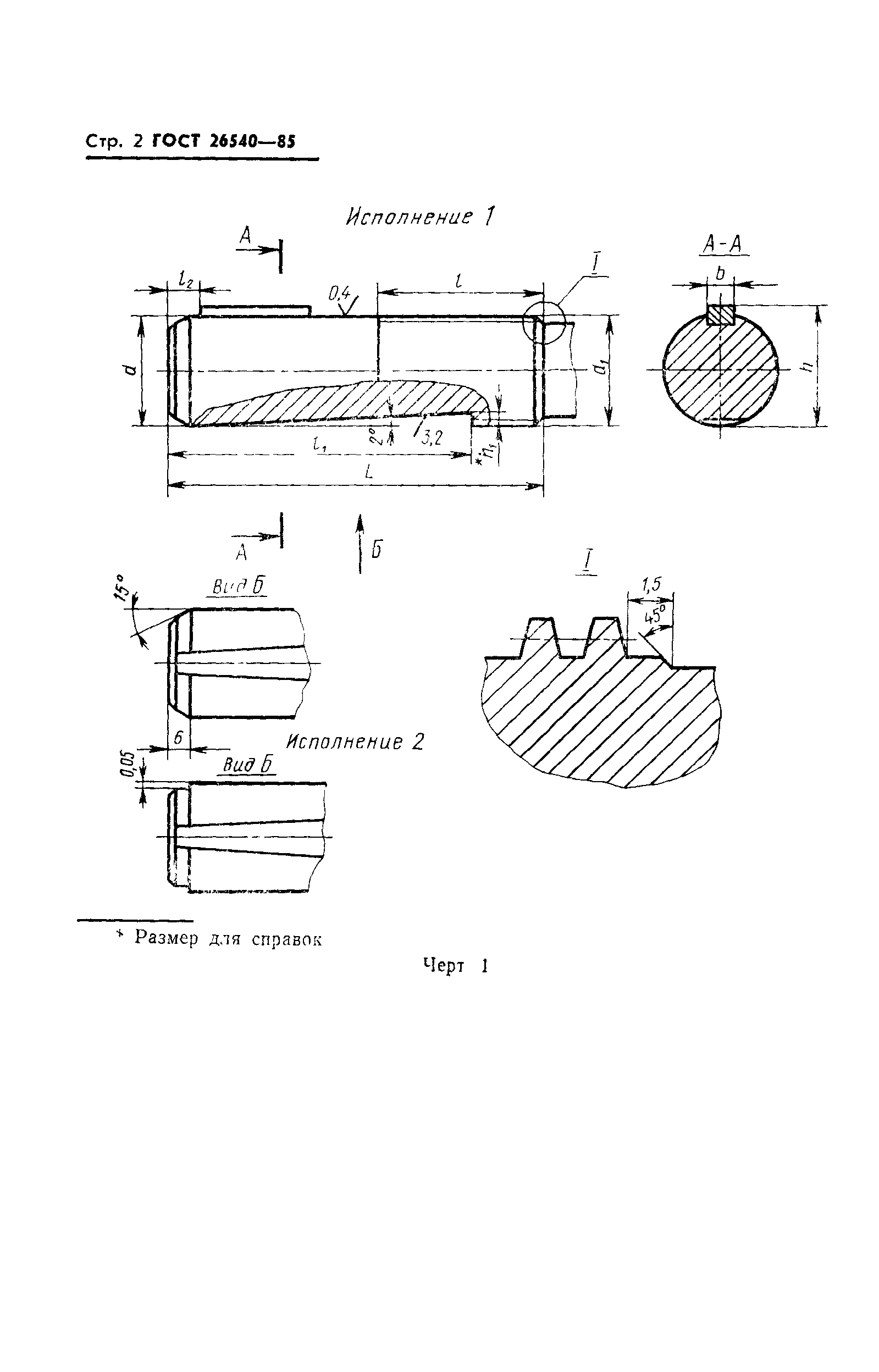
Область применения:Стандарт распространяется на цилиндрические хвостовики для регулируемых втулок и оправок и стопорные гайки, применяемые на расточных, фрезерных станках с числовым программным управлением.
Разработан: Министерство станкостроительной и инструментальной промышленности
Утверждён:29.04.1985 Государственный комитет СССР по стандартам (USSR National Committee on Standards 1265)
Издан: Издательство стандартов (1985 г. )
Нормативные ссылки:
ГОСТ 26540-85ГОСТ 26540-85ГОСТ 26540-85ГОСТ 26540-85ГОСТ 26540-85ГОСТ 26540-85ГОСТ 26540-85