Скачать ГОСТ 26612-85 Резцы расточные с креплением сменных пластин прихватом сверху. Конструкция и размерыДата актуализации: 01.01.2021
|
| Обозначение: | ГОСТ 26612-85 |
| Обозначение англ: | GOST 26612-85 |
| Статус: | действует |
| Название рус.: | Резцы расточные с креплением сменных пластин прихватом сверху. Конструкция и размеры |
| Название англ.: | Boring toolholders with mechanicaly clamped indexable inserts. Design and dimensions |
| Дата добавления в базу: | 01.09.2013 |
| Дата актуализации: | 01.01.2021 |
| Дата введения: | 01.07.1986 |
| Область применения: | Стандарт распространяется на токарные расточные резцы с механическим креплением сменных многогранных пластин, изготовляемые для нужд народного хозяйства и экспорта. |
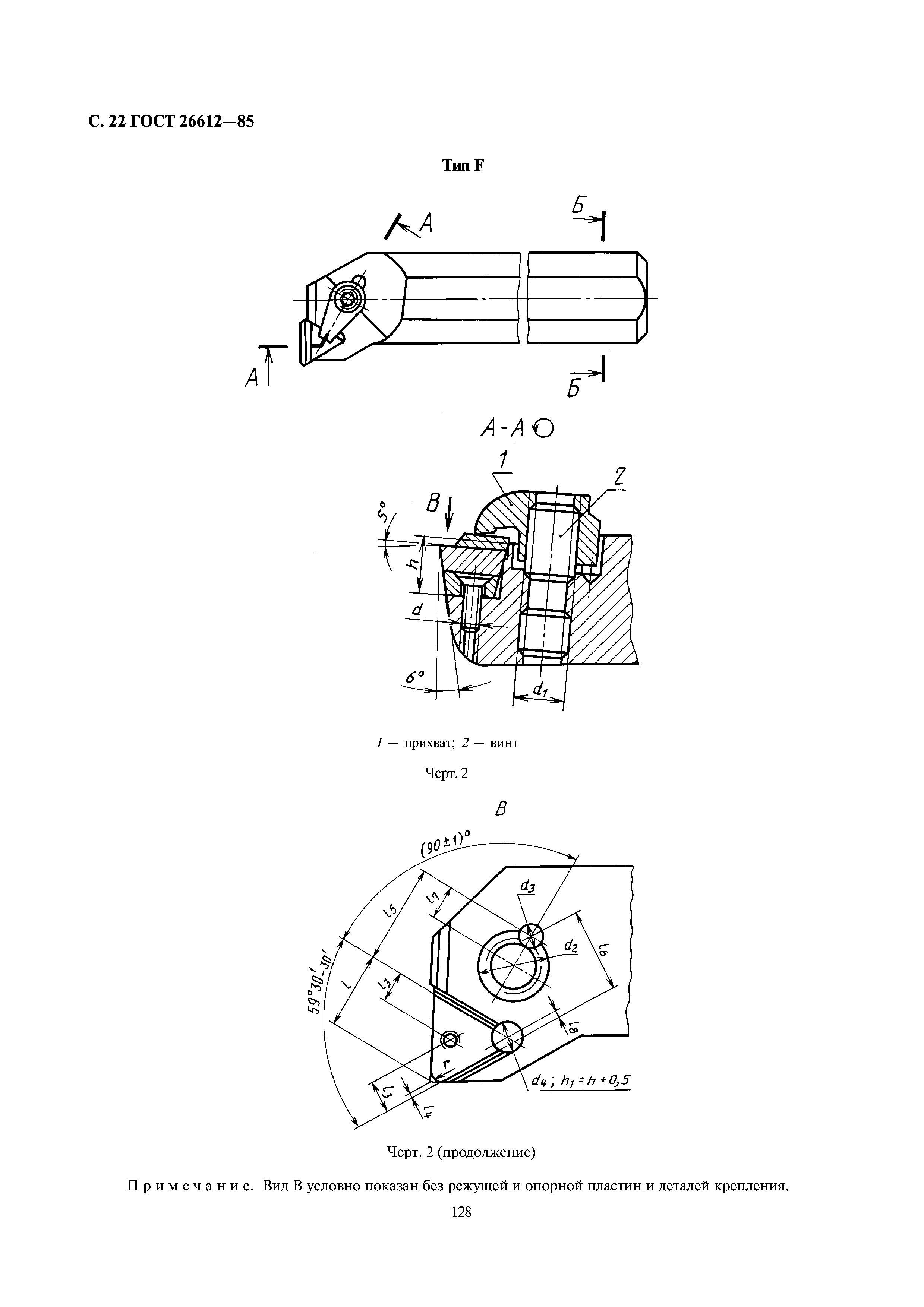
| Оглавление: | 1 Типы и основные размеры Приложение Элементы конструкции и геометрические параметры резцов |
| Утверждён: | 20.09.1985 Госстандарт СССР (USSR Gosstandart 2975) |
| Издан: | Издательство стандартов (1985 г. ) ИПК Издательство стандартов (2003 г. ) ИПК Издательство стандартов (1997 г. ) |

































