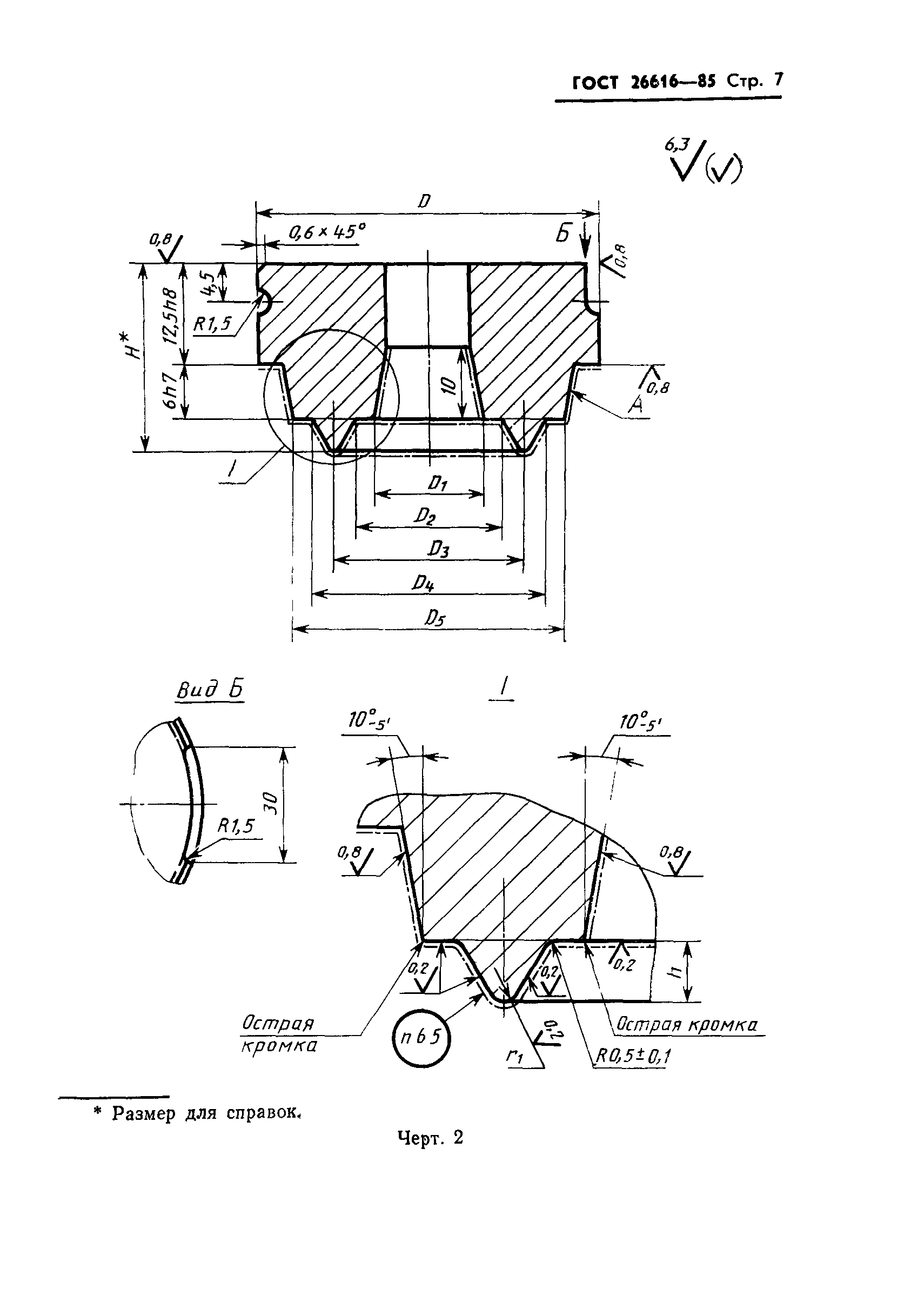
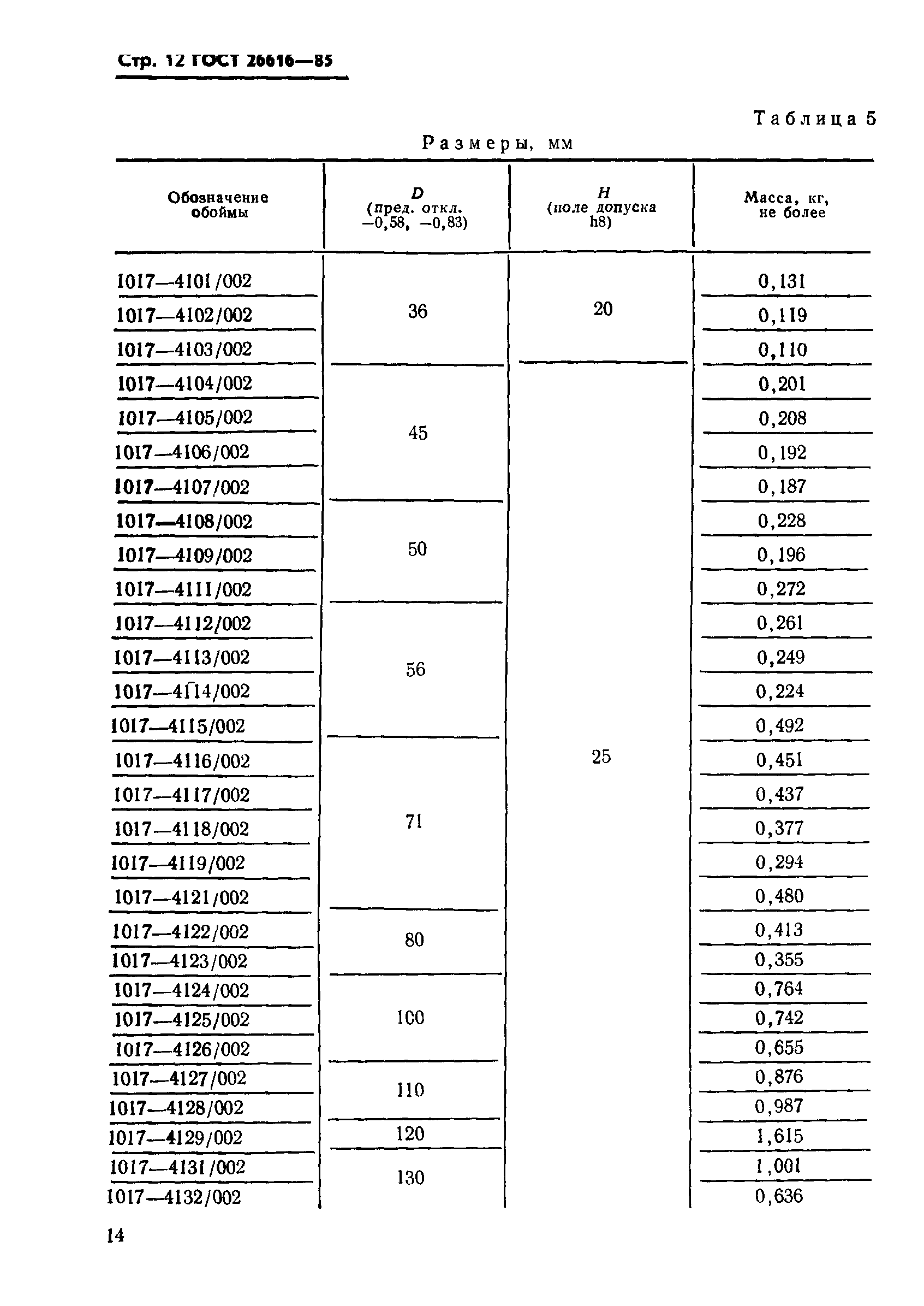
Скачать ГОСТ 26616-85 Пакеты съемных многоместных пресс-форм для изготовления манжет гидравлических устройств. Конструкция и размерыДата актуализации: 01.01.2021 ГОСТ 26616-85
Пакеты съемных многоместных пресс-форм для изготовления манжет гидравлических устройств. Конструкция и размеры| Обозначение: | ГОСТ 26616-85 | | Обозначение англ: | GOST 26616-85 | | Статус: | действует | | Название рус.: | Пакеты съемных многоместных пресс-форм для изготовления манжет гидравлических устройств. Конструкция и размеры | | Название англ.: | Sets of portable multi-impression press moulas for manufacturing of rubber u-packing seals. Design and dimensions | | Дата добавления в базу: | 01.09.2013 | | Дата актуализации: | 01.01.2021 | | Дата введения: | 01.07.1986 | | Утверждён: | 26.09.1985 Госстандарт СССР (USSR Gosstandart 3057)
|
                   
|