Скачать ГОСТ 26619-85 Пресс-формы одноместные для изготовления манжет гидравлических устройств. Конструкция и размерыДата актуализации: 01.01.2021 ГОСТ 26619-85
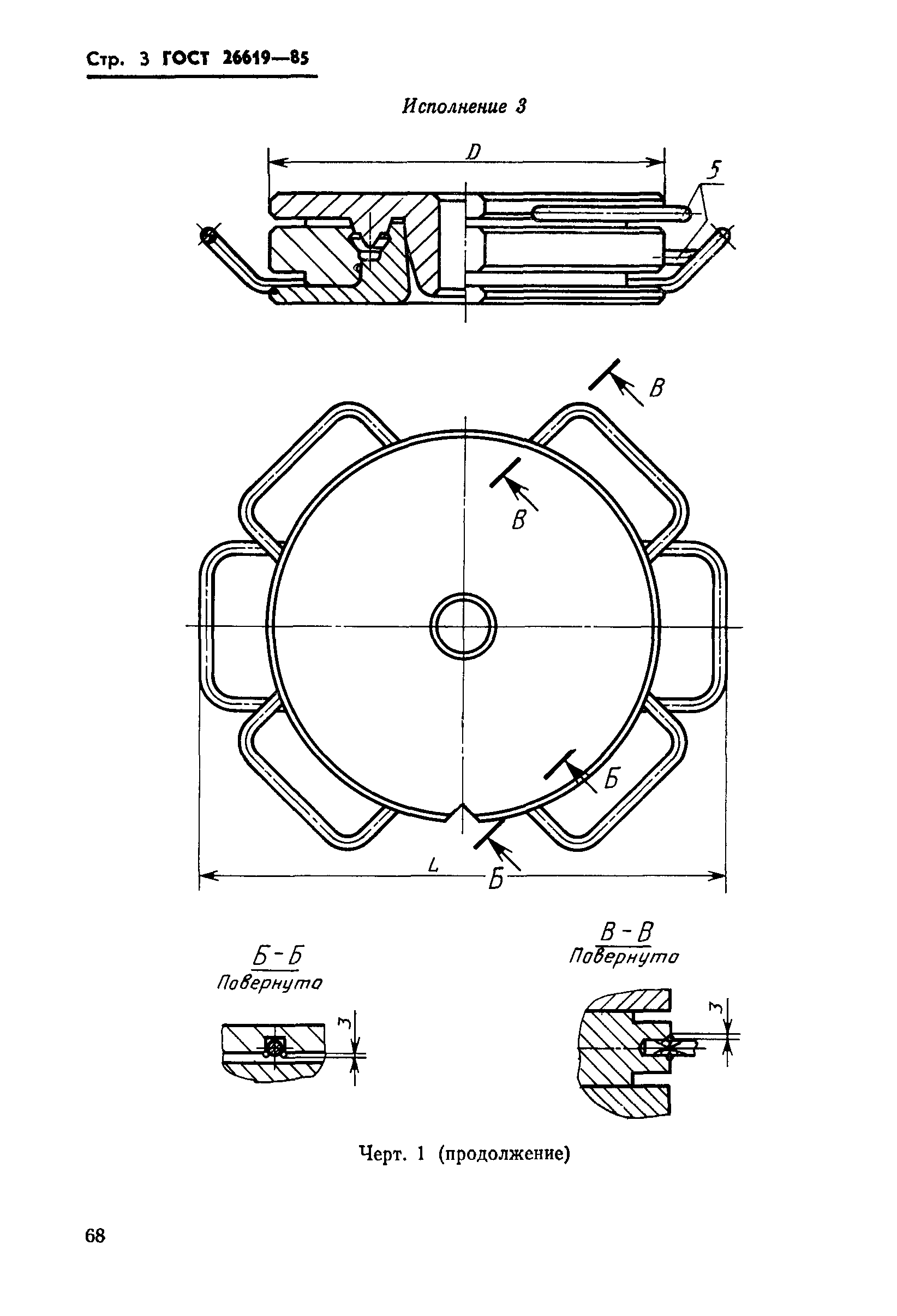
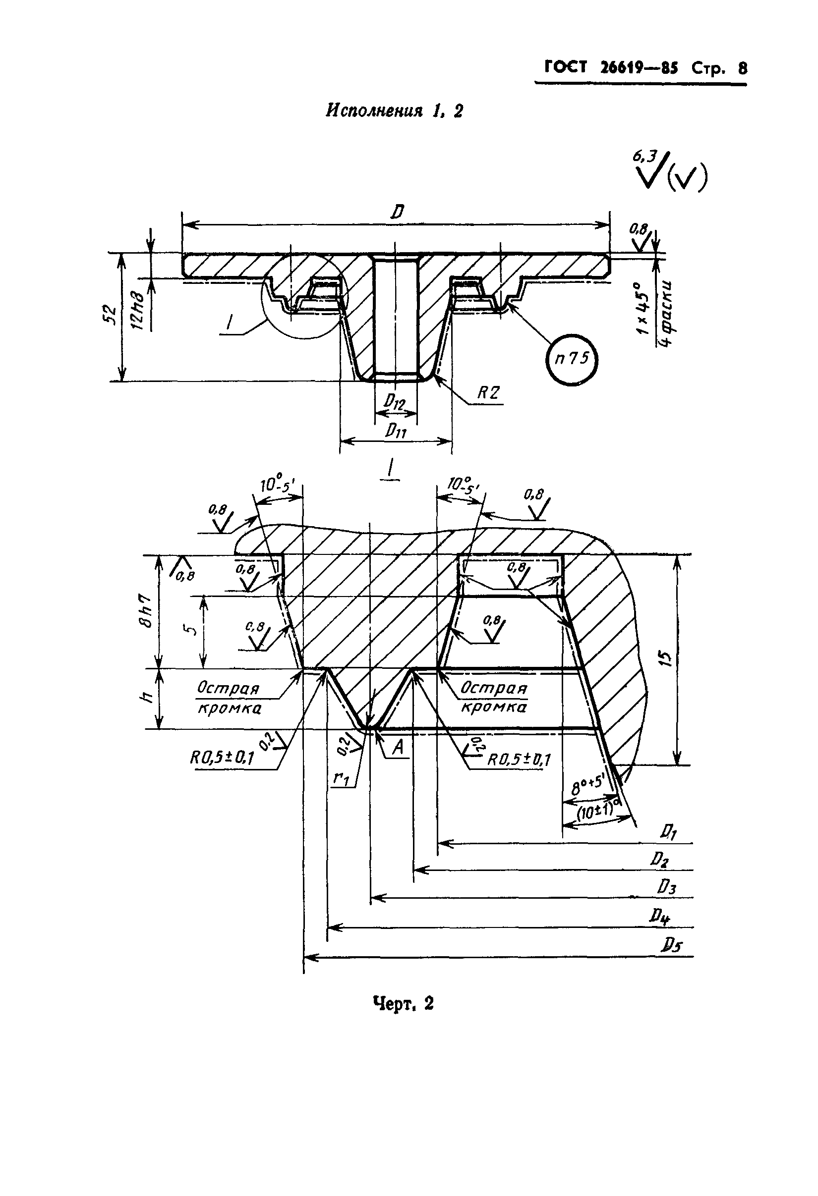
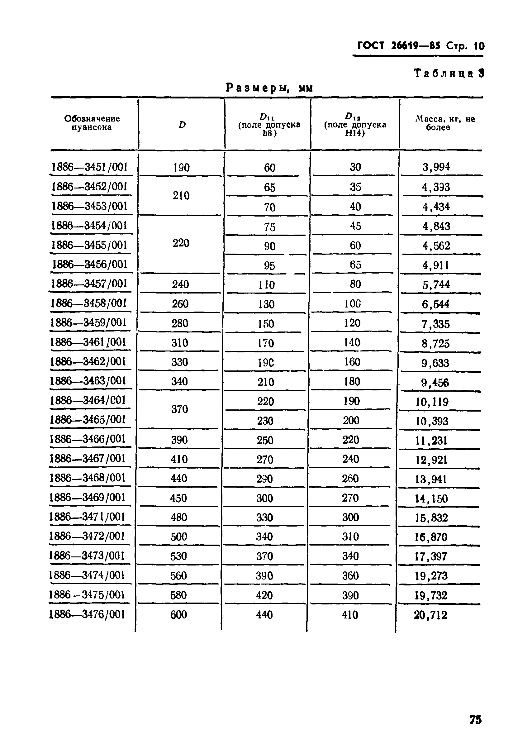
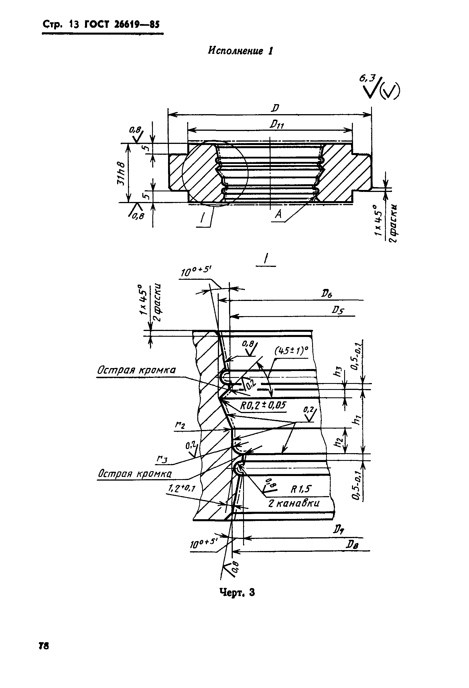
Пресс-формы одноместные для изготовления манжет гидравлических устройств. Конструкция и размеры| Обозначение: | ГОСТ 26619-85 | | Обозначение англ: | GOST 26619-85 | | Статус: | действует | | Название рус.: | Пресс-формы одноместные для изготовления манжет гидравлических устройств. Конструкция и размеры | | Название англ.: | Singll-impression press moulds for manufacturing of rubber u-packing seals. Design and dimensions | | Дата добавления в базу: | 01.09.2013 | | Дата актуализации: | 01.01.2021 | | Дата введения: | 07.07.1986 | | Утверждён: | 26.09.1985 Госстандарт СССР (USSR Gosstandart 3057)
|
                   
|