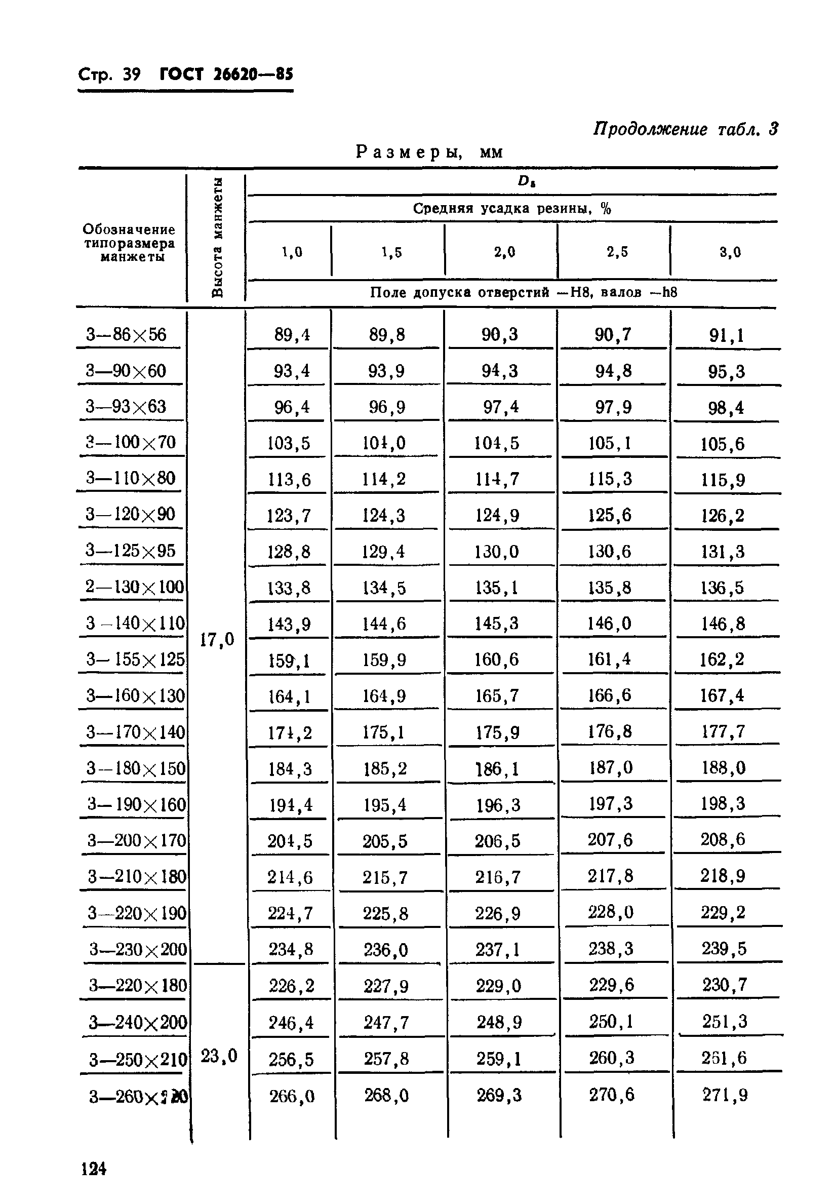
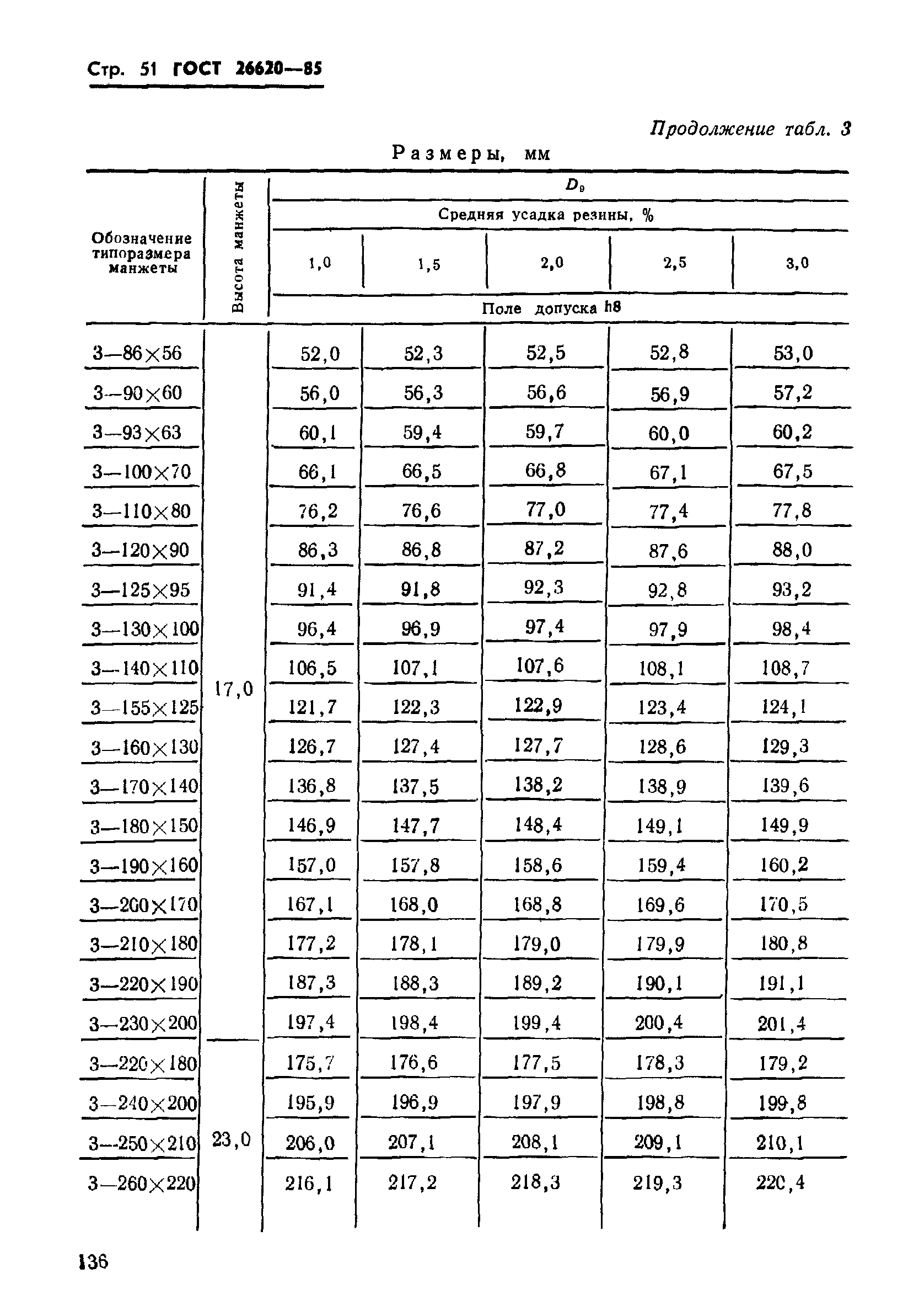
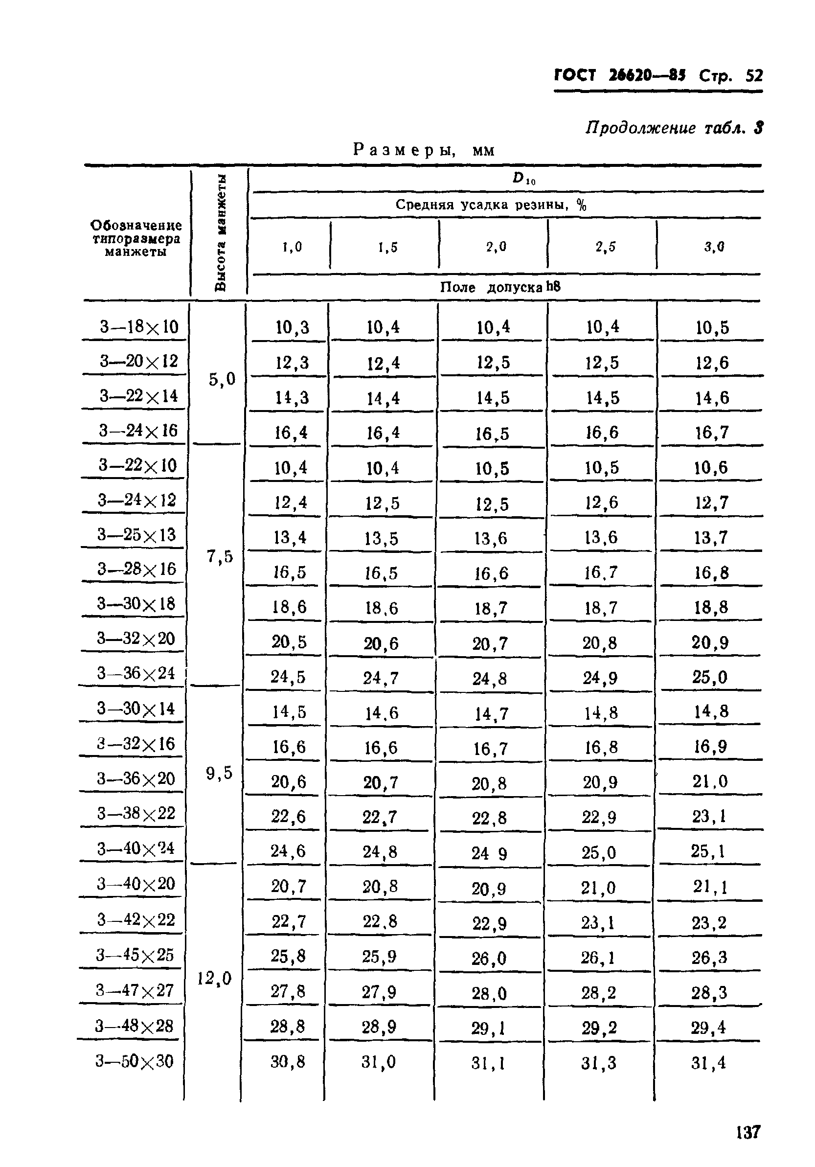
Скачать ГОСТ 26620-85 Пакеты съемных многоместных и кассетных пресс-форм и пресс-формы одноместные для изготовления манжет гидравлических устройств. Исполнительные размеры формообразующих деталейДата актуализации: 01.01.2021 ГОСТ 26620-85
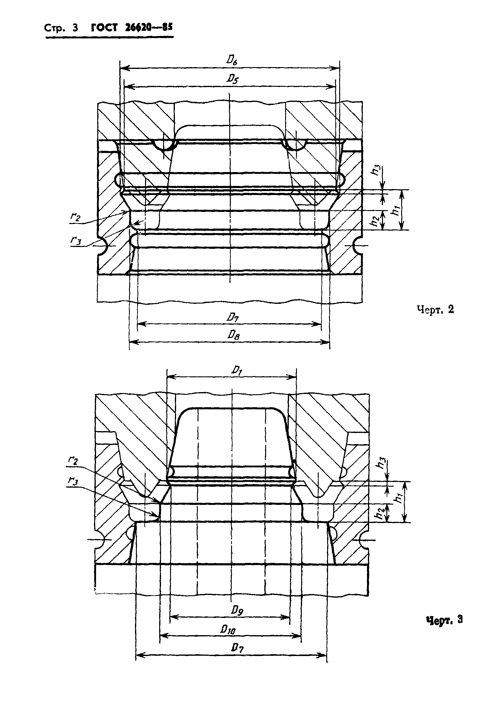
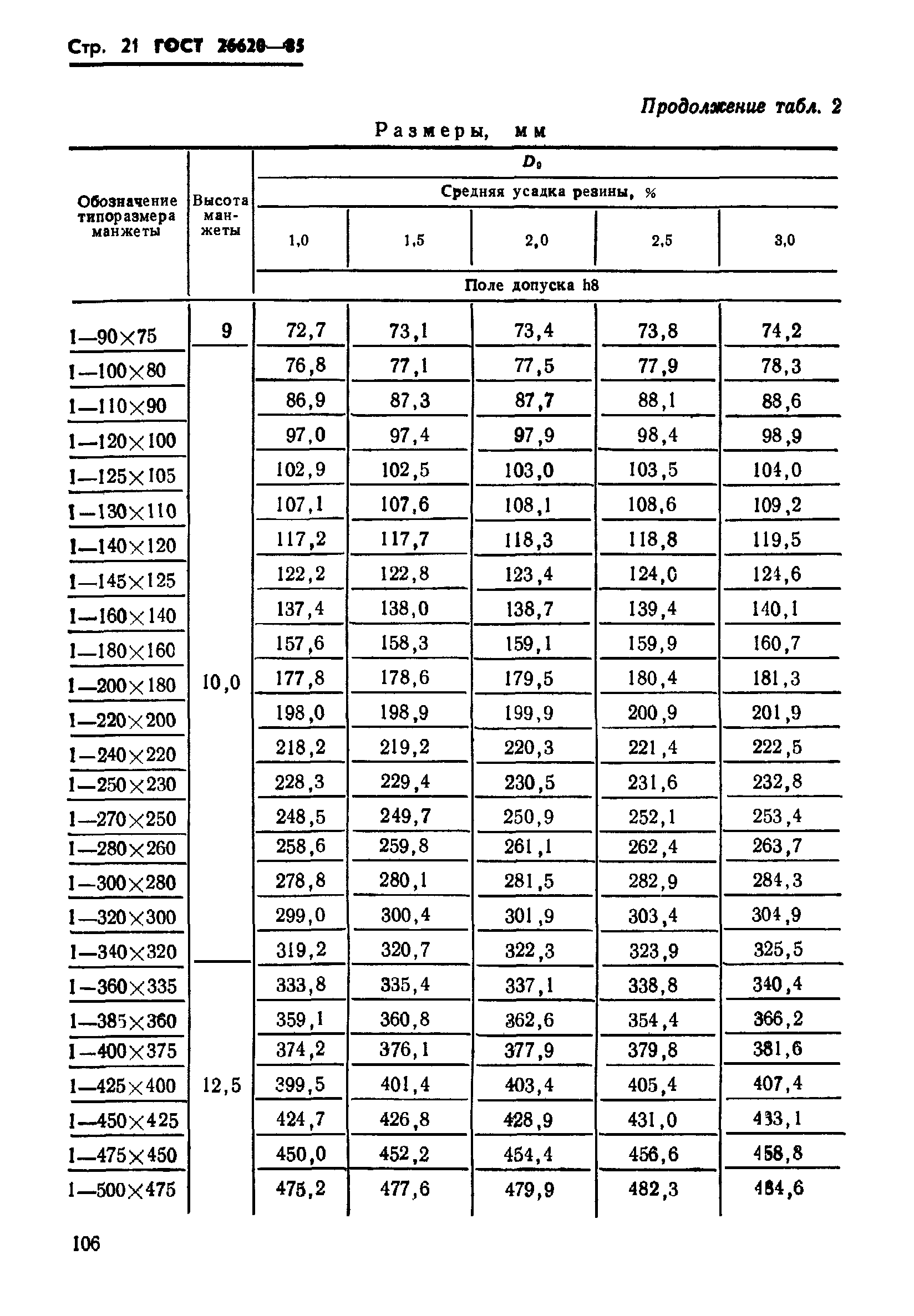
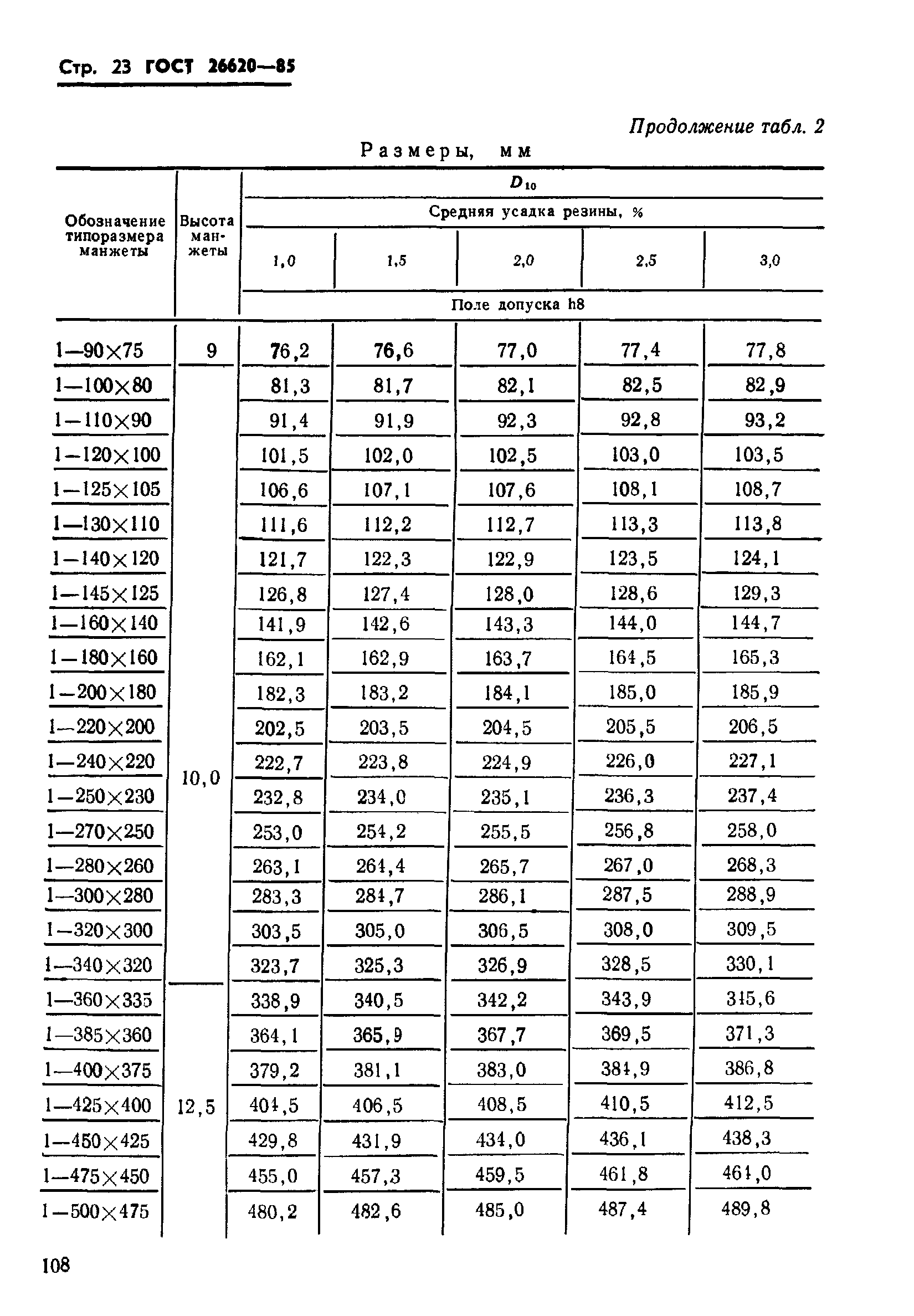
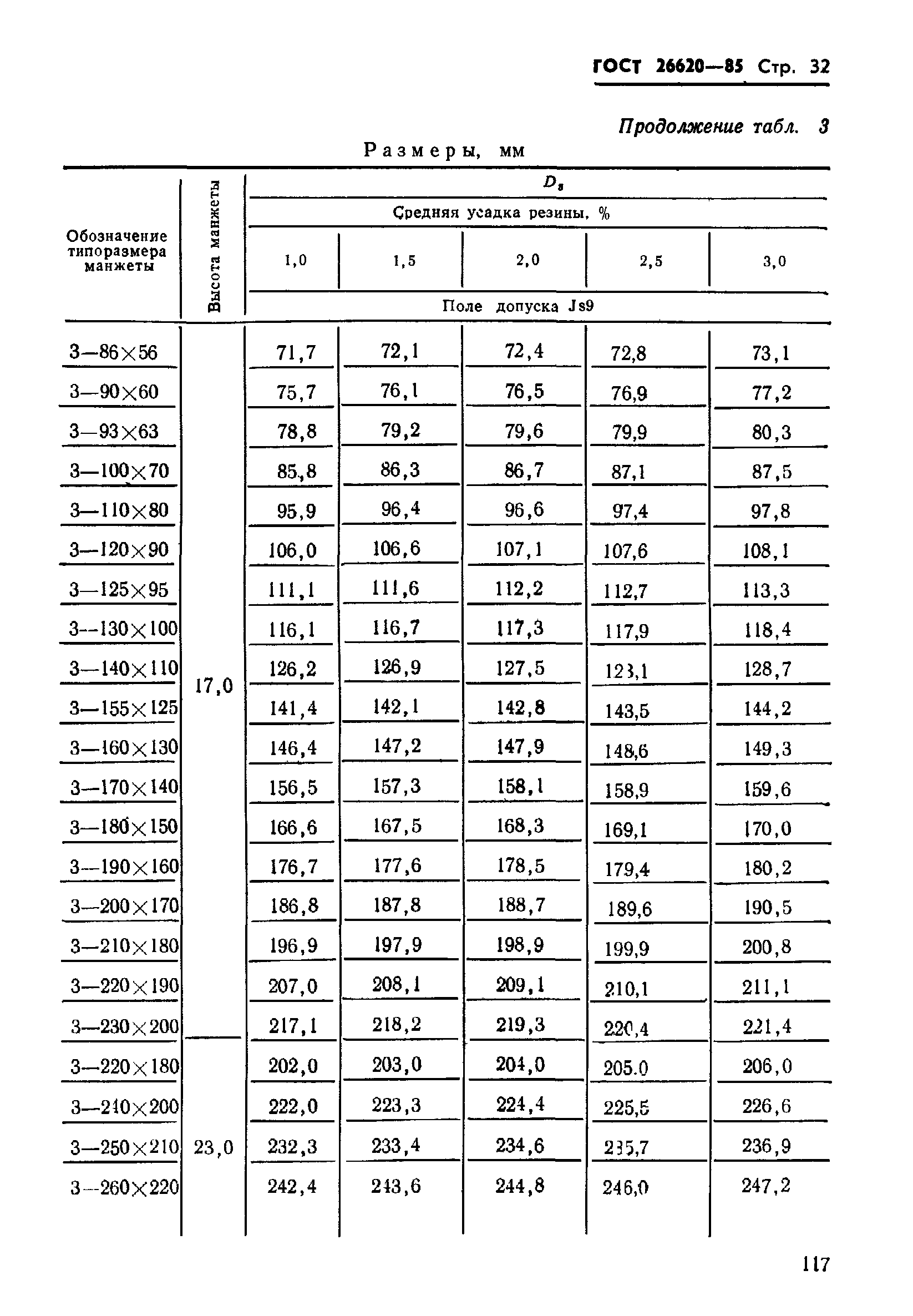
Пакеты съемных многоместных и кассетных пресс-форм и пресс-формы одноместные для изготовления манжет гидравлических устройств. Исполнительные размеры формообразующих деталей| Обозначение: | ГОСТ 26620-85 | | Обозначение англ: | GOST 26620-85 | | Статус: | действует | | Название рус.: | Пакеты съемных многоместных и кассетных пресс-форм и пресс-формы одноместные для изготовления манжет гидравлических устройств. Исполнительные размеры формообразующих деталей | | Название англ.: | Sets of portable multi-impression and casseta press-moulds and single impression for manufacturing rubber upacking seals. Executive dimensions of formed articies | | Дата добавления в базу: | 01.09.2013 | | Дата актуализации: | 01.01.2021 | | Дата введения: | 01.07.1987 | | Утверждён: | 26.09.1985 Госстандарт СССР (USSR Gosstandart 3057)
|
                                                         
|