Скачать ГОСТ 27169-86 Мундир и китель для офицеров и прапорщиков Советской Армии. Технические условияДата актуализации: 01.01.2021
|
| Обозначение: | ГОСТ 27169-86 |
| Обозначение англ: | GOST 27169-86 |
| Статус: | введен впервые |
| Название рус.: | Мундир и китель для офицеров и прапорщиков Советской Армии. Технические условия |
| Название англ.: | Full-dress coats and tunics for officers and ensigns of the Soviet Army. Specifications |
| Дата добавления в базу: | 01.09.2013 |
| Дата актуализации: | 01.01.2021 |
| Дата введения: | 01.07.1988 |
| Область применения: | Стандарт распространяется на шерстяные парадно-выходные мундиры и повседневные кители для военнослужащих. |
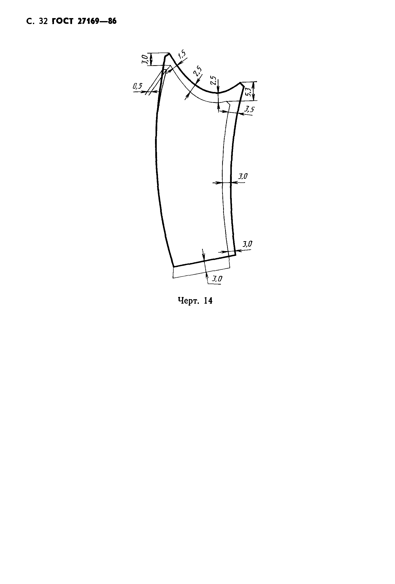
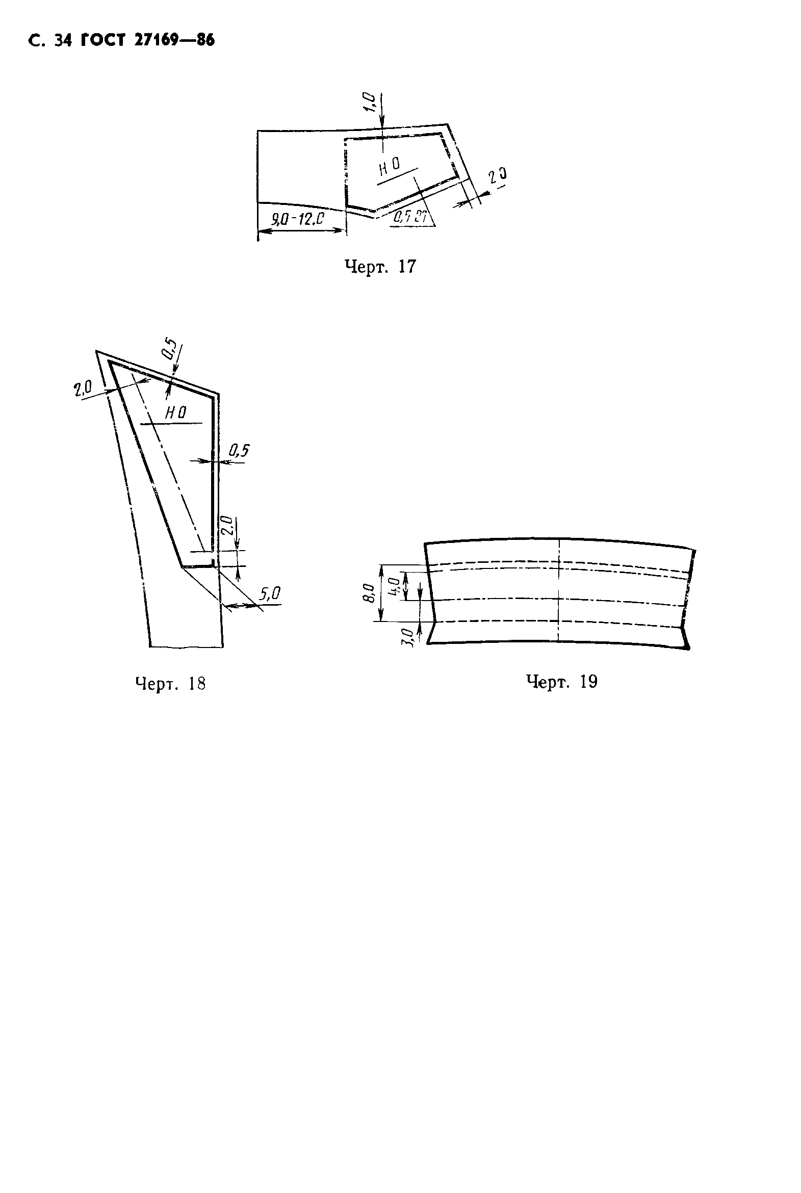
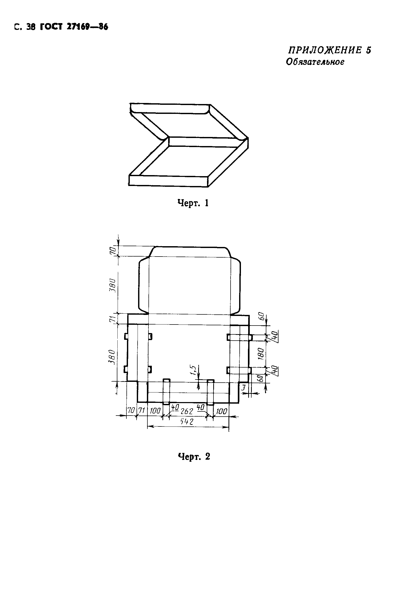
| Оглавление: | 1 Типы и основные размеры 2 Технические требования 3 Правила приемки и методы контроля качества 4 Маркировка, упаковка, транспортирование и хранение Приложение 1 Спецификация деталей мундиров и кителей Приложение 2 Пособие для построения чертежей лекал деталей мундиров и кителей Приложение 3 Особенности обработки Приложение 4 Приложение 5 Приложение 6 |
| Утверждён: | 19.12.1986 Государственный комитет СССР по стандартам (USSR National Committee on Standards 4095) |
| Издан: | Издательство стандартов (1987 г. ) |
| Список изменений: |
|
| Нормативные ссылки: |
|










































Текстовое изменение Поправка