Скачать ГОСТ 27170-86 Плащ для военнослужащих женщин. Технические условияДата актуализации: 01.01.2021
|
| Обозначение: | ГОСТ 27170-86 |
| Обозначение англ: | GOST 27170-86 |
| Статус: | действует |
| Название рус.: | Плащ для военнослужащих женщин. Технические условия |
| Название англ.: | Cloaks for service women. Specifications |
| Дата добавления в базу: | 01.09.2013 |
| Дата актуализации: | 01.01.2021 |
| Дата введения: | 01.07.1988 |
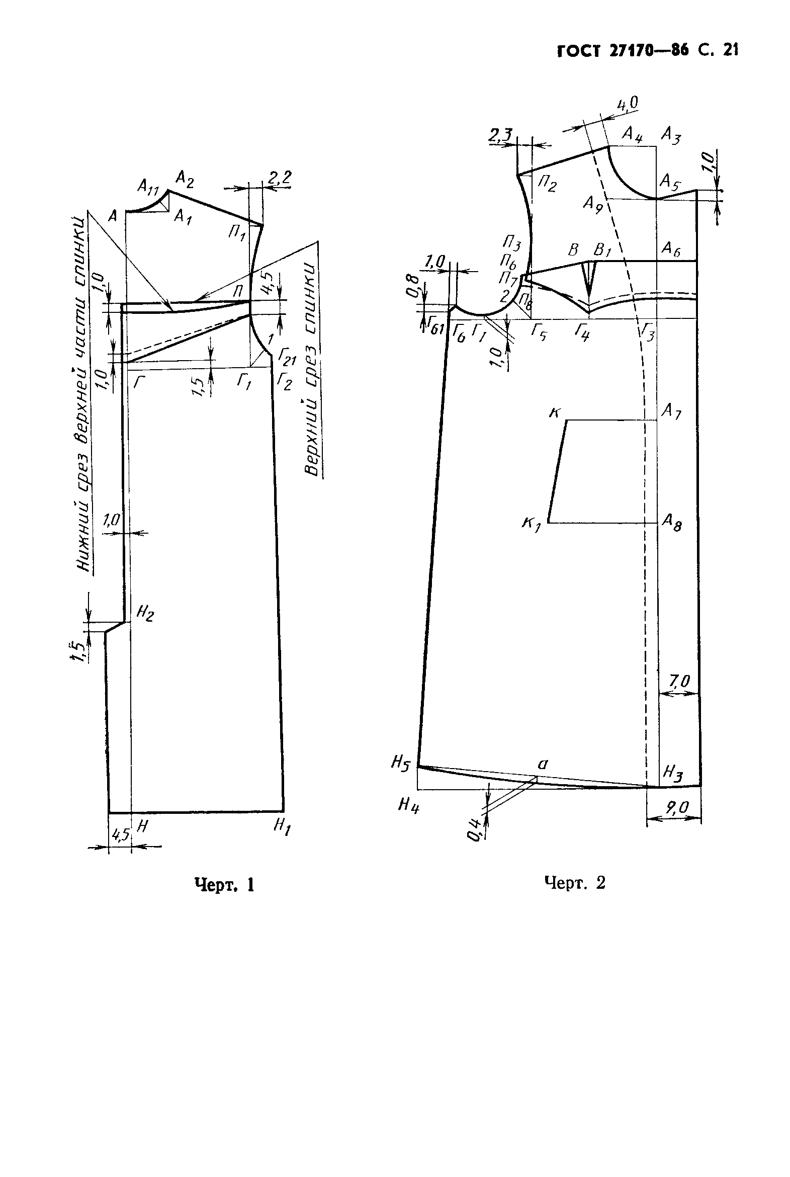
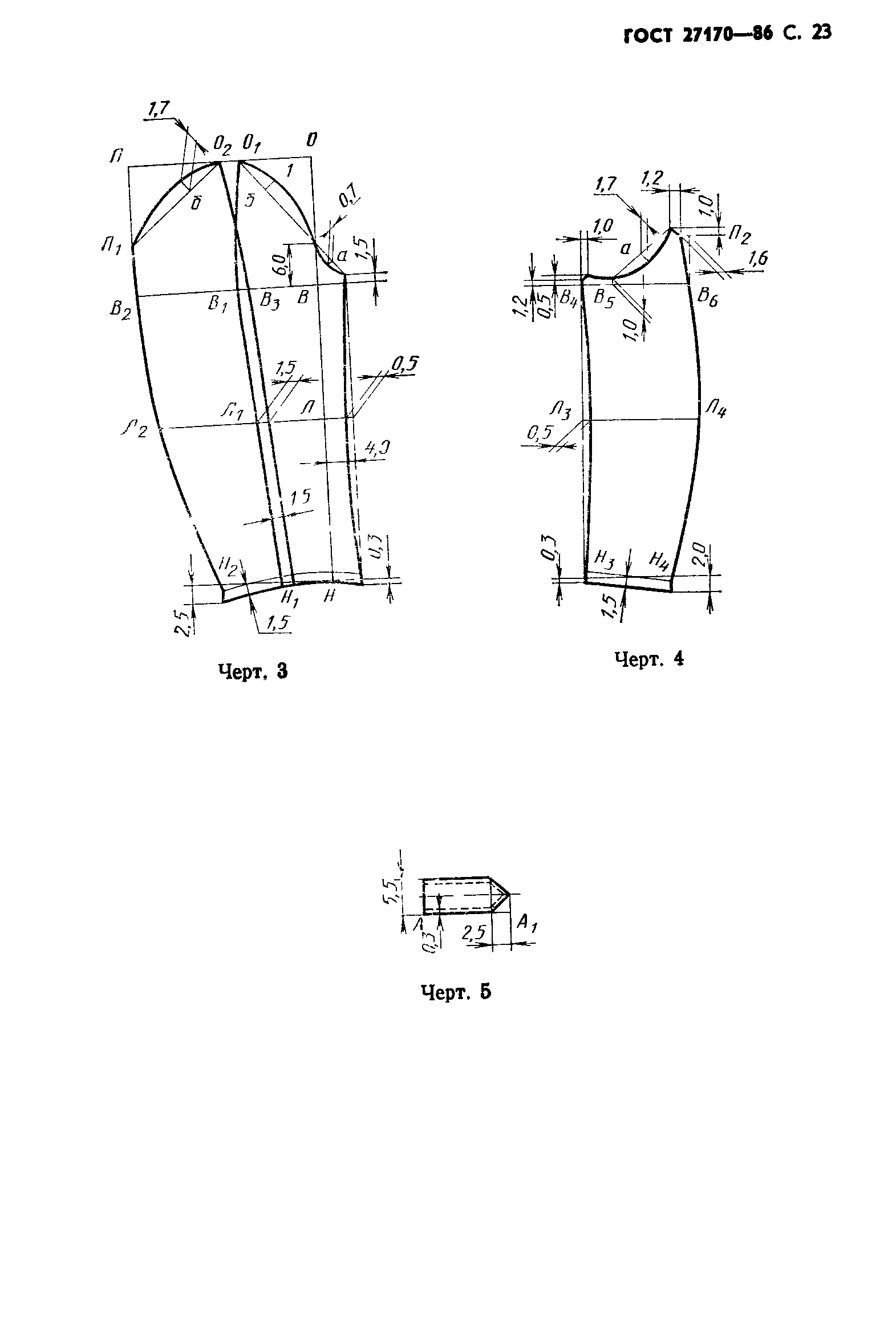
| Оглавление: | 1 Основные размеры 2 Технические требования 3 Правила приемки и методы контроля 4 Маркировка, упаковка, транспортирование и хранение Приложение 1 Пособие для построения лекал деталей плаща Приложение 2 Спецификация деталей плаща Приложение 3 Коды ОКП на плащ |
| Утверждён: | 19.12.1986 Госстандарт СССР (USSR Gosstandart 4108) |





























