Скачать ГОСТ 27216-87 Костюм специальный для военнослужащих комендантских частей. Технические условияДата актуализации: 01.01.2021
|
| Обозначение: | ГОСТ 27216-87 |
| Обозначение англ: | GOST 27216-87 |
| Статус: | действует |
| Название рус.: | Костюм специальный для военнослужащих комендантских частей. Технические условия |
| Название англ.: | Special army clothes for commandant units. Specifications |
| Дата добавления в базу: | 01.09.2013 |
| Дата актуализации: | 01.01.2021 |
| Дата введения: | 01.07.1988 |
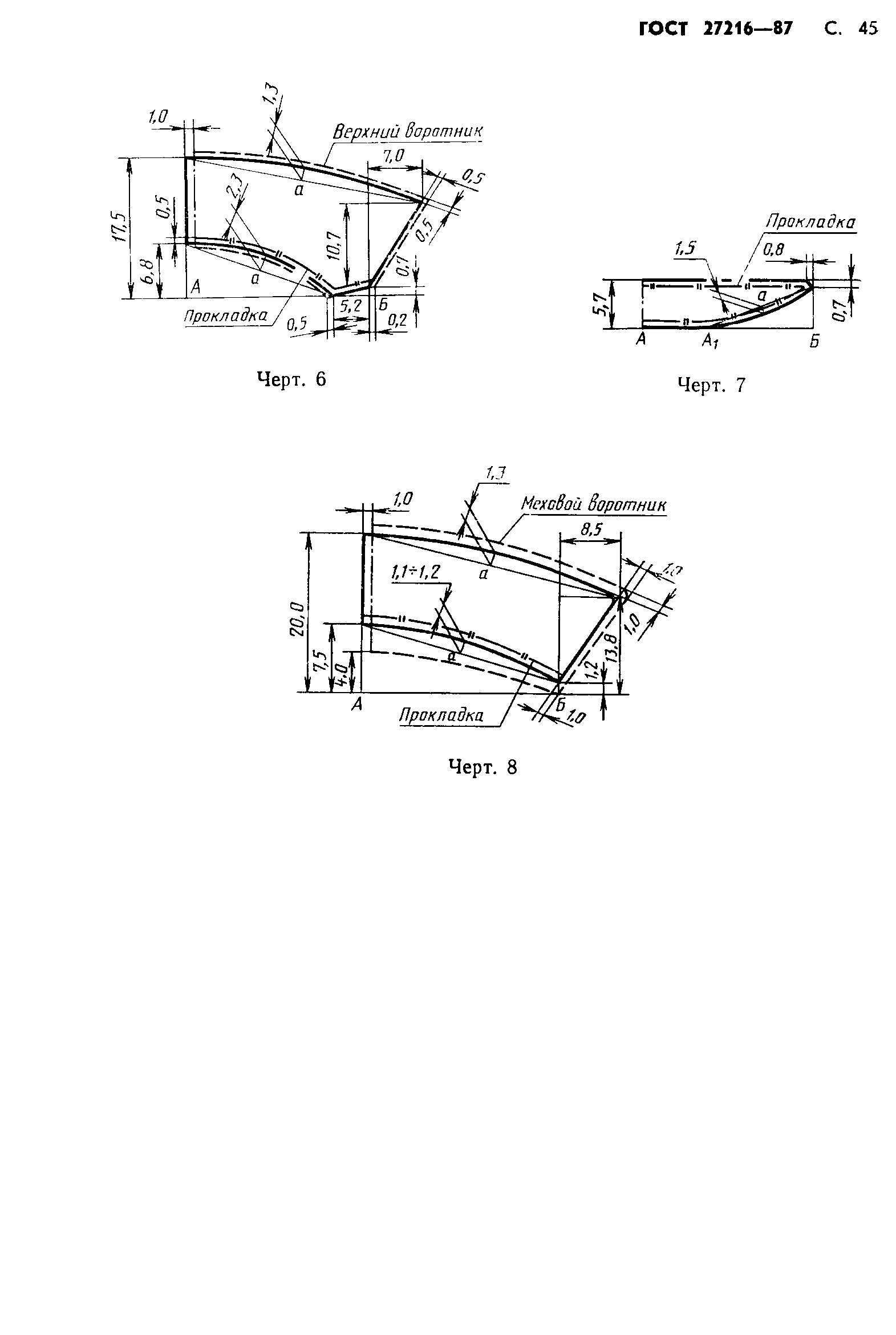
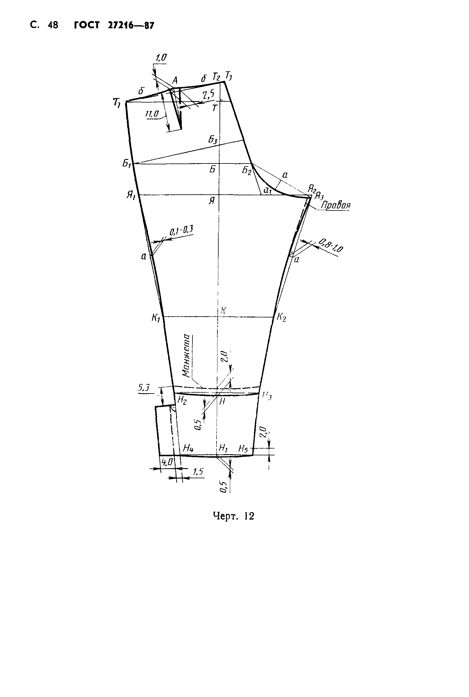
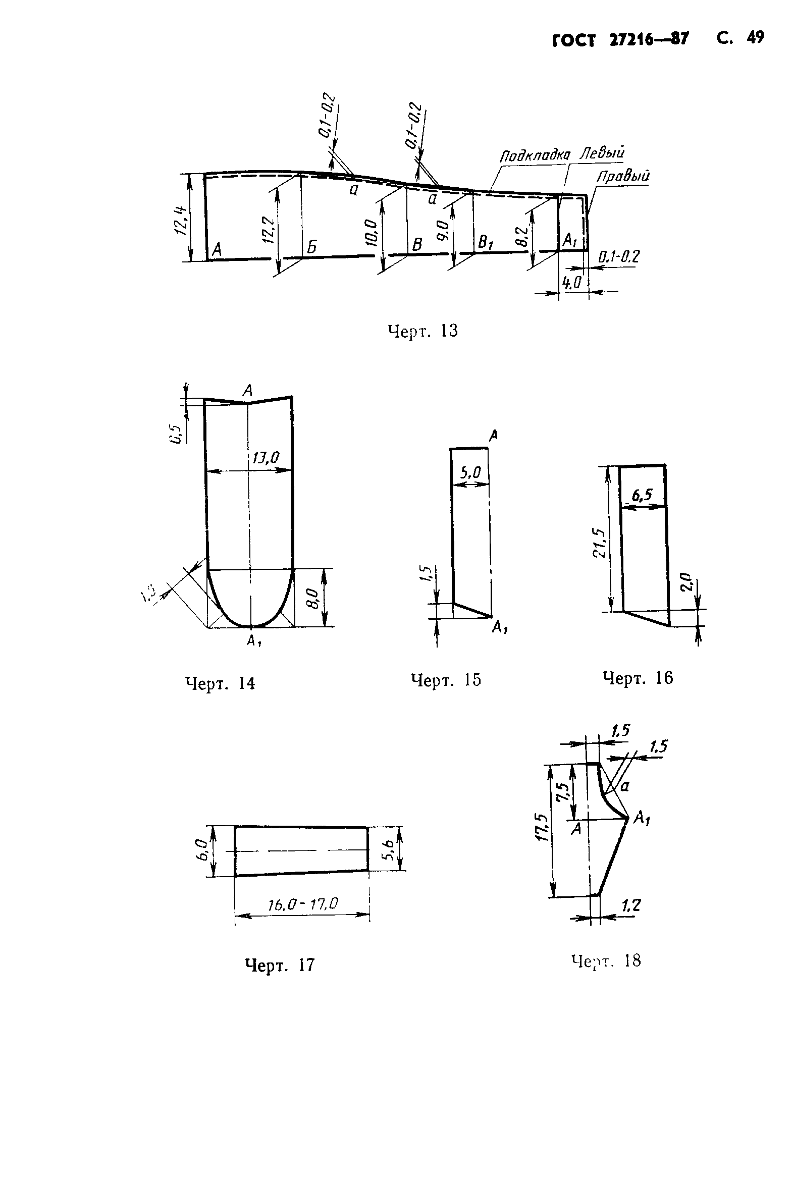
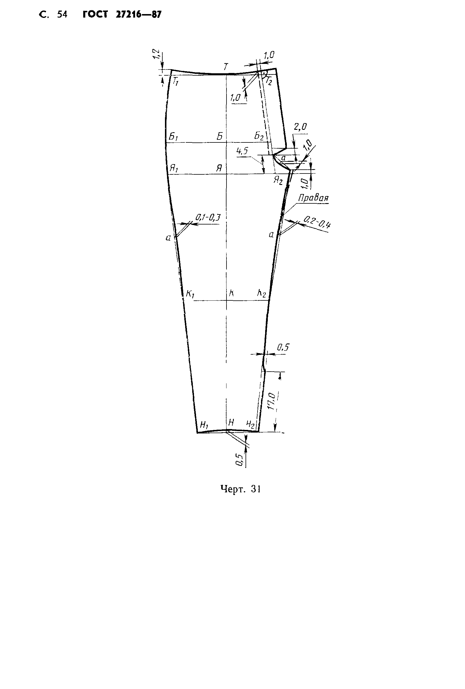
| Оглавление: | 1 Технические требования 2 Приемка 3 Методы контроля 4 Транспортирование и хранение Приложение 1 Особенности обработки костюмов Приложение 2 Пособие для построения чертежей курток и брюк Приложение 3 Спецификация деталей костюма |
| Утверждён: | 20.03.1987 Госстандарт СССР (USSR Gosstandart 812) |





























































