Скачать ГОСТ 27383-87 Переключатели типа Тумблер. Общие технические условияДата актуализации: 01.01.2021
|
| Обозначение: | ГОСТ 27383-87 |
| Обозначение англ: | GOST 27383-87 |
| Статус: | действует |
| Название рус.: | Переключатели типа "Тумблер". Общие технические условия |
| Название англ.: | Toggle switches. General specification |
| Дата добавления в базу: | 01.09.2013 |
| Дата актуализации: | 01.01.2021 |
| Дата введения: | 01.07.1988 |
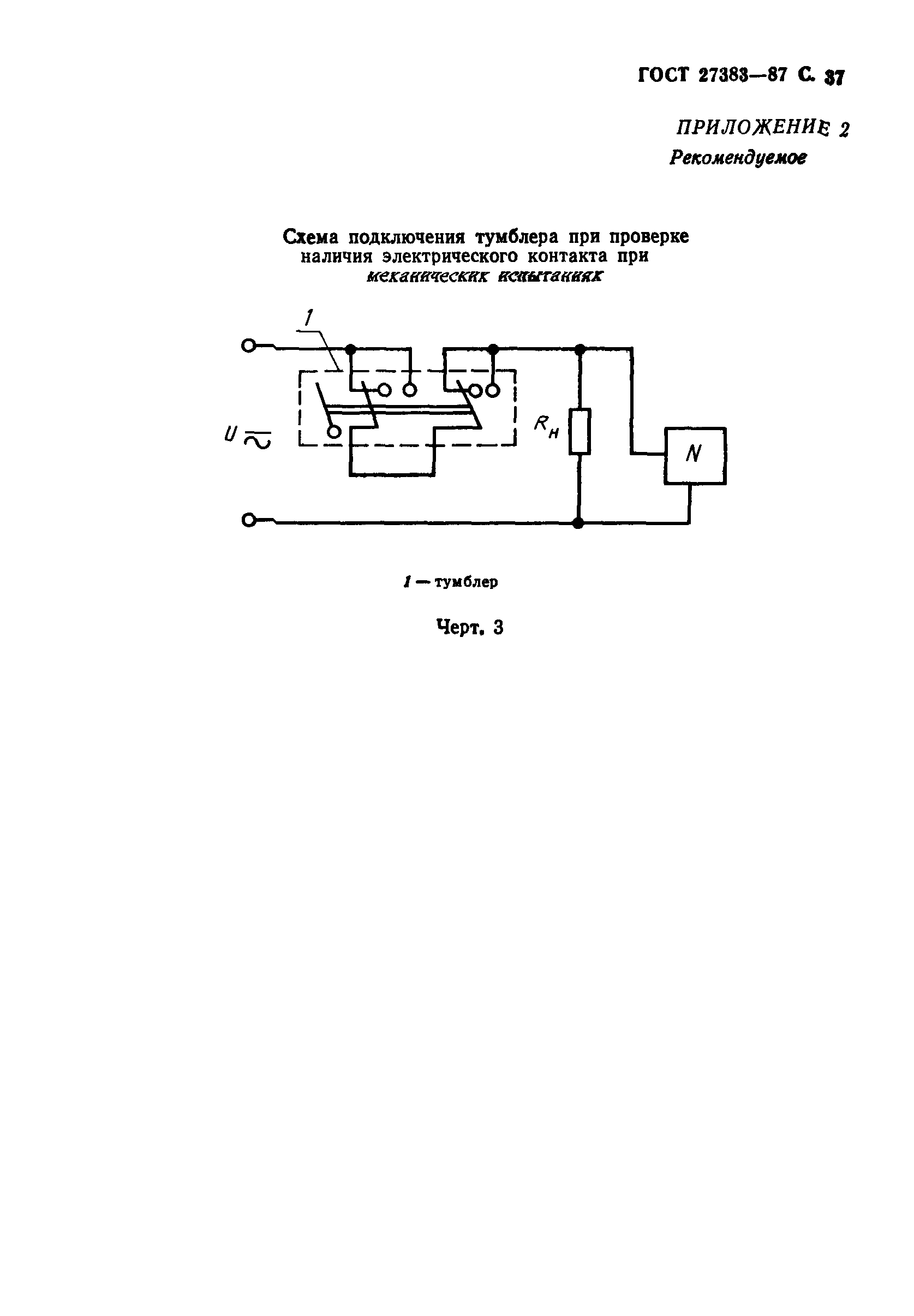
| Оглавление: | 1 Основные параметры и размеры 2 Технические требования 3 Правила приемки 4 Методы контроля 5 Маркировка, упаковка, транспортирование и хранение 6 Указания по эксплуатации 7 Гарантии изготовителя Приложение 1 Положения тумблеров при испытаниях на механические воздействия Приложение 2 Схема подключения тумблера при проверке наличия электрического контакта при механических испытаниях |
| Утверждён: | 28.08.1987 Госстандарт СССР (USSR Gosstandart 3426) |











































