Скачать ГОСТ 27410-87 Халат женский госпитальный. Технические условияДата актуализации: 01.01.2021
|
| Обозначение: | ГОСТ 27410-87 |
| Обозначение англ: | GOST 27410-87 |
| Статус: | введен впервые |
| Название рус.: | Халат женский госпитальный. Технические условия |
| Название англ.: | Women's hospital dressing-gowns. Specifications |
| Дата добавления в базу: | 01.09.2013 |
| Дата актуализации: | 01.01.2021 |
| Дата введения: | 01.01.1989 |
| Область применения: | Стандарт распространяется на женский госпитальный халат для лечебных учреждений, изготовляемый по госзаказу. |
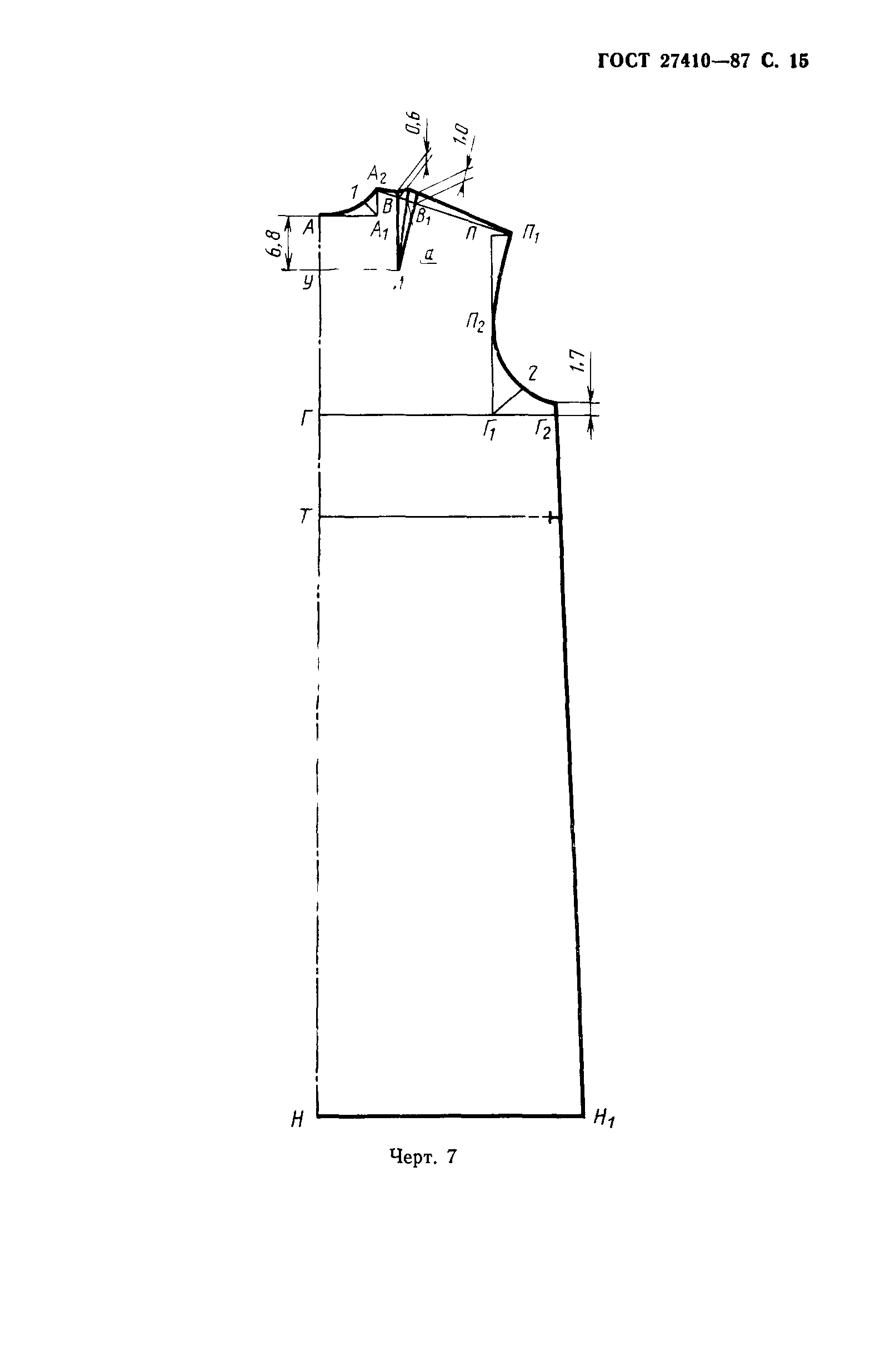
| Оглавление: | 1 Технические требования 2 Приемка 3 Методы контроля 4 Транспортирование и хранение Приложение 1 Особенности обработки халата Приложение 2 Пособие для построения чертежей лекал халата Приложение 3 Спецификация деталей халата |
| Разработан: | Министерство легкой промышленности СССР |
| Утверждён: | 23.09.1987 Государственный комитет СССР по стандартам (USSR National Committee on Standards 3631) |
| Издан: | Издательство стандартов (1987 г. ) |
| Нормативные ссылки: |






















