Скачать ГОСТ 27419-87 Рубашки форменные женские. Технические условияДата актуализации: 01.01.2021
|
| Обозначение: | ГОСТ 27419-87 |
| Обозначение англ: | GOST 27419-87 |
| Статус: | введен впервые |
| Название рус.: | Рубашки форменные женские. Технические условия |
| Название англ.: | Women's uniform shirts. Specifications |
| Дата добавления в базу: | 01.09.2013 |
| Дата актуализации: | 01.01.2021 |
| Дата введения: | 01.01.1989 |
| Область применения: | Стандарт распространяется на рубашки (блузки) форменные для военнослужащих - женщин Советской Армии, Военно-Морского Флота, Комитета Государственной безопасности СССР и внутренних войск, начальствующего и рядового состава внутренней службы и милиции, рабочих и служащих Советской Армии и Военно-Морского Флота, начальствующего состава ведомственной военизированной и профессиональной пожарной охраны. |
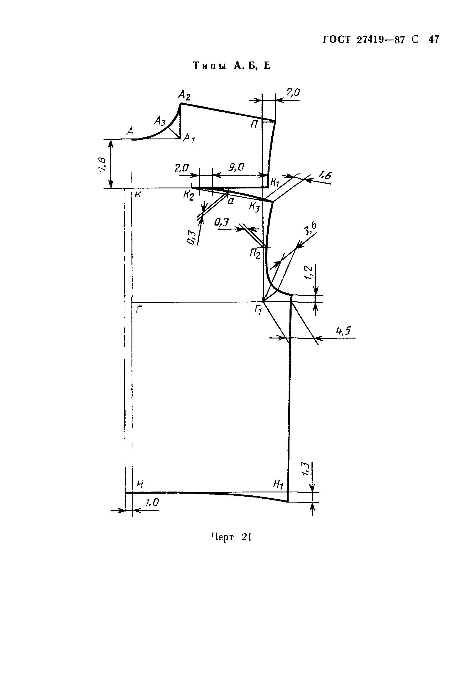
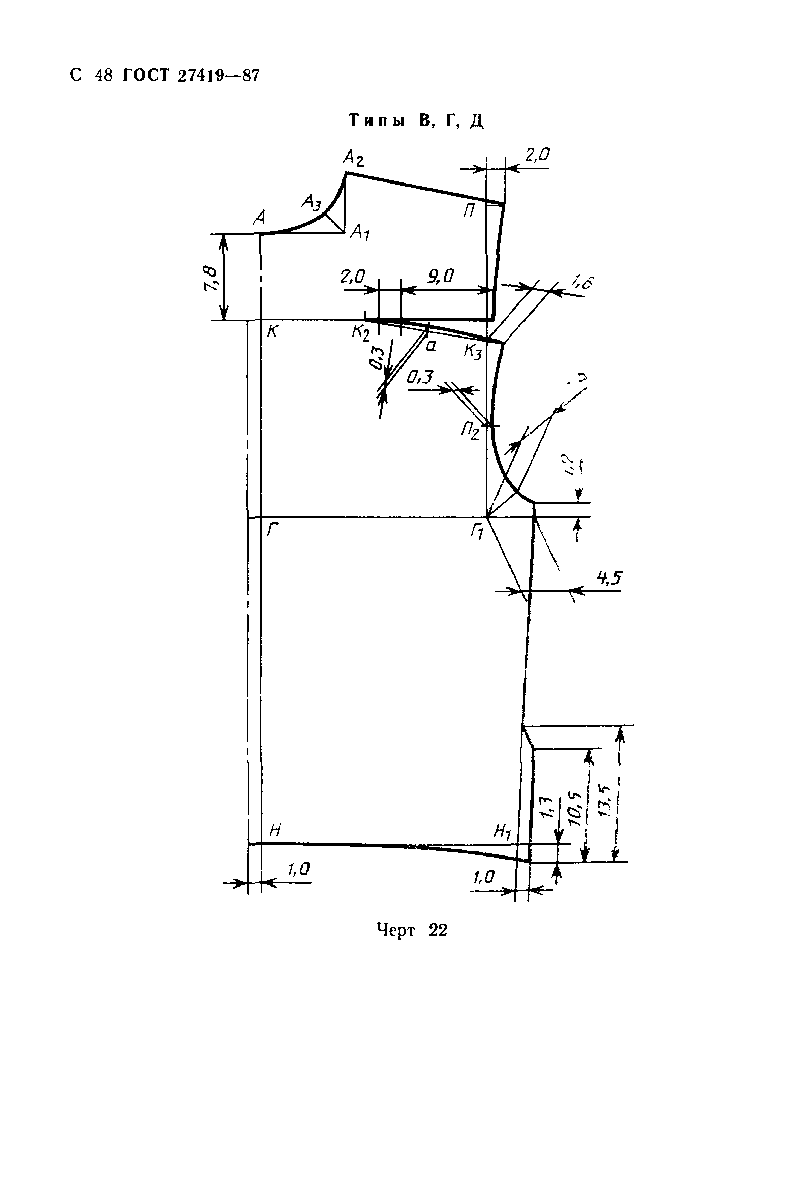
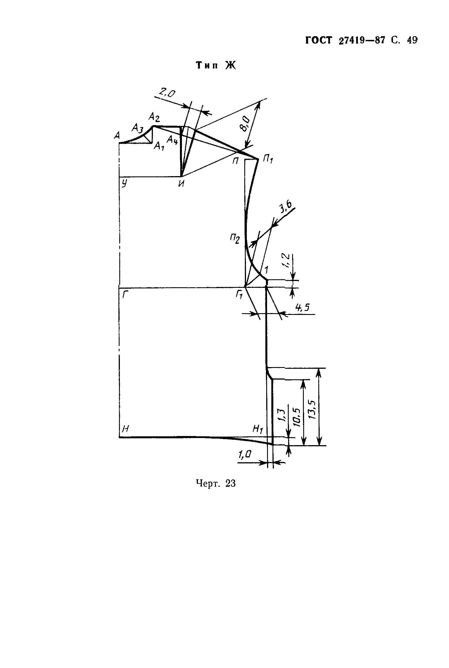
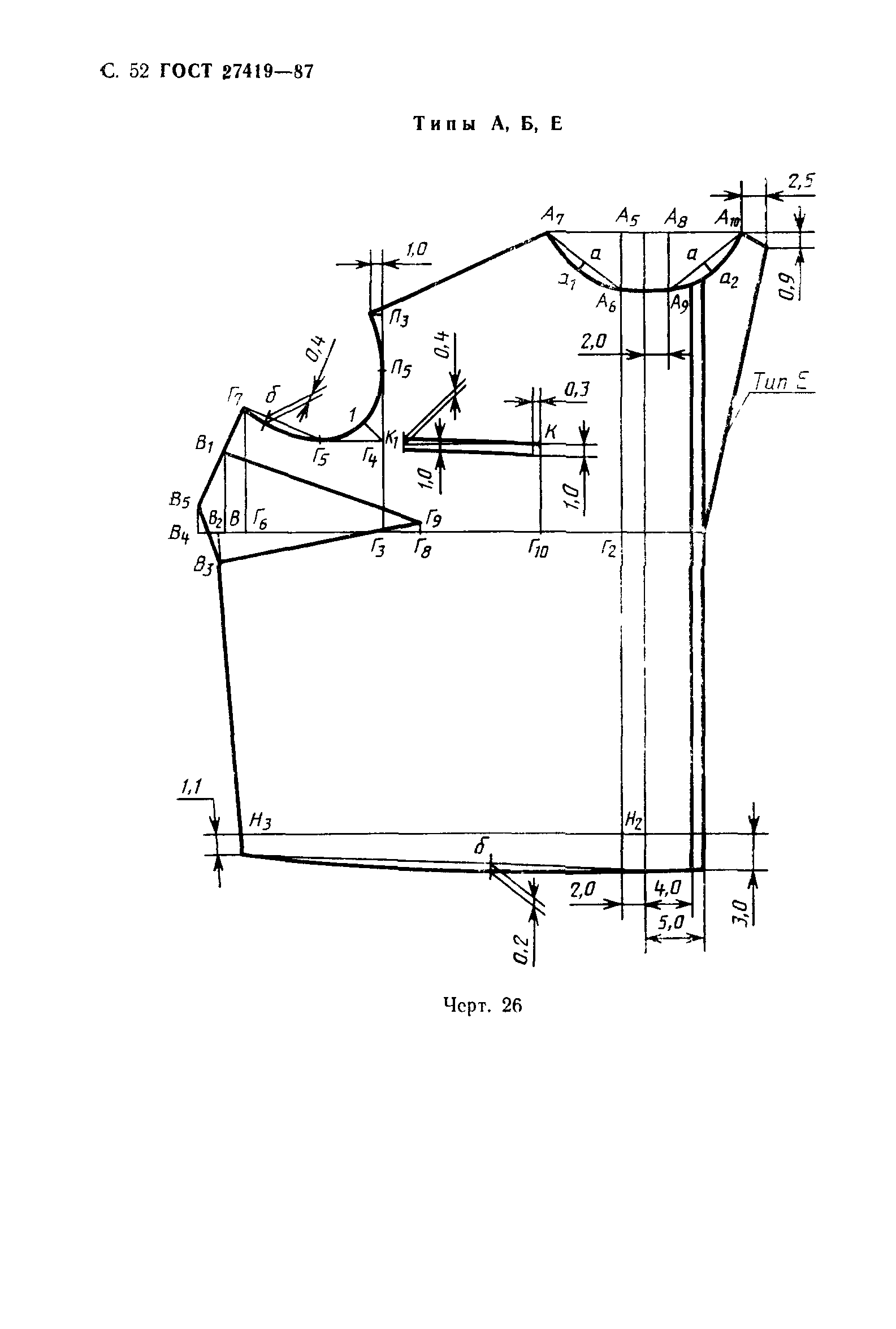
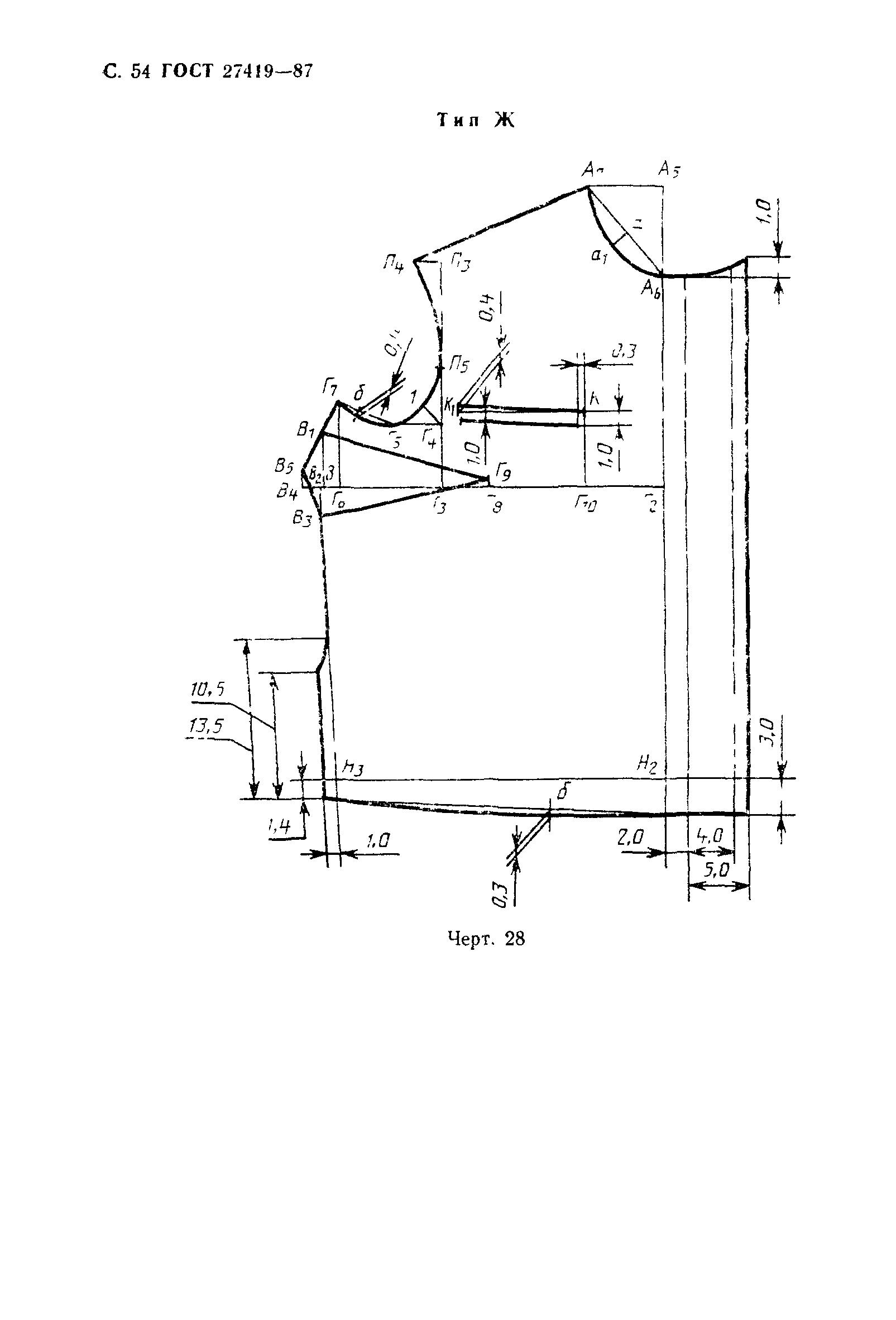
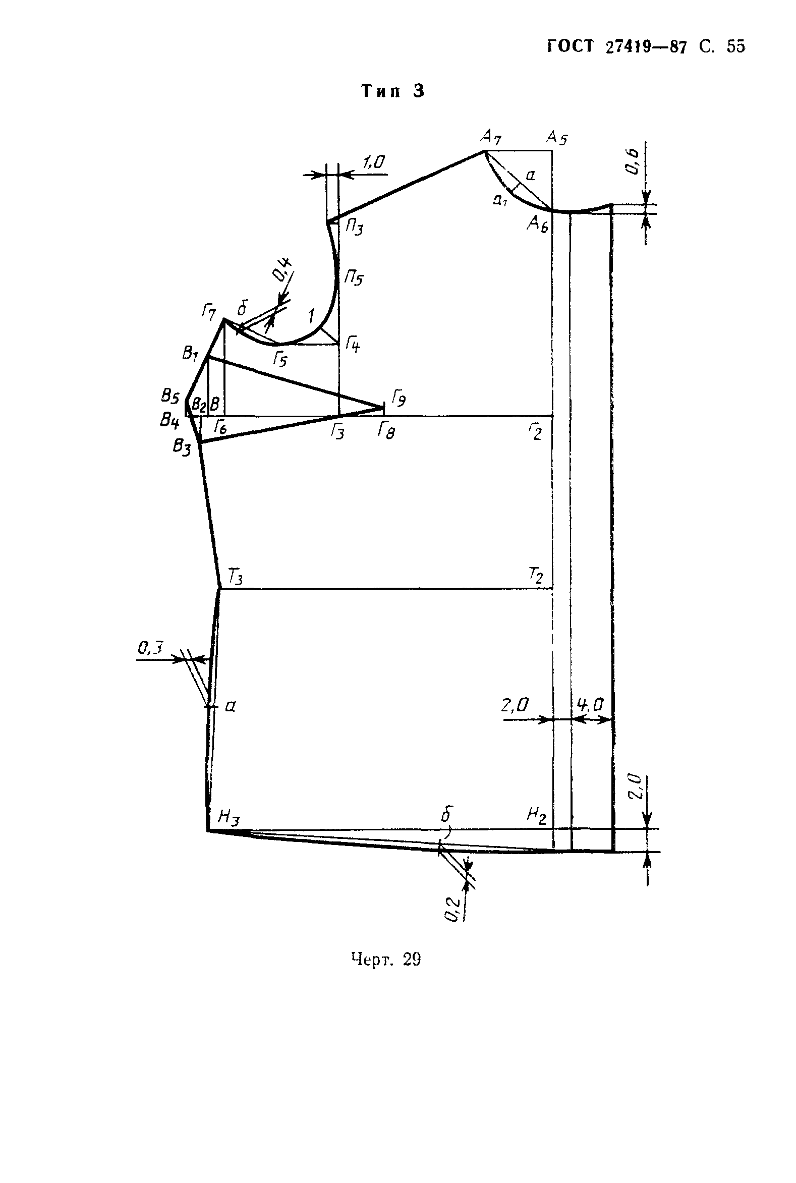
| Оглавление: | 1 Технические требования 2 Приемка 3 Методы контроля 4 Транспортирование и хранение Приложение 1 Особенности обработки Приложение 2 Пособие для построения чертежей лекал рубашек (блузок) Приложение 3 Спецификация деталей рубашек (блузок) Приложение 4 Коды ОКП на рубашки (блузки) |
| Разработан: | Министерство легкой промышленности СССР |
| Утверждён: | 25.09.1987 Государственный комитет СССР по стандартам (USSR National Committee on Standards 3683) |
| Издан: | Издательство стандартов (1988 г. ) |
| Нормативные ссылки: |









































































