Скачать ГОСТ 27446-87 Руды железные, агломераты и окатыши. Метод определения прочности после статического восстановления при низких температурахДата актуализации: 01.01.2021
|
| Обозначение: | ГОСТ 27446-87 |
| Обозначение англ: | GOST 27446-87 |
| Статус: | введен впервые |
| Название рус.: | Руды железные, агломераты и окатыши. Метод определения прочности после статического восстановления при низких температурах |
| Название англ.: | Iron ores, aglomerates and pellets. Method for determination of strength after low-temperature static reduction |
| Дата добавления в базу: | 01.09.2013 |
| Дата актуализации: | 01.01.2021 |
| Дата введения: | 01.01.1989 |
| Область применения: | Стандарт распространяется на железные руды, агломераты и окатыши и устанавливает метод определения прочности руд после восстановления применительно к условиям верхней части доменной печи. |
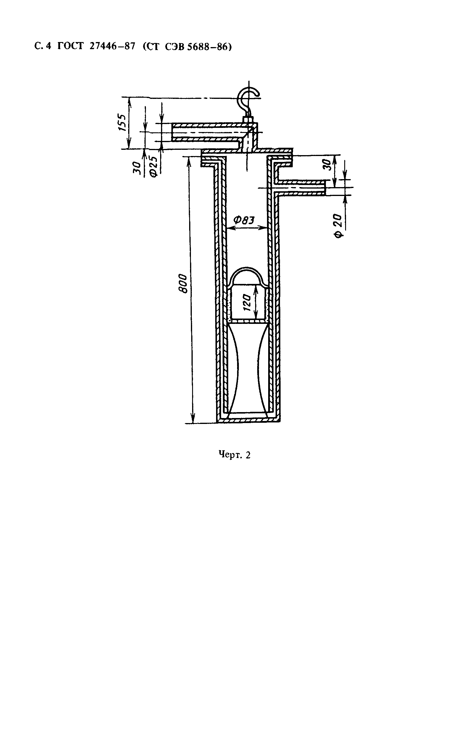
| Оглавление: | 1 Сущность метода 2 Методы отбора и подготовки проб 3 Аппаратура и реактивы 4 Подготовка к испытанию 5 Проведение испытания 6 Обработка результатов испытания |
| Разработан: | Министерство черной металлургии СССР |
| Утверждён: | 22.10.1987 Госстандарт СССР (USSR Gosstandart 3983) |
| Издан: | Издательство стандартов (1987 г. ) |
| Нормативные ссылки: |









