Скачать ГОСТ 27468-92 Оборудование тепломассобменное стационарных дистилляционных опреснительных установок. Общие технические требованияДата актуализации: 01.01.2021
|
| Обозначение: | ГОСТ 27468-92 |
| Обозначение англ: | GOST 27468-92 |
| Статус: | действует |
| Название рус.: | Оборудование тепломассобменное стационарных дистилляционных опреснительных установок. Общие технические требования |
| Название англ.: | Heat and mass exchange equipment of stationary distillation desalting plants. Specifications |
| Дата добавления в базу: | 01.09.2013 |
| Дата актуализации: | 01.01.2021 |
| Дата введения: | 01.01.1993 |
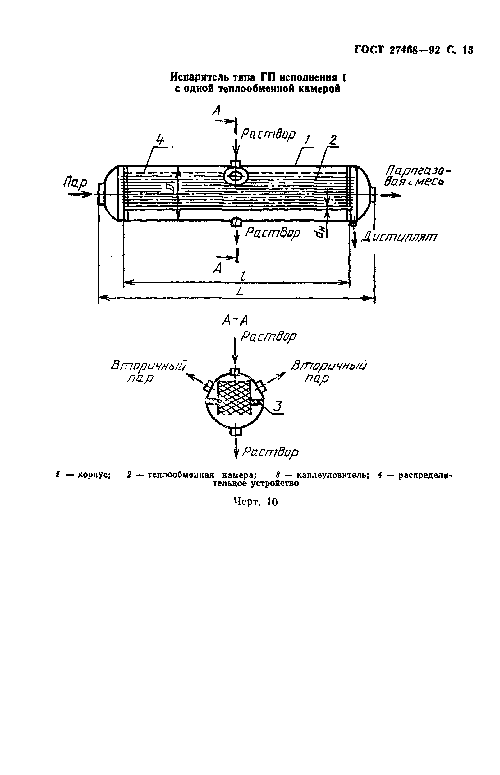
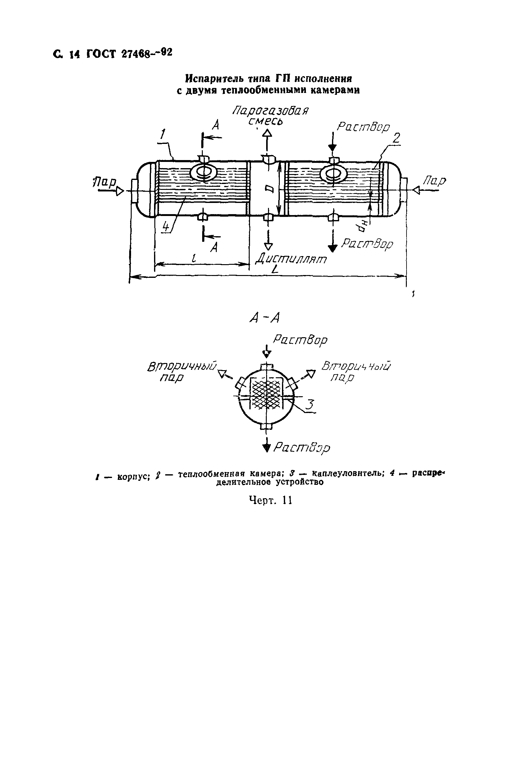
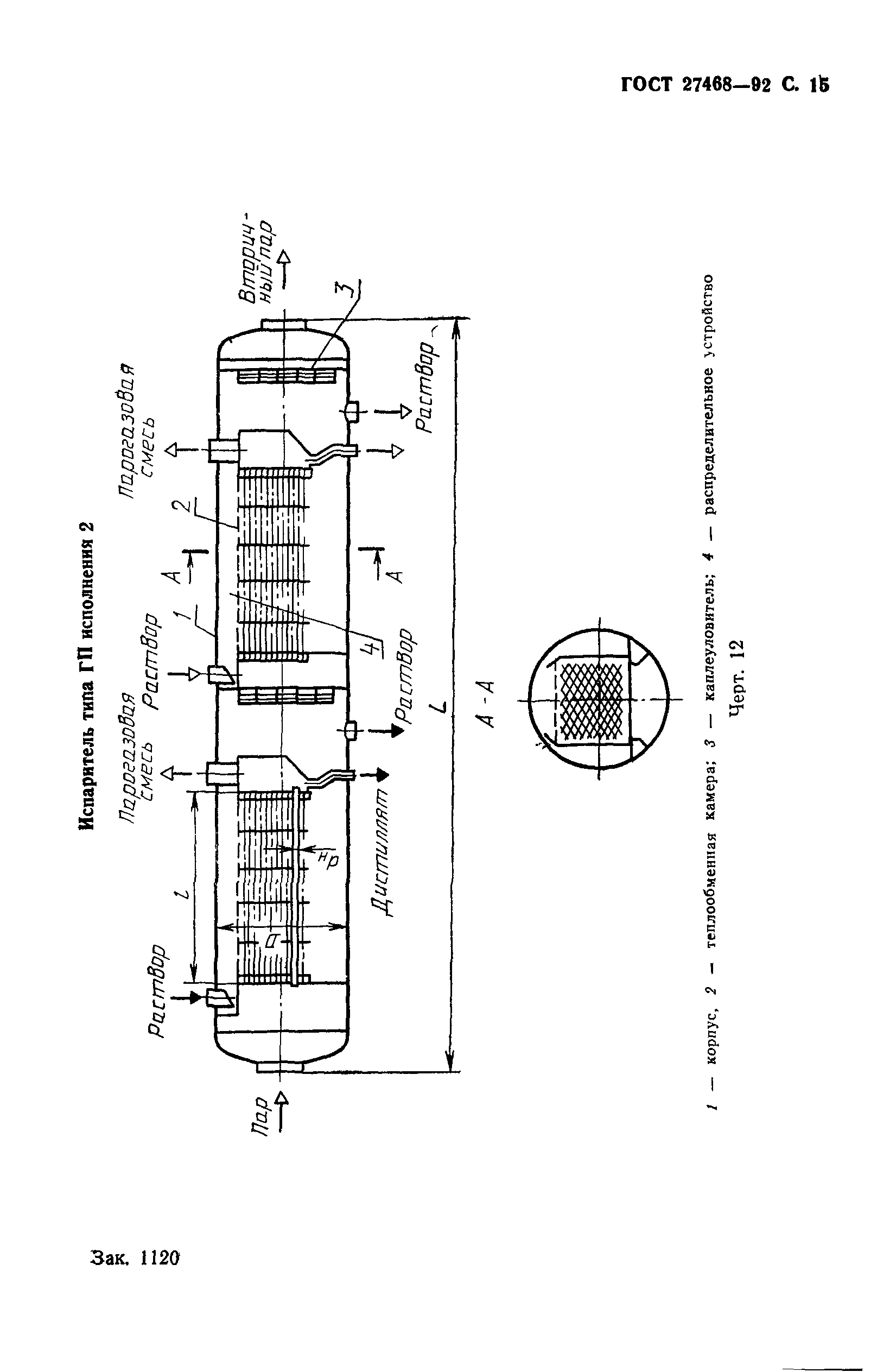
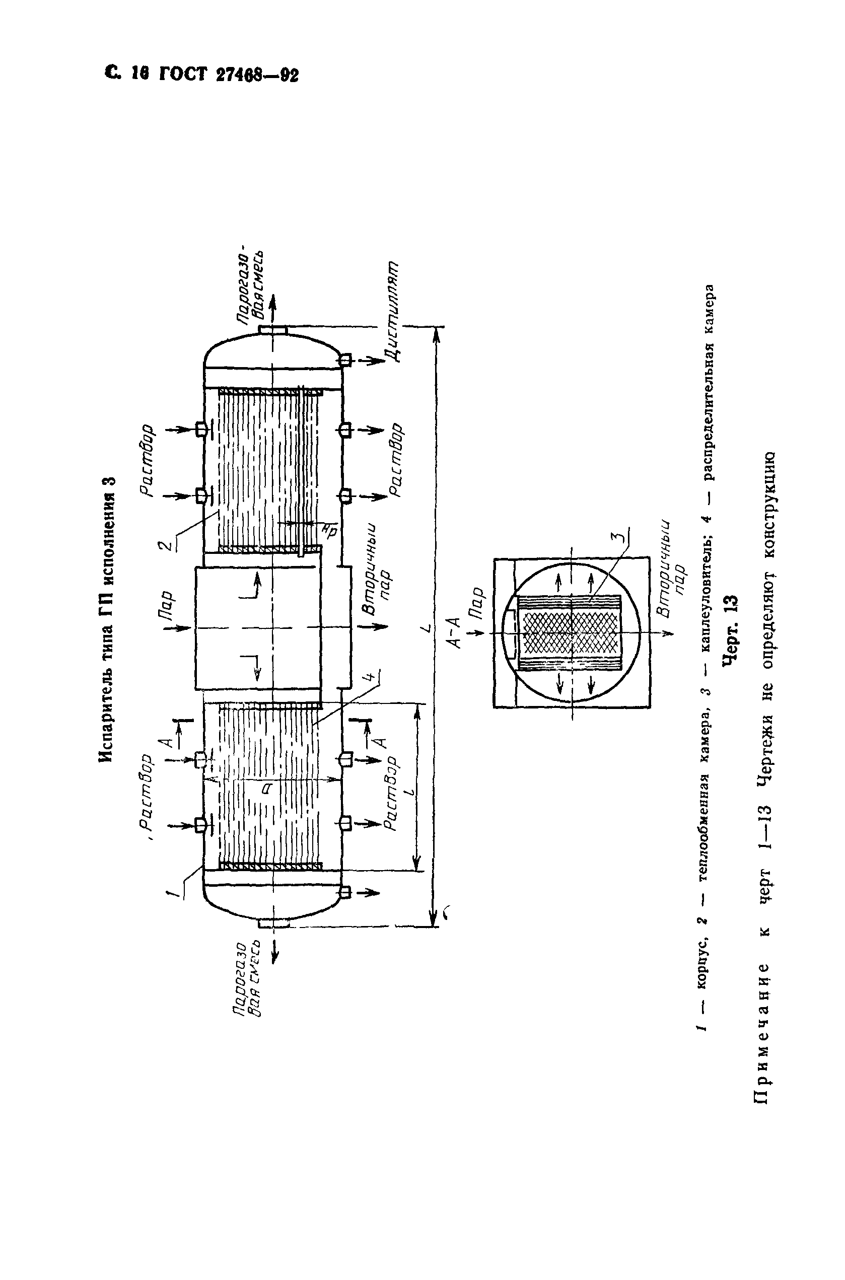
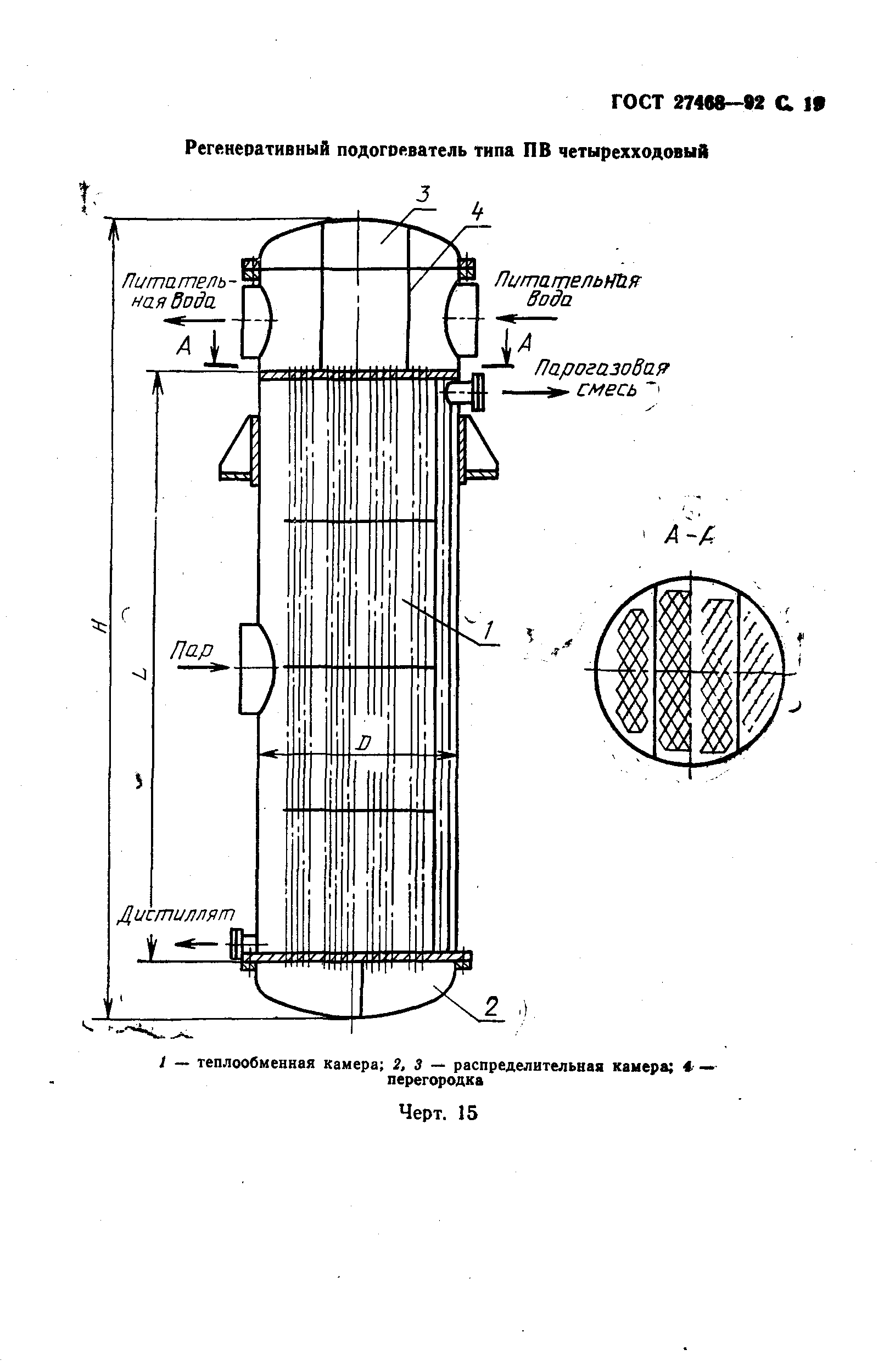
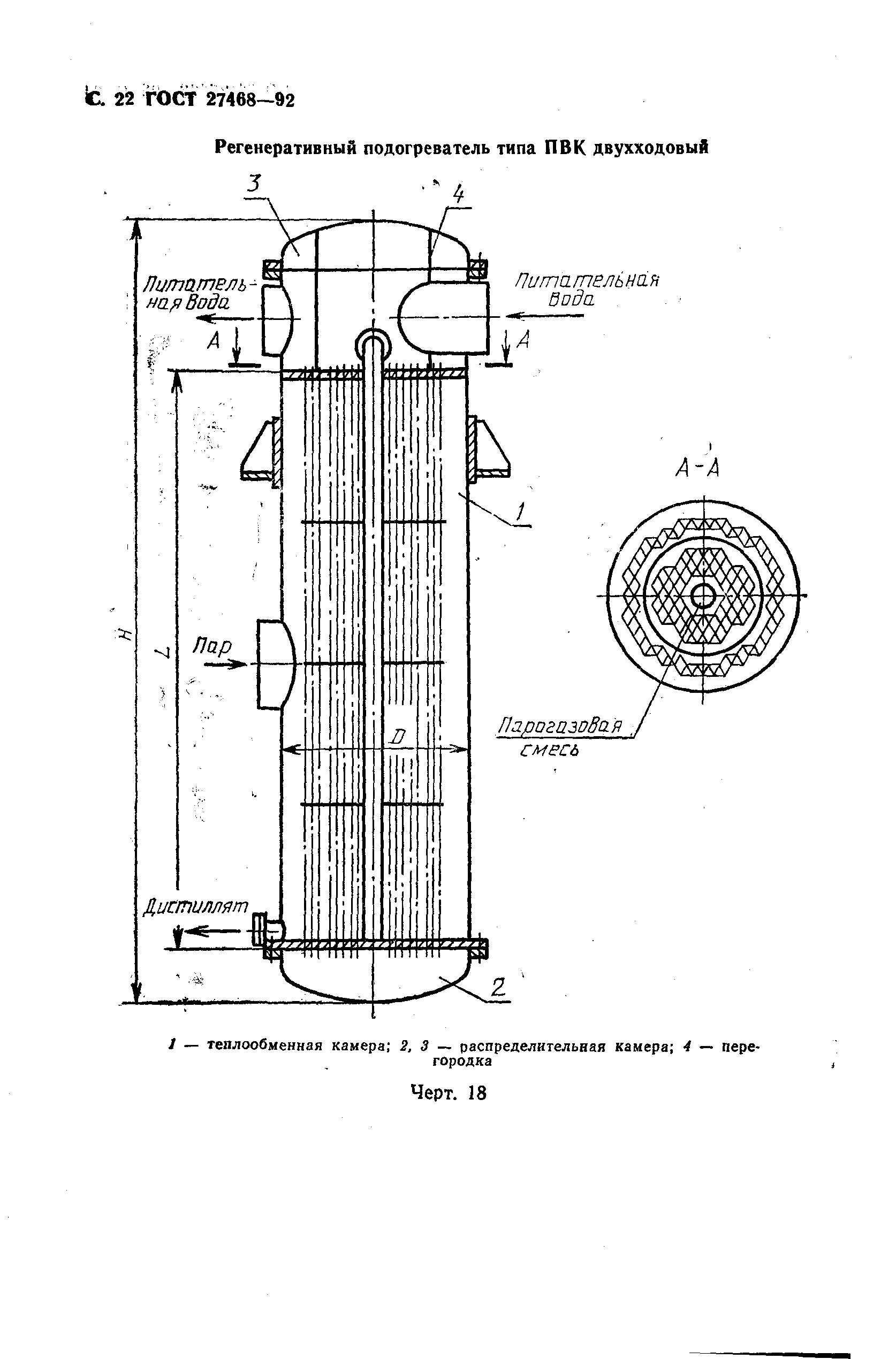
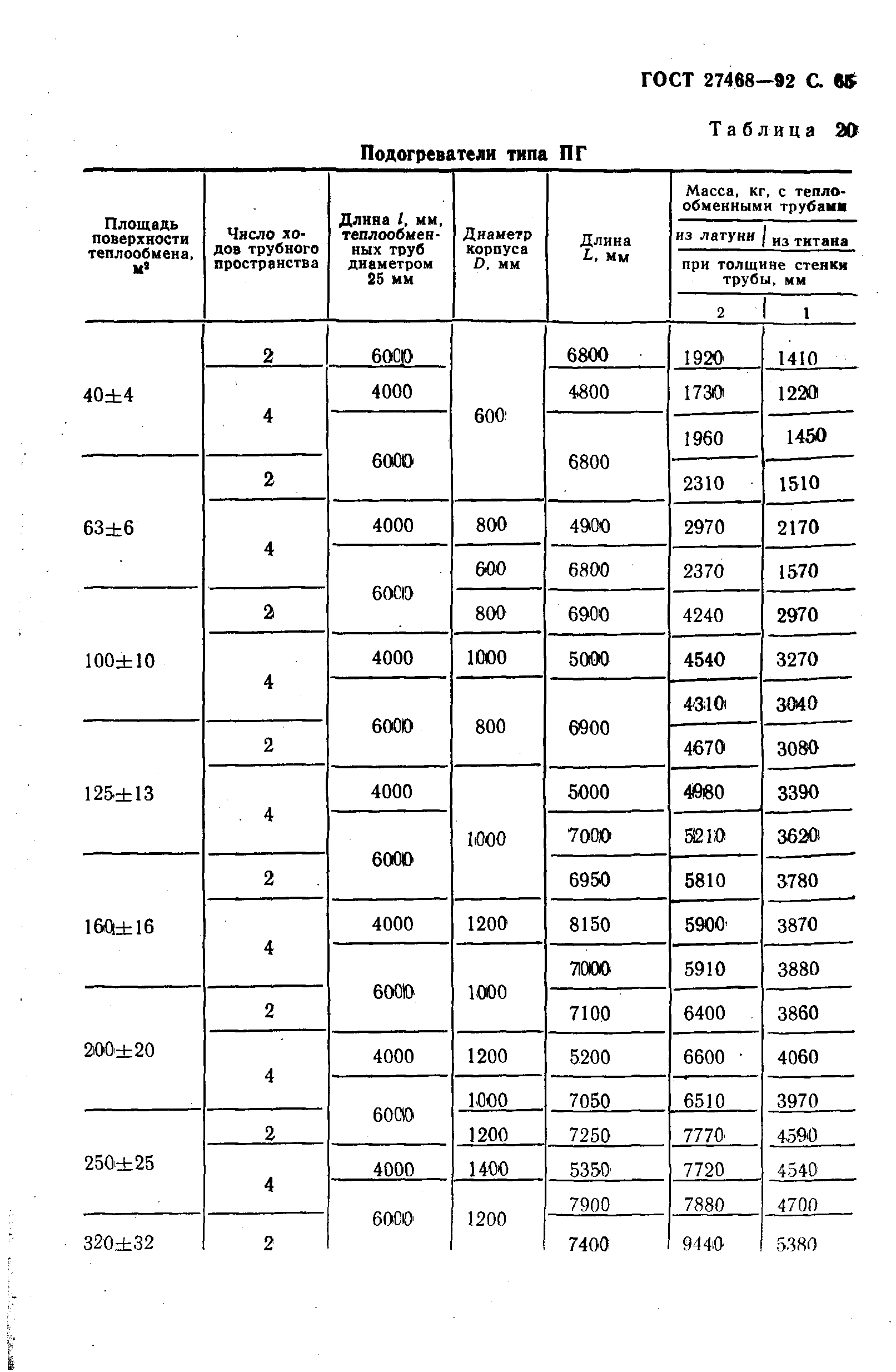
| Оглавление: | 1. Требования назначения 2. Требования надежности 3. Требования стойкости к внешним воздействиям и живучести 4. Требования технического обслуживания и ремонта 5. Требования транспортабельности 6 Требования безопасности 7. Конструктивные требования Приложение 1. Основные параметры и размеры испарителей Приложение 2. Типы, основные параметры и размеры жалюзийных каплеуловителей ДОУ Приложение 3. Основные параметры и размеры регенеративных подогревателей Приложение 4. Основные параметры и размеры вакуумных деаэраторов Приложение 5. Основные параметры и размеры охладителей дистиллята Приложение 6. Основные параметры и размеры конденсаторов Приложение 7. Теплообменные камеры оборудования ДОУ Приложение 8. Протекторы Информационные данные |
| Утверждён: | 22.03.1992 Госстандарт России (Russian Federation Gosstandart 235) |




























































































