Скачать ГОСТ 27505-87 Видеофонограмма на магнитной ленте шириной 25,4 мм. Параметры и размеры, методы измерений, упаковка, маркировкаДата актуализации: 01.01.2021
|
| Обозначение: | ГОСТ 27505-87 |
| Обозначение англ: | GOST 27505-87 |
| Статус: | введен впервые |
| Название рус.: | Видеофонограмма на магнитной ленте шириной 25,4 мм. Параметры и размеры, методы измерений, упаковка, маркировка |
| Название англ.: | Video and sound recording on the 25,4mm tape. Parameters and dimensions. Methods of measurement. Packing and marking |
| Дата добавления в базу: | 01.09.2013 |
| Дата актуализации: | 01.01.2021 |
| Дата введения: | 01.01.1989 |
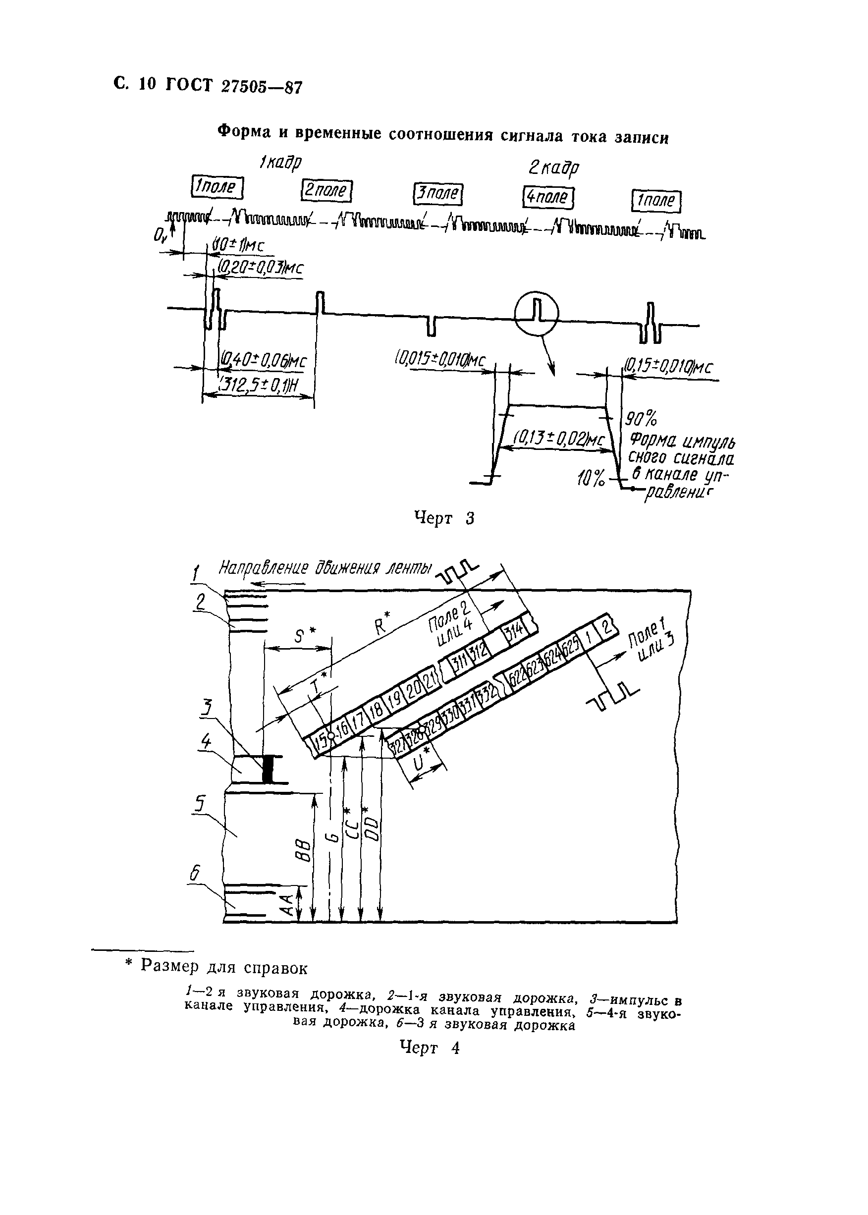
| Область применения: | Стандарт распространяется на видеофонограммы на магнитной ленте шириной 25,4 мм, предназначенные для телевизионного вещания и выполненные по способу наклонно-строчной записи при скорости движения ленты 239,8 мм/с. |
| Оглавление: | 1 Параметры и размеры 2 Методы измерений 3 Упаковка 4 Маркировка Приложение 1 (обязательное) Требования к сигналам записи на видеофонограмме Приложение 2 (рекомендуемое) Перечень аппаратуры и оборудования, используемых при измерениях |
| Разработан: | Гостелерадио СССР |
| Утверждён: | 11.12.1987 Государственный комитет СССР по стандартам (USSR National Committee on Standards 4456) |
| Издан: | Издательство стандартов (1988 г. ) |
| Список изменений: |
|
| Нормативные ссылки: |


















Текстовое изменение № 1 от 01.01.1990


