Скачать ГОСТ 27527-87 Костюмы для военнослужащих военно-морского флота в районах с жарким климатом. Технические условияДата актуализации: 01.01.2021
|
| Обозначение: | ГОСТ 27527-87 |
| Обозначение англ: | GOST 27527-87 |
| Статус: | введен впервые |
| Название рус.: | Костюмы для военнослужащих военно-морского флота в районах с жарким климатом. Технические условия |
| Название англ.: | Navy military men's uniform intended for hot climatic regions. Specifications |
| Дата добавления в базу: | 01.09.2013 |
| Дата актуализации: | 01.01.2021 |
| Дата введения: | 01.01.1989 |
| Область применения: | Стандарт распространяется на костюмы из хлопчатобумажной ткани, предназначенные для военнослужащих Военно-Морского Флота при плавании и несения береговой службы в районах с жарким климатом. |
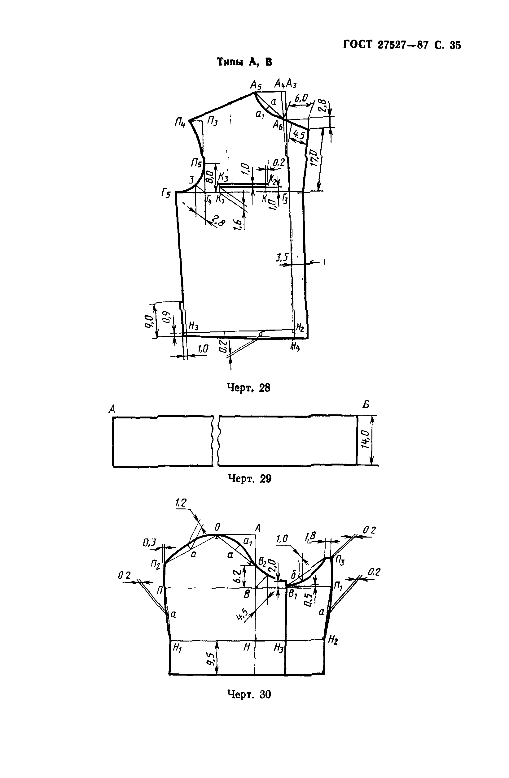
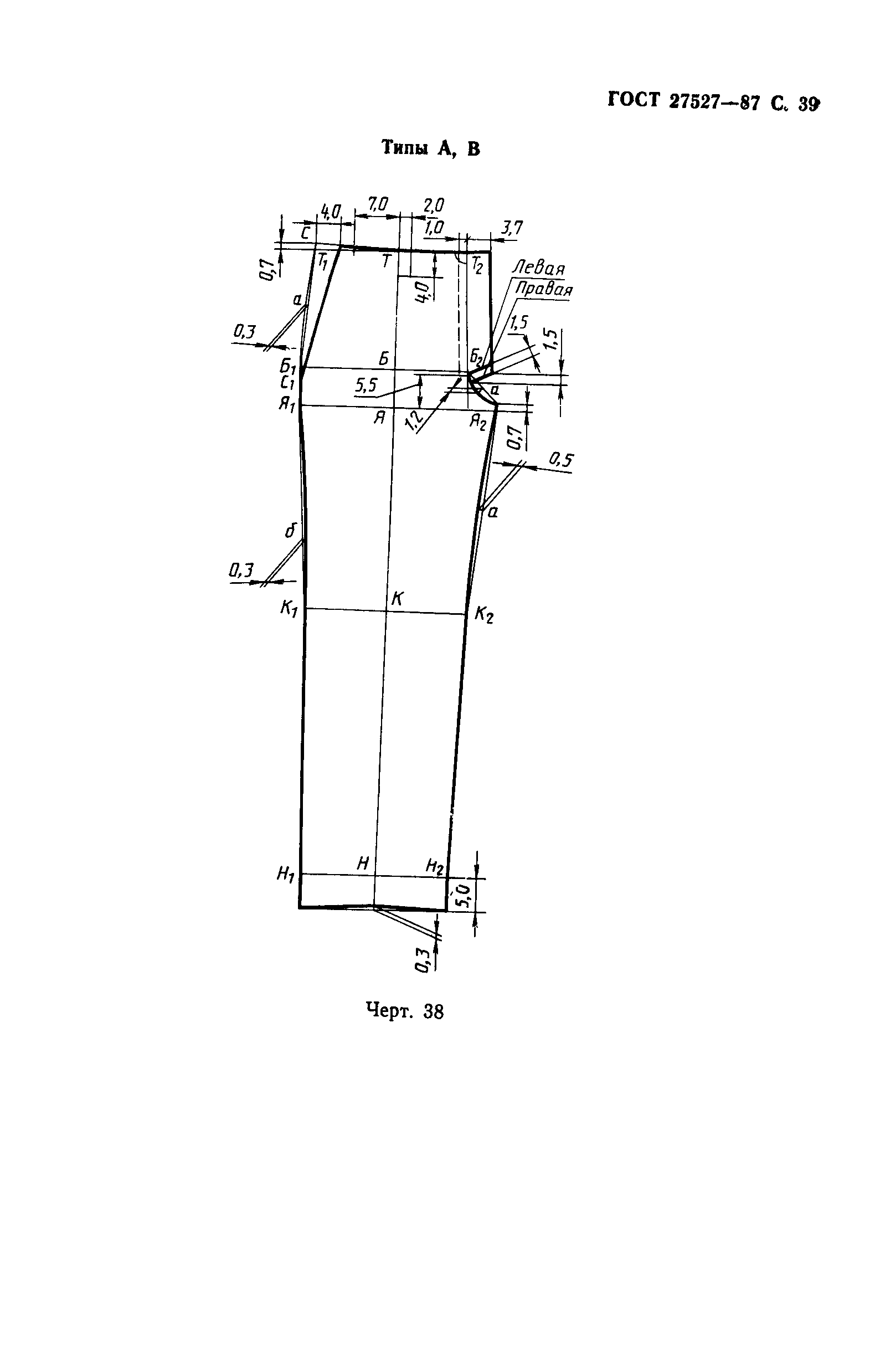
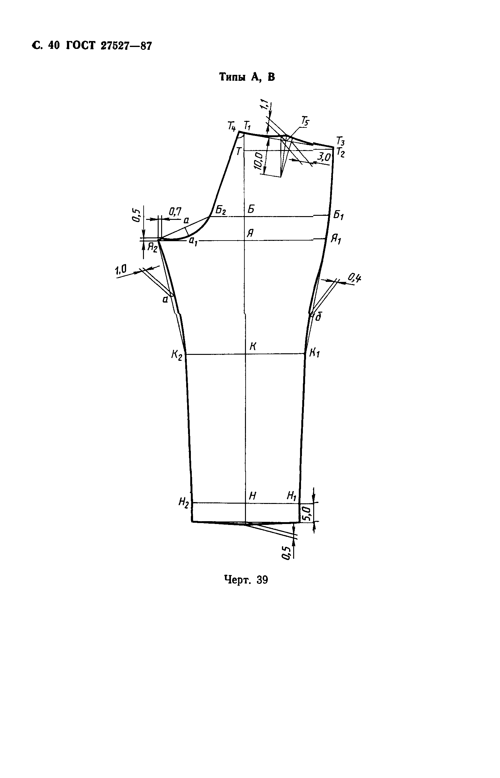
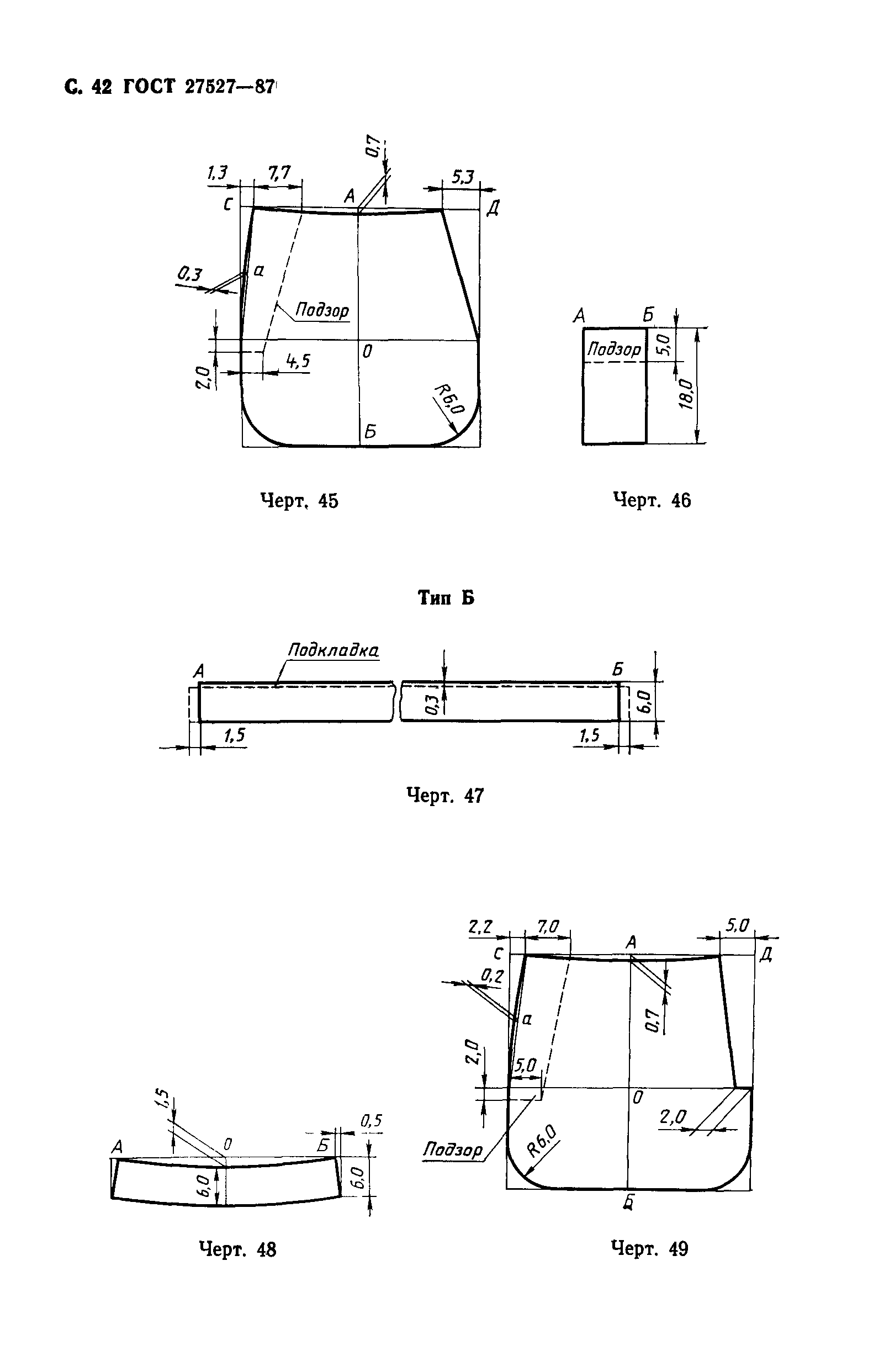
| Оглавление: | 1 Технические требования 2 Приемка 3 Методы контроля 4 Транспортирование и хранение Приложение 1 Особенности обработки костюмов Приложение 2 Пособие для построения чертежей лекал костюмов Приложение 3 Спецификация деталей костюмов Приложение 4 Коды ОКП на костюмы |
| Разработан: | Министерство легкой промышленности СССР |
| Утверждён: | 17.12.1987 Госстандарт СССР (USSR Gosstandart 4600) |
| Издан: | Издательство стандартов (1988 г. ) |
| Нормативные ссылки: |















































