Скачать ГОСТ 27619-88 Мундир для военнослужащих срочной службы. Технические условияДата актуализации: 01.01.2021
|
| Обозначение: | ГОСТ 27619-88 |
| Обозначение англ: | GOST 27619-88 |
| Статус: | введен впервые |
| Название рус.: | Мундир для военнослужащих срочной службы. Технические условия |
| Название англ.: | Uniform for military men of urgent service. Specifications |
| Дата добавления в базу: | 01.09.2013 |
| Дата актуализации: | 01.01.2021 |
| Дата введения: | 01.07.1989 |
| Область применения: | Стандарт распространяется на открытые мундиры для военнослужащих срочной службы и курсантов военных училищ Советской Армии, Комитета государственной безопасности СССР и Министерства внутренних дел СССР. |
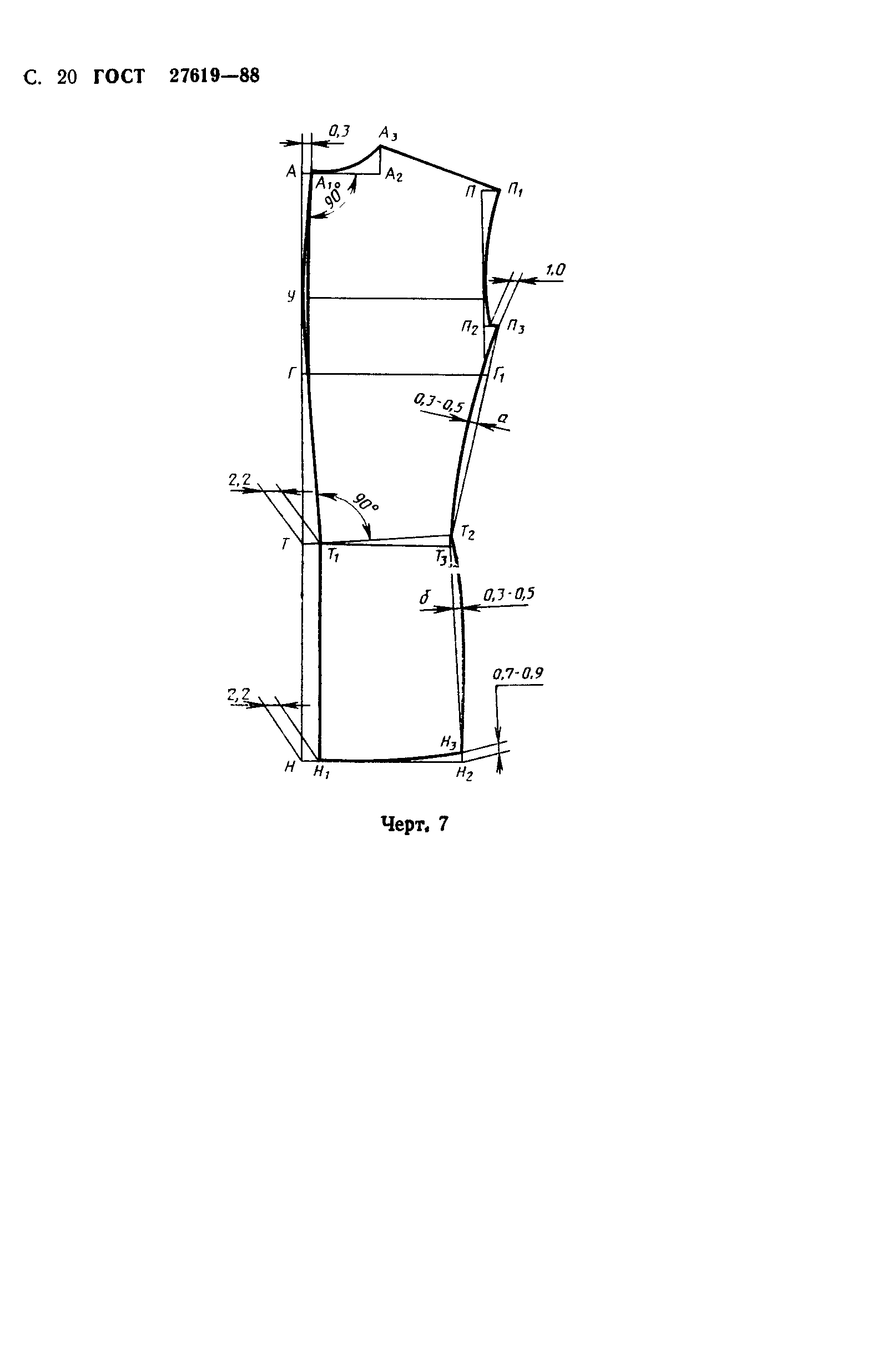
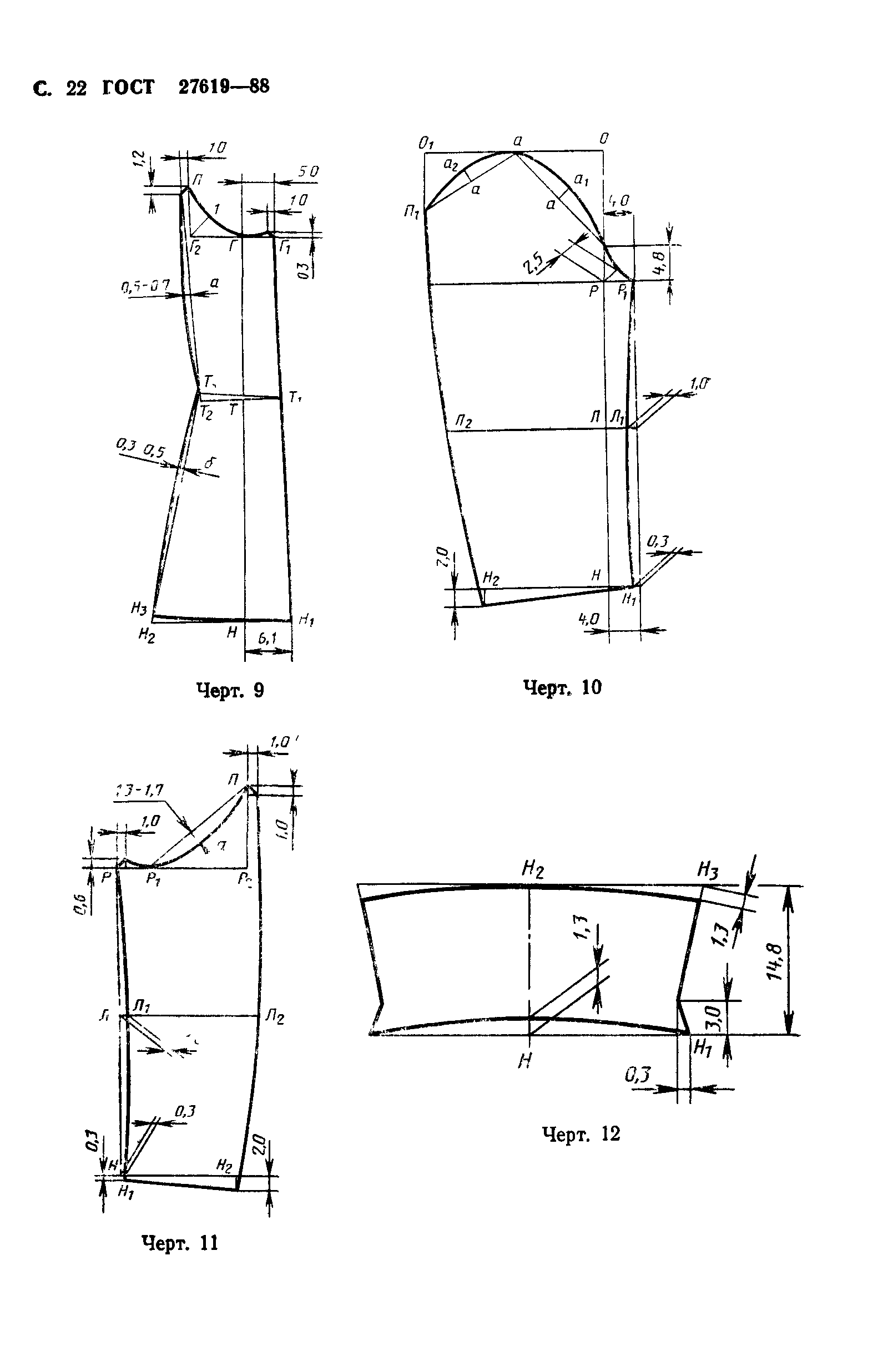
| Оглавление: | 1 Технические требования 2 Приемка 3 Методы контроля 4 Транспортирование и хранение Приложение 1 (справочное) Спецификация деталей мундира Приложение 2 (рекомендуемое) Пособие для построения чертежей лекал деталей мундира Приложение 3 (рекомендуемое) Особенности обработки Приложение 4 (справочное) Коды ОКП на мундиры |
| Разработан: | Министерство легкой промышленности СССР |
| Утверждён: | 17.03.1988 Государственный комитет СССР по стандартам (USSR National Committee on Standards 533) |
| Издан: | Издательство стандартов (1988 г. ) |
| Нормативные ссылки: |
|


































