Скачать ГОСТ 27713-88 Литейное оборудование. Машины для литья в кокиль. Присоединительные размеры крепления кокилейДата актуализации: 01.01.2021
|
| Обозначение: | ГОСТ 27713-88 |
| Обозначение англ: | GOST 27713-88 |
| Статус: | введен впервые |
| Название рус.: | Литейное оборудование. Машины для литья в кокиль. Присоединительные размеры крепления кокилей |
| Название англ.: | Foundry equipment. Machines for casting in chill moulds. Mounting dimensions for chill fixing |
| Дата добавления в базу: | 01.09.2013 |
| Дата актуализации: | 01.01.2021 |
| Дата введения: | 01.07.1989 |
| Область применения: | Стандарт распространяется на вновь проектируемые и модернизируемые машины для литья в кокиль с вертикальным, горизонтальным и комбинированным разъемом по ГОСТ 9451-84, предназначенные для серийного производства. |
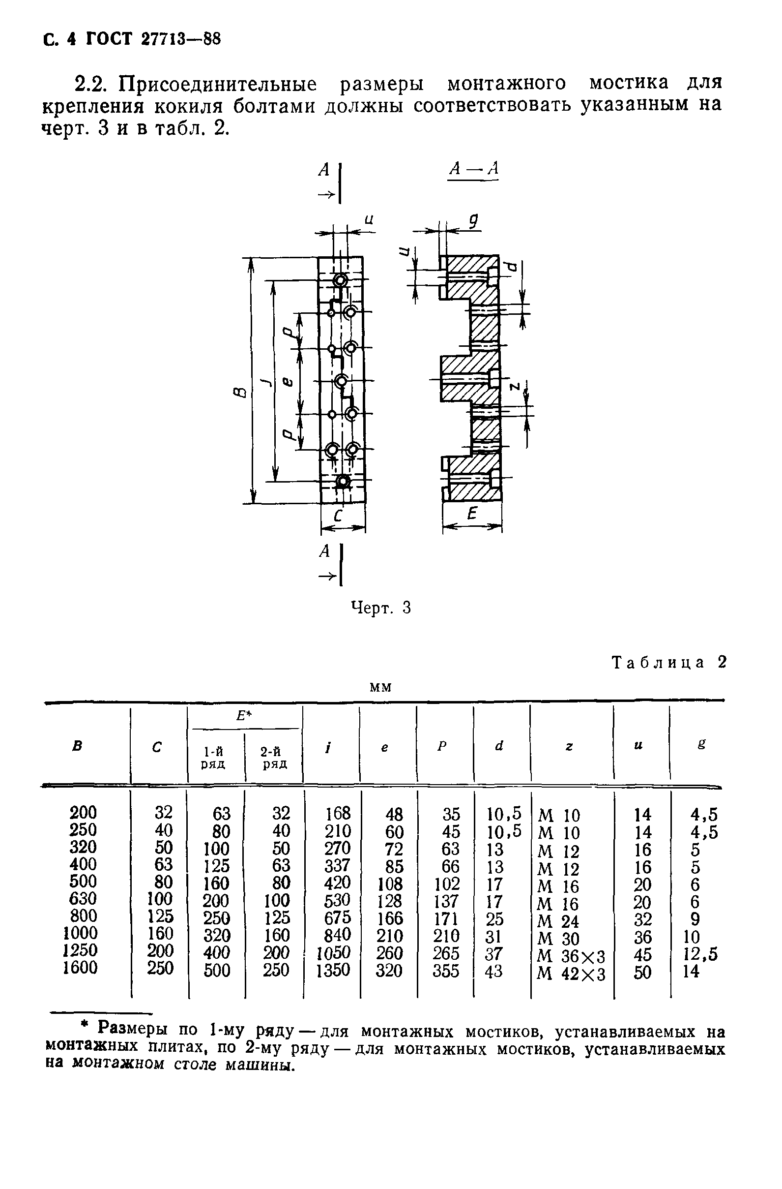
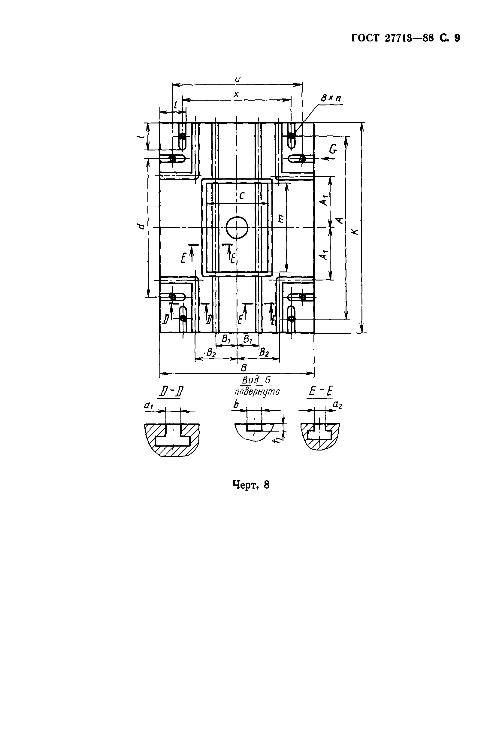
| Оглавление: | 1 Общие положения 2 Присоединительные размеры монтажных плит и мостиков для исполнения 1 3 Присоединительные размеры крепления кокилей для исполнения 2 Приложение 1 Схемы крепления кокилей на монтажных мостиках Приложение 2 Пояснения терминов |
| Разработан: | Министерство станкостроительной и инструментальной промышленности СССР |
| Утверждён: | 24.05.1988 Государственный комитет СССР по стандартам (USSR National Committee on Standards 1441) |
| Издан: | Издательство стандартов (1988 г. ) |
| Нормативные ссылки: |














