Скачать ГОСТ 27804-88 Изделия замочно-скобяные. Механизмы цилиндровые для врезных замков. Технические условияДата актуализации: 01.01.2021
|
| Обозначение: | ГОСТ 27804-88 |
| Обозначение англ: | GOST 27804-88 |
| Статус: | отменен в рф |
| Название рус.: | Изделия замочно-скобяные. Механизмы цилиндровые для врезных замков. Технические условия |
| Название англ.: | Locks and building hardware. Cylinders for mortise locks. Specifications |
| Дата добавления в базу: | 01.10.2014 |
| Дата актуализации: | 01.01.2021 |
| Дата введения: | 01.07.1989 |
| Дата окончания срока действия: | 01.07.1995 |
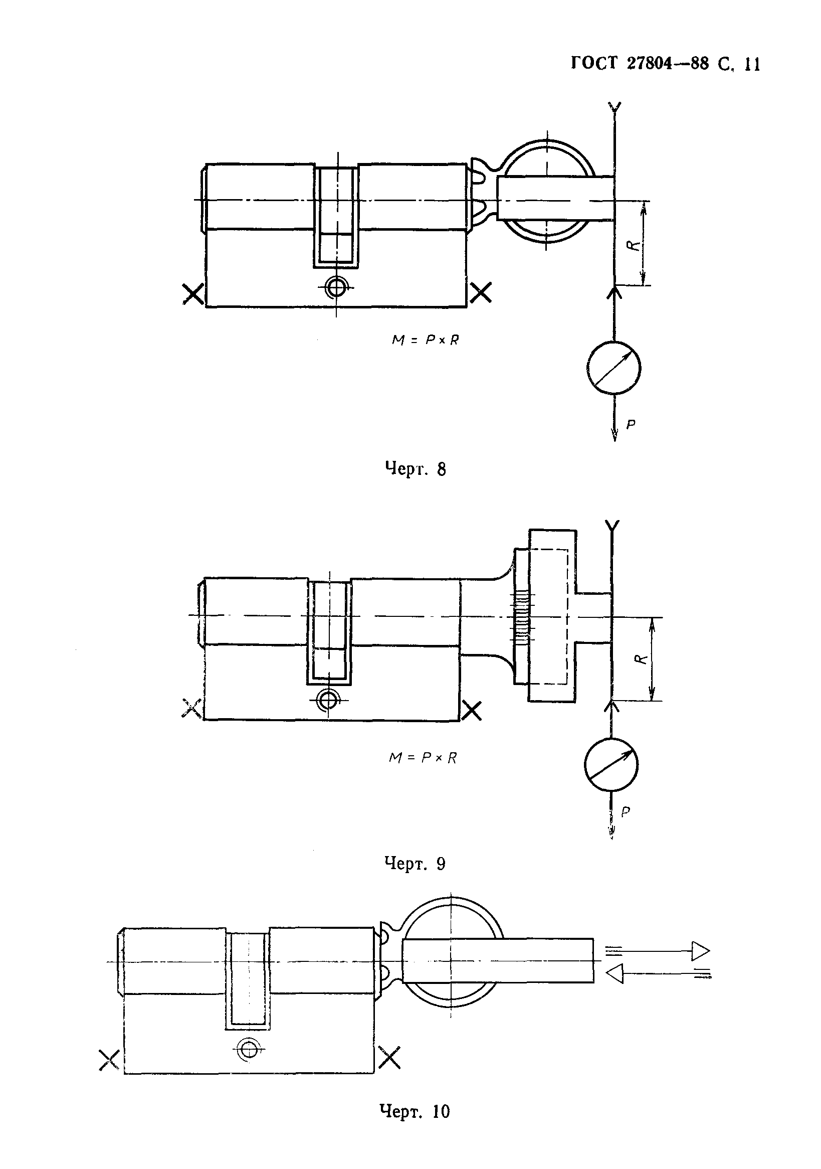
| Оглавление: | 1. Классификация 2. Термины и определения 3. Основные размеры 4. Технические требования 5. Правила приемки 6. Методы контроля 7. Маркировка, упаковка, транспортирование и хранение Приложение 1 Примеры применения цилиндровых механизмов |
| Разработан: | Министерство промышленности строительных материалов СССР |
| Утверждён: | 18.07.1988 Государственный строительный комитет СССР (USSR National Construction Committee 140) |
| Издан: | Издательство стандартов (1988 г. ) |
| Нормативные ссылки: |
|


















