Скачать ГОСТ 28043-89 Персональные электронные вычислительные машины. Интерфейс накопителей на жестких несменных магнитных дисках с подвижными головками. Общие требованияДата актуализации: 01.01.2021
|
| Обозначение: | ГОСТ 28043-89 |
| Обозначение англ: | GOST 28043-89 |
| Статус: | введен впервые |
| Название рус.: | Персональные электронные вычислительные машины. Интерфейс накопителей на жестких несменных магнитных дисках с подвижными головками. Общие требования |
| Название англ.: | Personal computers. Removable heads hard fixed disk drive interface. General requirements |
| Дата добавления в базу: | 01.09.2013 |
| Дата актуализации: | 01.01.2021 |
| Дата введения: | 01.07.1990 |
| Область применения: | Стандарт распространяется на интерфейс накопителей на жестких несменных магнитных дисках с подвижными головками со скоростью передачи данных 625 кбайт.с в степени минус 1, используемый в персональных вычислительных машинах общего и специального назначения. Стандарт устанавливает общие требования к интерфейсу, состав и требования к функциональным характеристикам сигналов и линий связи между накопителем, контроллером и источниками электропитания. |
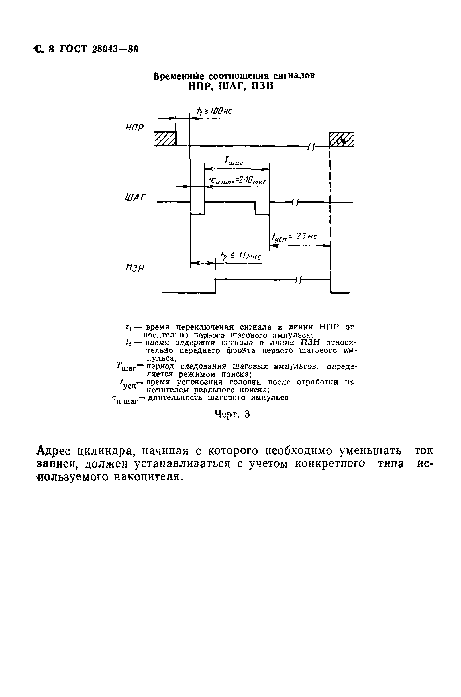
| Оглавление: | 1 Общие положения 2 Требования по составу сигналов интерфейса 3 Требования к линиям электропитания 4 Функциональное назначение сигналов интерфейса 5 Требования к конструктивной реализации линий интерфейса Приложение (справочное) Пояснения терминов, применяемых в стандарте |
| Утверждён: | 15.03.1989 Государственный комитет СССР по стандартам (USSR National Committee on Standards 476) |
| Издан: | Стандартинформ (1989 г. ) |














