Скачать ГОСТ 28045-89 Протяжки сборные для десятишлицевых отверстий с прямобочным профилем с центрированием по внутреннему диаметру комбинированные переменного резания двухпроходные. Конструкция

Дата актуализации: 01.01.2021

ГОСТ 28045-89

Протяжки сборные для десятишлицевых отверстий с прямобочным профилем с центрированием по внутреннему диаметру комбинированные переменного резания двухпроходные. Конструкция

Обозначение: ГОСТ 28045-89
Обозначение англ: GOST 28045-89
Статус:введен впервые
Название рус.:Протяжки сборные для десятишлицевых отверстий с прямобочным профилем с центрированием по внутреннему диаметру комбинированные переменного резания двухпроходные. Конструкция
Название англ.:Internal broaches for straight splines based at internal diameter dauble pass combined type. Construction
Дата добавления в базу:01.09.2013
Дата актуализации:01.01.2021
Дата введения:01.07.1990
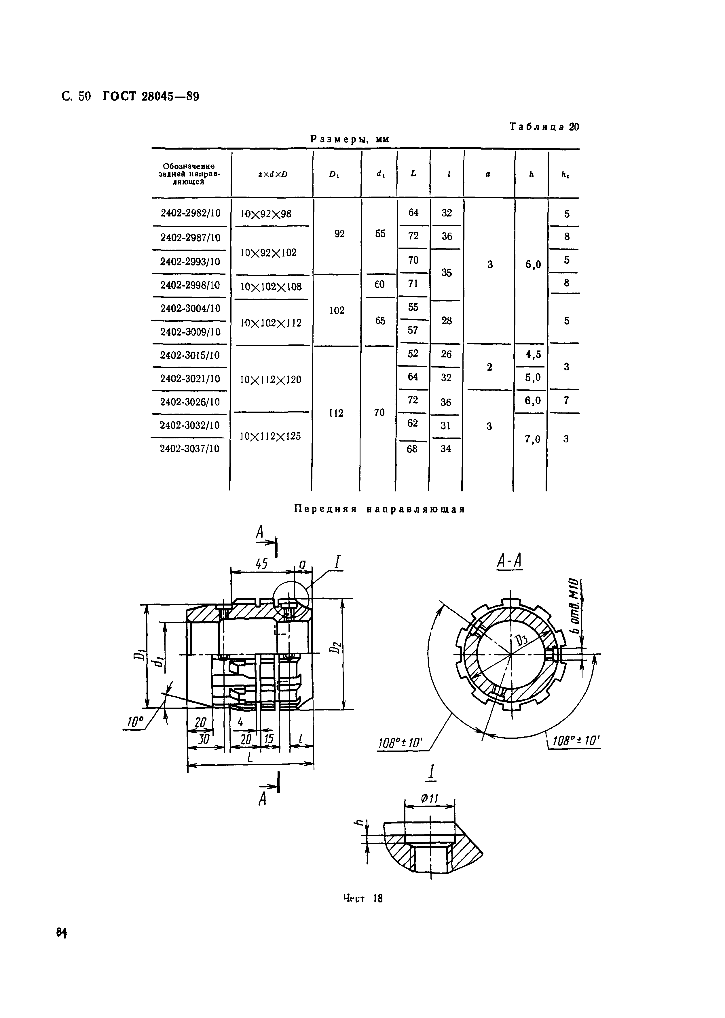
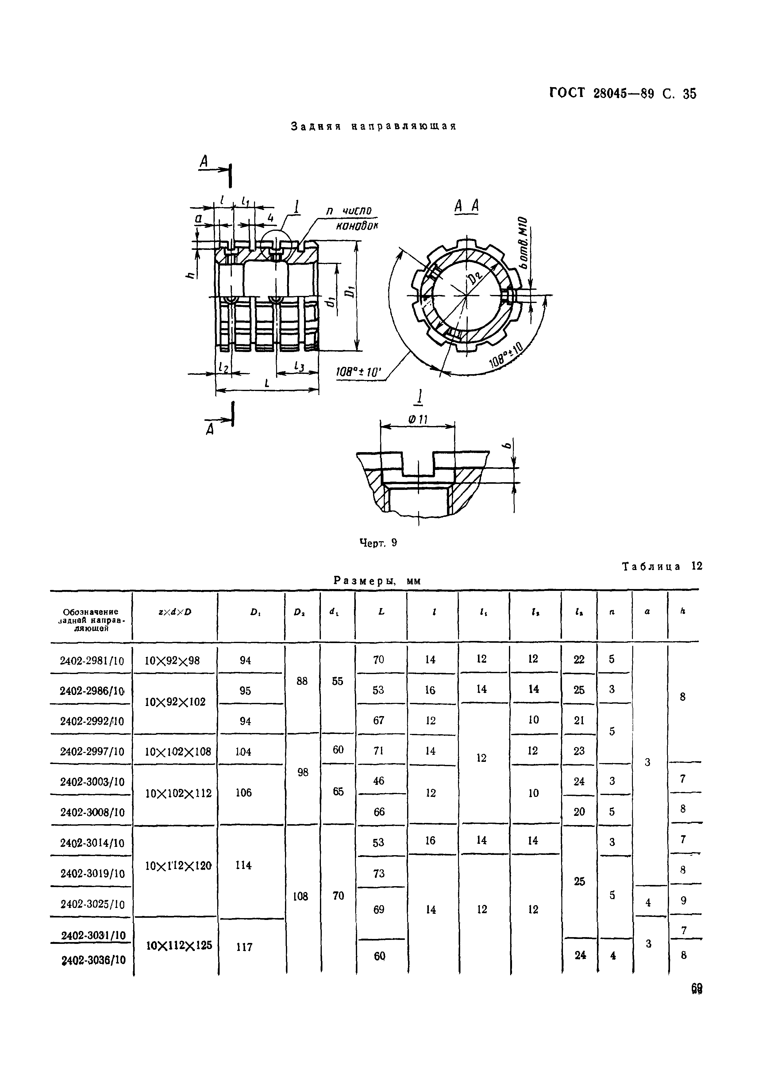
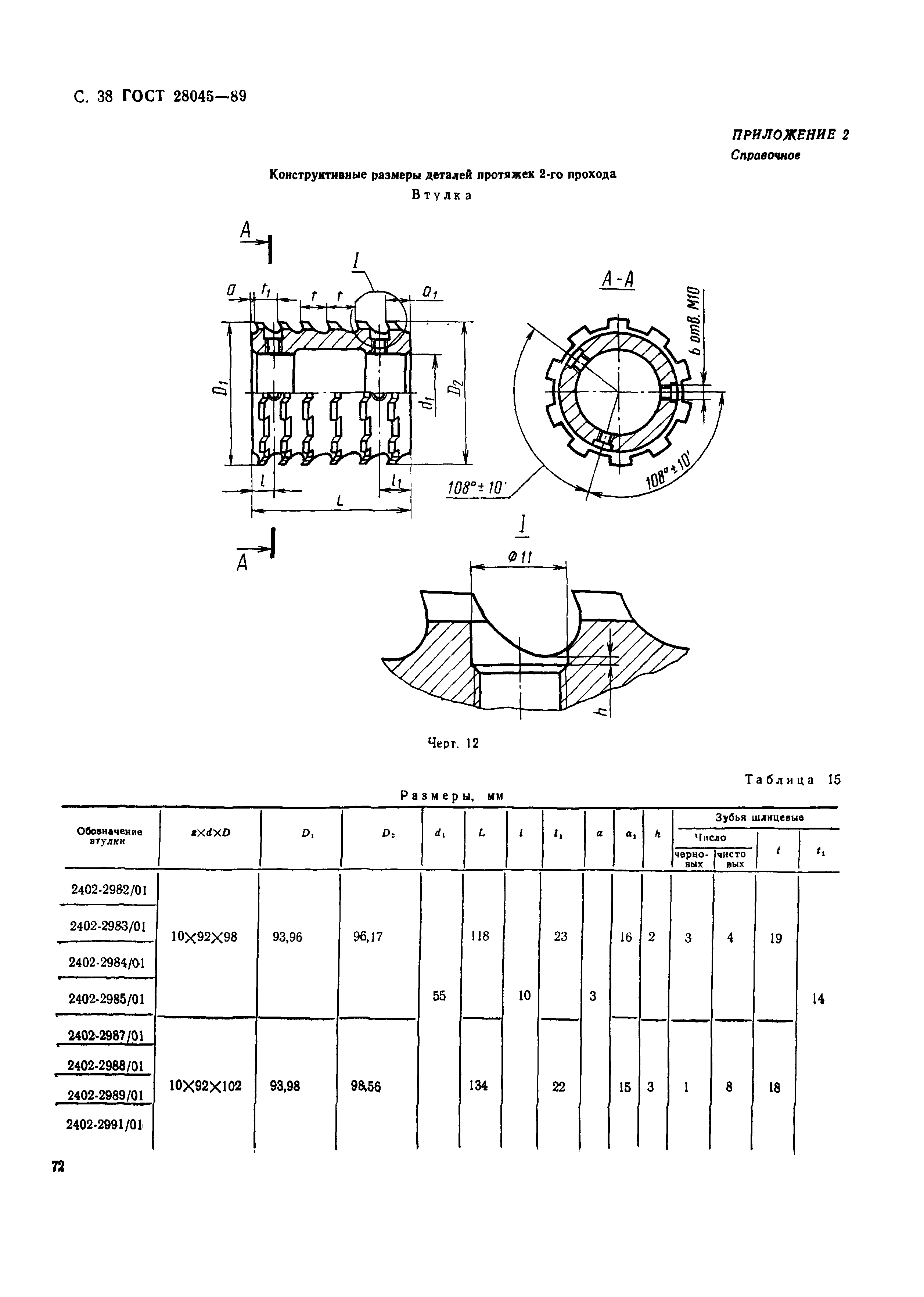
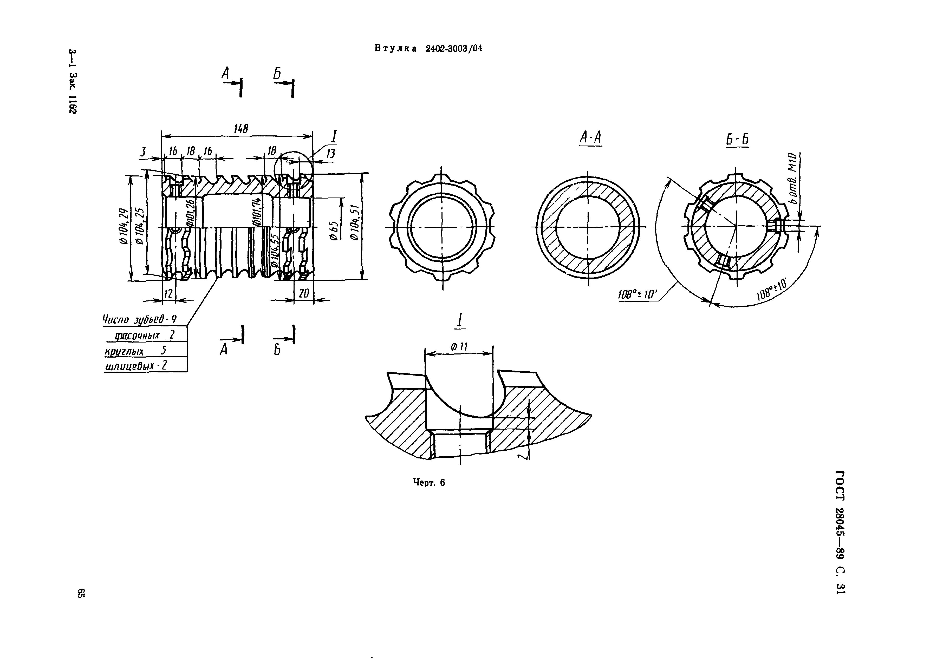
Область применения:Стандарт распространяется на комбинированные двухпроходные сборные протяжки переменного резания универсального назначения, предназначенные для обработки десятишлицевых втулок с прямобочным профилем и допусками по ГОСТ 1139 с центрированием по внутреннему диаметру.
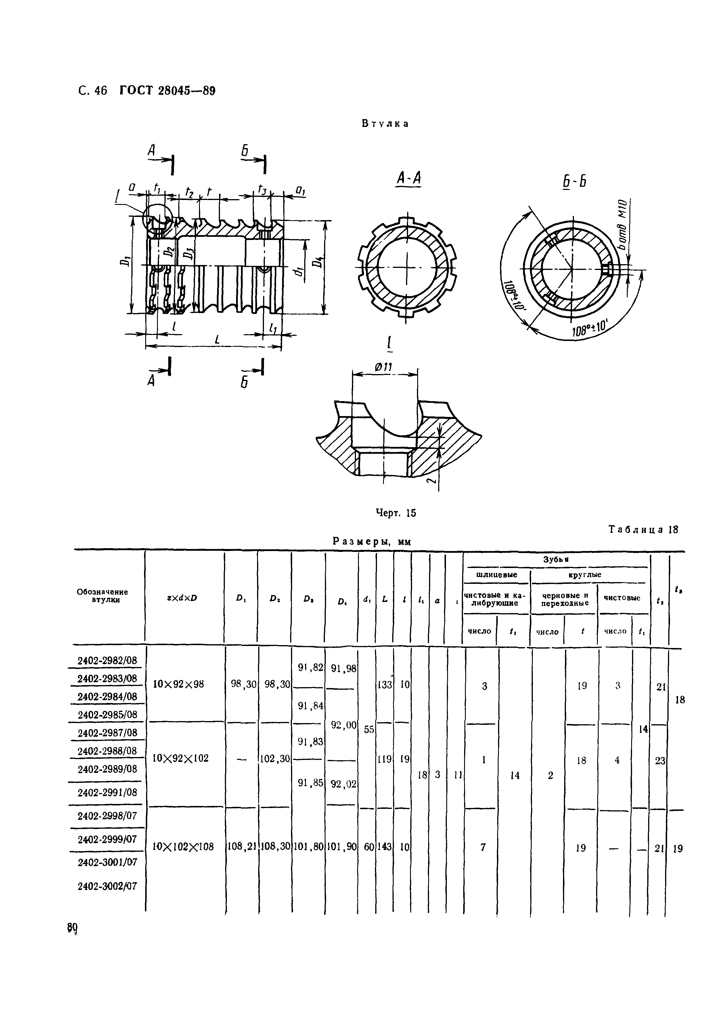
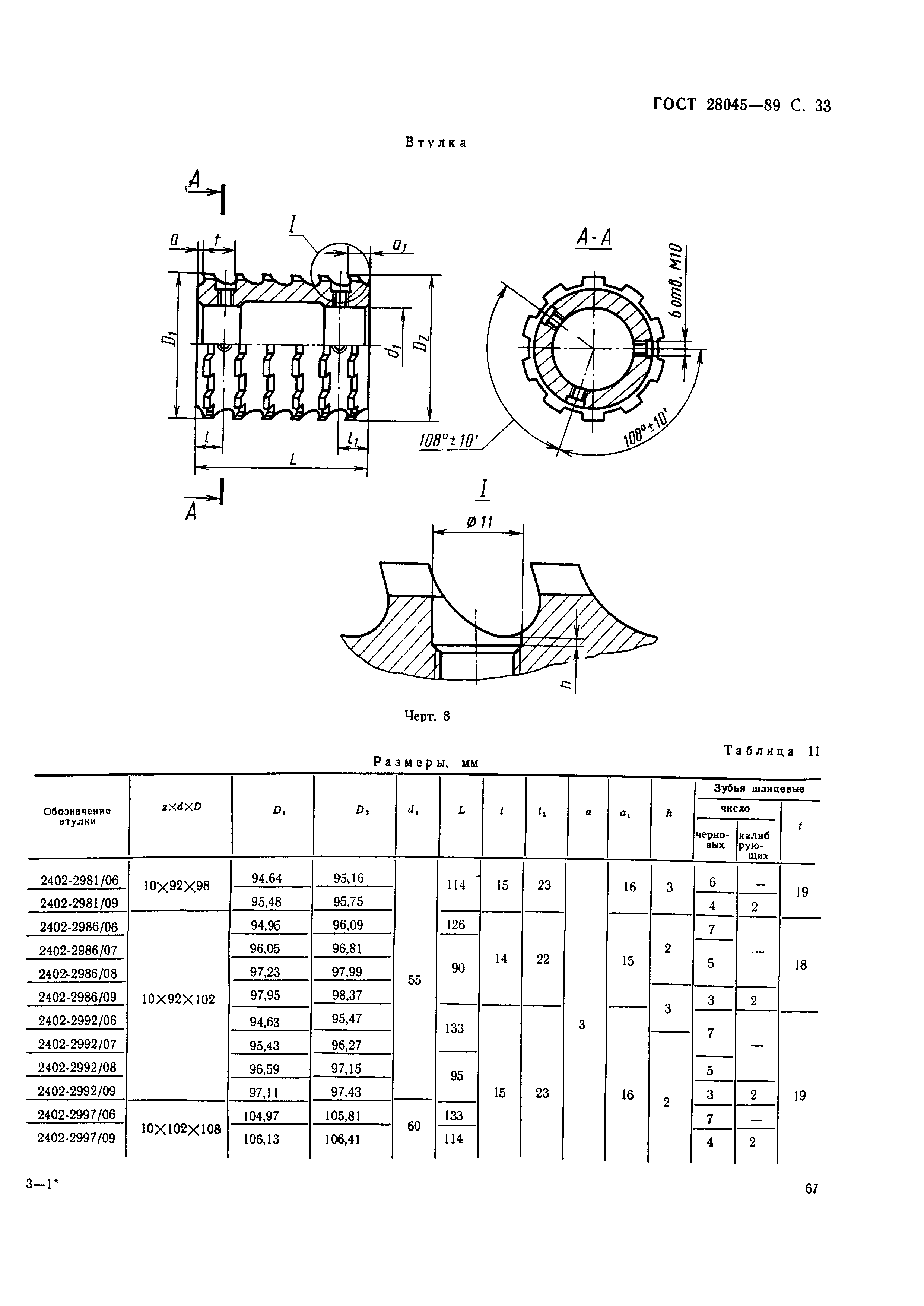
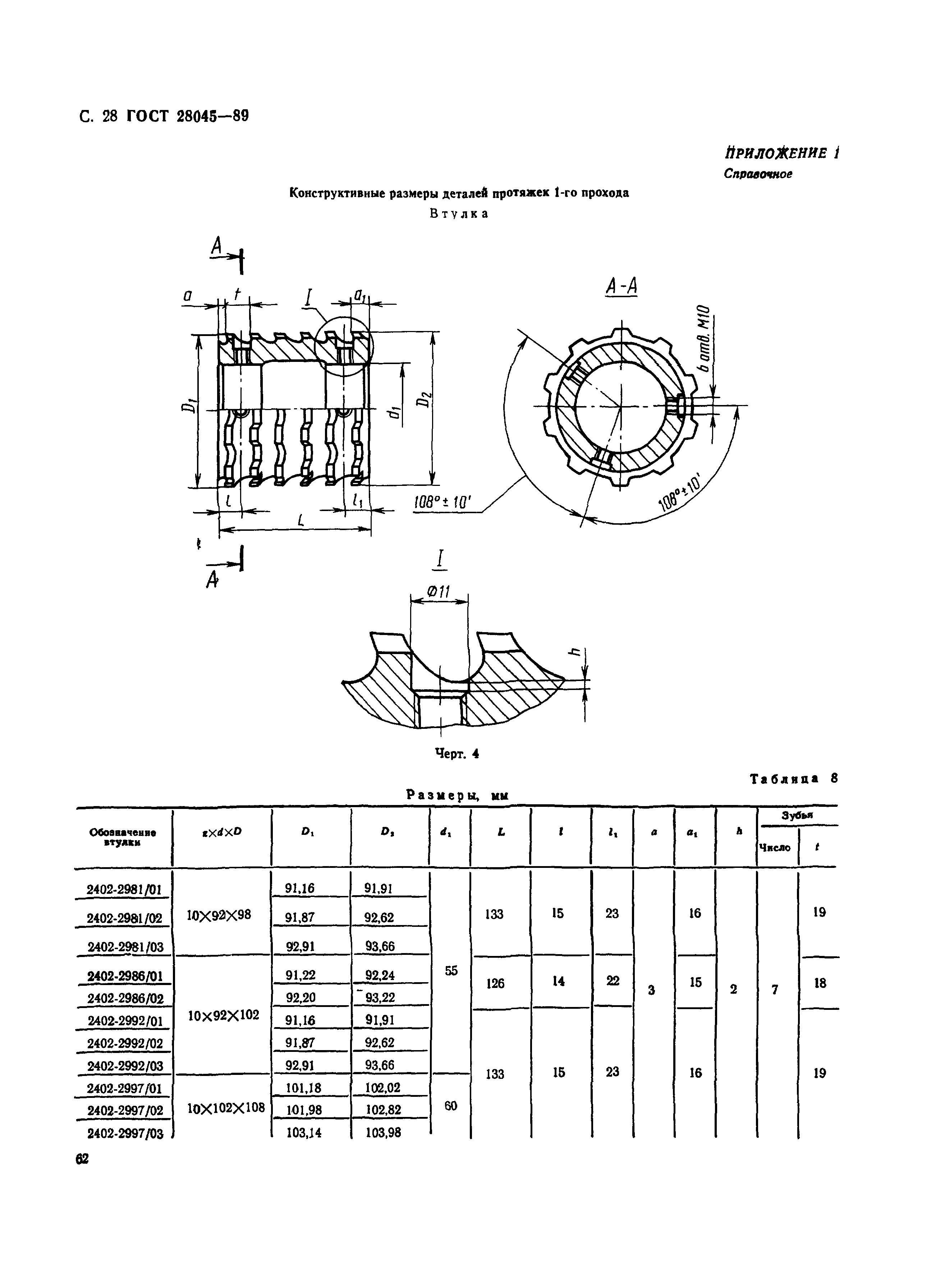
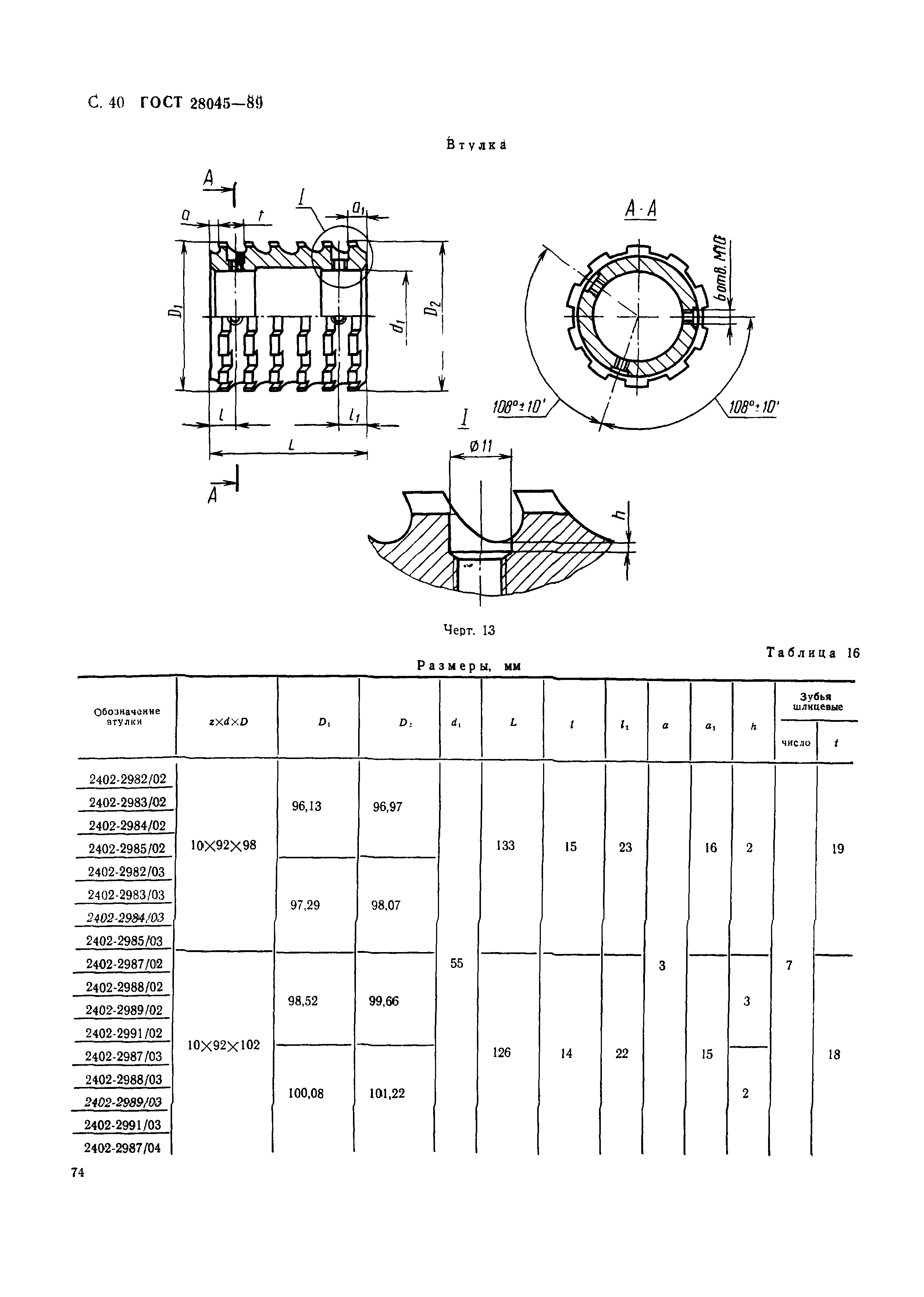
Оглавление:Приложение 1 (справочное) Конструктивные размеры деталей протяжек 1-го прохода
Разработан: Министерство станкостроительной и инструментальной промышленности СССР
Утверждён:16.03.1989 Государственный комитет СССР по стандартам (USSR National Committee on Standards 515)
Издан: Издательство стандартов (1989 г. )
Нормативные ссылки:
ГОСТ 28045-89ГОСТ 28045-89ГОСТ 28045-89ГОСТ 28045-89ГОСТ 28045-89ГОСТ 28045-89ГОСТ 28045-89ГОСТ 28045-89ГОСТ 28045-89ГОСТ 28045-89ГОСТ 28045-89ГОСТ 28045-89ГОСТ 28045-89ГОСТ 28045-89ГОСТ 28045-89ГОСТ 28045-89ГОСТ 28045-89ГОСТ 28045-89ГОСТ 28045-89ГОСТ 28045-89ГОСТ 28045-89ГОСТ 28045-89ГОСТ 28045-89ГОСТ 28045-89ГОСТ 28045-89ГОСТ 28045-89ГОСТ 28045-89ГОСТ 28045-89ГОСТ 28045-89ГОСТ 28045-89ГОСТ 28045-89ГОСТ 28045-89ГОСТ 28045-89ГОСТ 28045-89ГОСТ 28045-89ГОСТ 28045-89ГОСТ 28045-89ГОСТ 28045-89ГОСТ 28045-89ГОСТ 28045-89ГОСТ 28045-89ГОСТ 28045-89ГОСТ 28045-89ГОСТ 28045-89ГОСТ 28045-89ГОСТ 28045-89ГОСТ 28045-89ГОСТ 28045-89ГОСТ 28045-89ГОСТ 28045-89ГОСТ 28045-89ГОСТ 28045-89ГОСТ 28045-89