Скачать ГОСТ 28094-89 Калибры для круглой резьбы. ДопускиДата актуализации: 01.01.2021
|
| Обозначение: | ГОСТ 28094-89 |
| Обозначение англ: | GOST 28094-89 |
| Статус: | введен впервые |
| Название рус.: | Калибры для круглой резьбы. Допуски |
| Название англ.: | Gauges for tool cir cled tread. Tolerances |
| Дата добавления в базу: | 01.09.2013 |
| Дата актуализации: | 01.01.2021 |
| Дата введения: | 01.01.1990 |
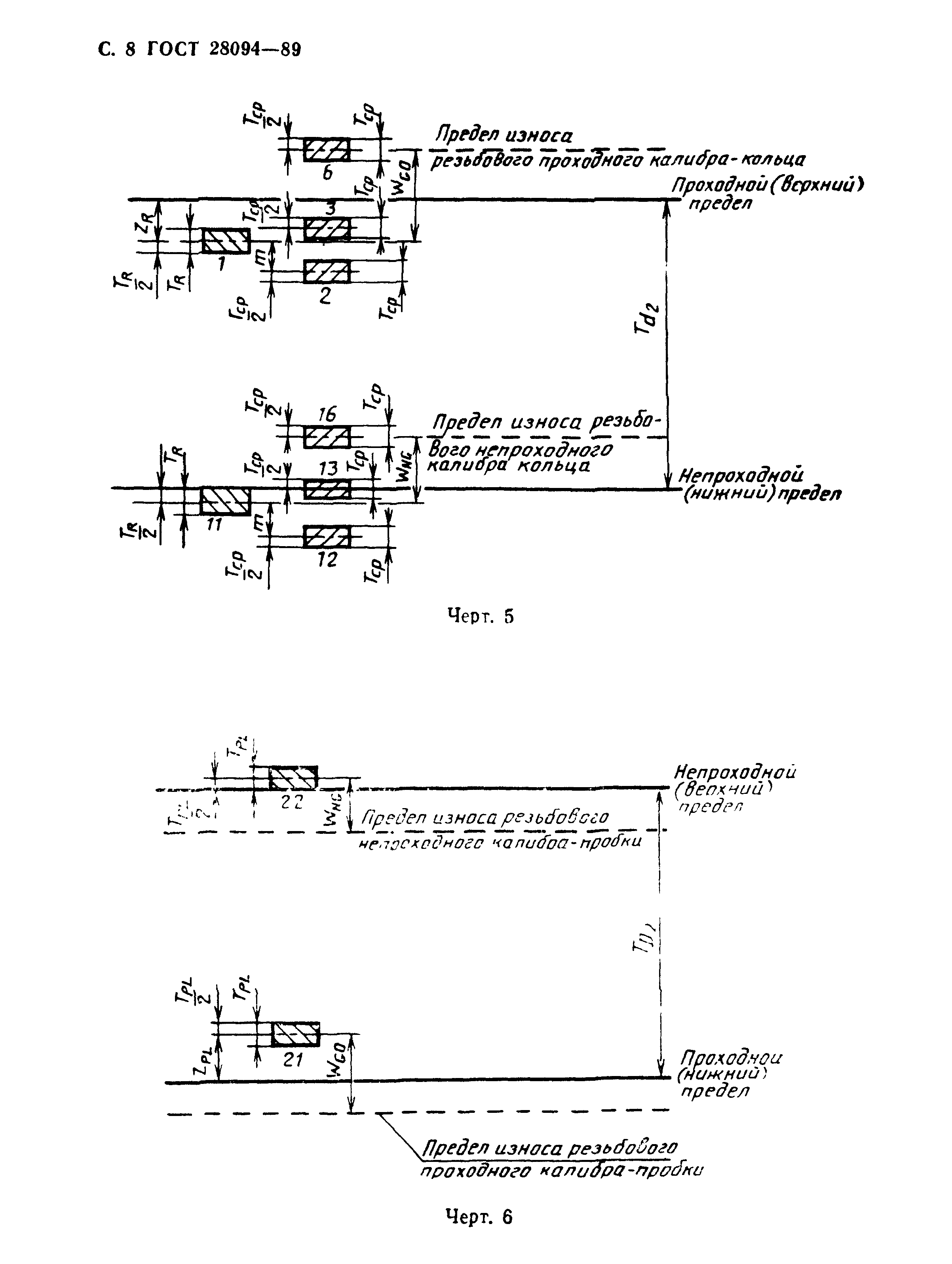
| Область применения: | Стандарт распространяется на резьбовые и гладкие калибры для контроля круглой резьбы с профилем и основными размерами по СТ СЭВ 3293 и допусками по СТ СЭВ 3962 и устанавливает виды калибров, профиль резьбы, длину рабочей части, допуски и формулы для расчета размеров резьбовых и гладких калибров. |
| Оглавление: | 1. Обозначения 2. Виды калибров 3. Профиль резьбы и длина рабочей части калибров 4. Допуски резьбовых калибров 5. Допуски главных калибров 6. Расчет калибров Приложение (рекомендуемое) Формулы для расчета размеров укороченного профиля резьбы калибров |
| Разработан: | Министерство станкостроительной и инструментальной промышленности СССР |
| Утверждён: | 12.04.1989 Государственный комитет СССР по стандартам (USSR National Committee on Standards 984) |
| Издан: | Издательство стандартов (1989 г. ) |
| Нормативные ссылки: |


















