Скачать ГОСТ 28119-89 Агрегатные станки. Втулки переходные регулируемые и гайки стопорные. Конструкция

Дата актуализации: 01.01.2021

ГОСТ 28119-89

Агрегатные станки. Втулки переходные регулируемые и гайки стопорные. Конструкция

Обозначение: ГОСТ 28119-89
Обозначение англ: GOST 28119-89
Статус:введен впервые
Название рус.:Агрегатные станки. Втулки переходные регулируемые и гайки стопорные. Конструкция
Название англ.:Building-block machines. Adapters and adjustable bushes and lecking nuts. Design
Дата добавления в базу:01.09.2013
Дата актуализации:01.01.2021
Дата введения:01.01.1990
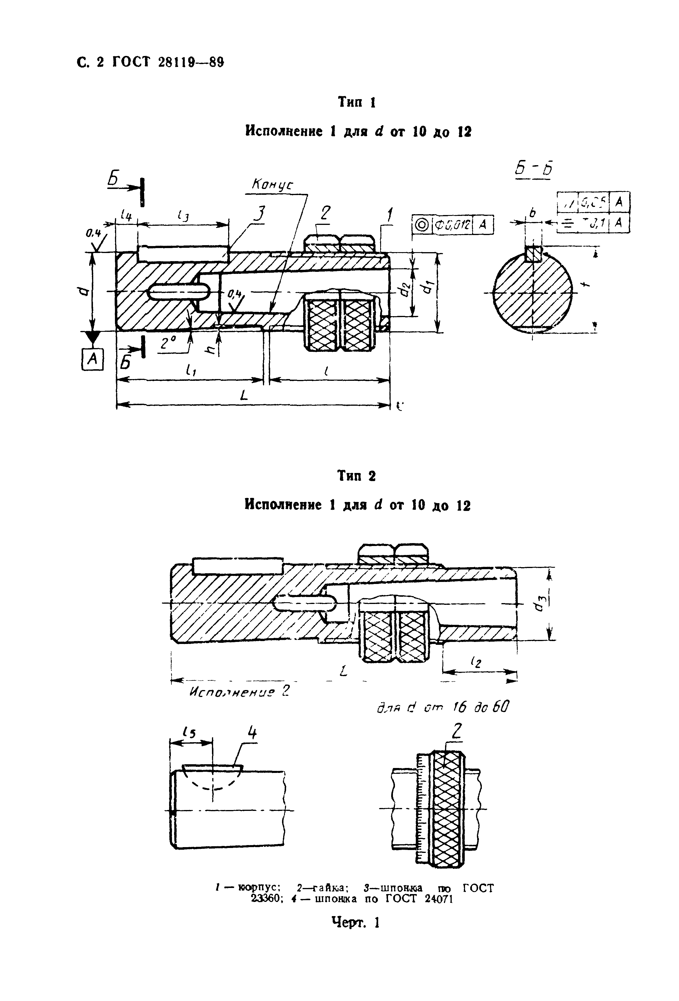
Область применения:Стандарт распространяется на переходные регулируемые втулки с цилиндрическим хвостовиком и стопорные гайки для закрепления инструмента с коническим хвостовиком, применяемые во вновь проектируемых силовых узлах агрегатных станков с концами шпинделей по ГОСТ 13876.
Разработан: Министерство станкостроительной и инструментальной промышленности СССР
Утверждён:25.04.1989 Государственный комитет СССР по стандартам (USSR National Committee on Standards 1081)
Издан: Издательство стандартов (1989 г. )
Нормативные ссылки:
ГОСТ 28119-89ГОСТ 28119-89ГОСТ 28119-89ГОСТ 28119-89ГОСТ 28119-89ГОСТ 28119-89ГОСТ 28119-89ГОСТ 28119-89ГОСТ 28119-89ГОСТ 28119-89ГОСТ 28119-89ГОСТ 28119-89ГОСТ 28119-89ГОСТ 28119-89ГОСТ 28119-89ГОСТ 28119-89ГОСТ 28119-89ГОСТ 28119-89