Скачать ГОСТ 28376-89 Компакт-диск. Параметры и размерыДата актуализации: 01.01.2021
|
| Обозначение: | ГОСТ 28376-89 |
| Обозначение англ: | GOST 28376-89 |
| Статус: | введен впервые |
| Название рус.: | Компакт-диск. Параметры и размеры |
| Название англ.: | Compact disк. Parameters and dimensions |
| Дата добавления в базу: | 01.09.2013 |
| Дата актуализации: | 01.01.2021 |
| Дата введения: | 01.01.1991 |
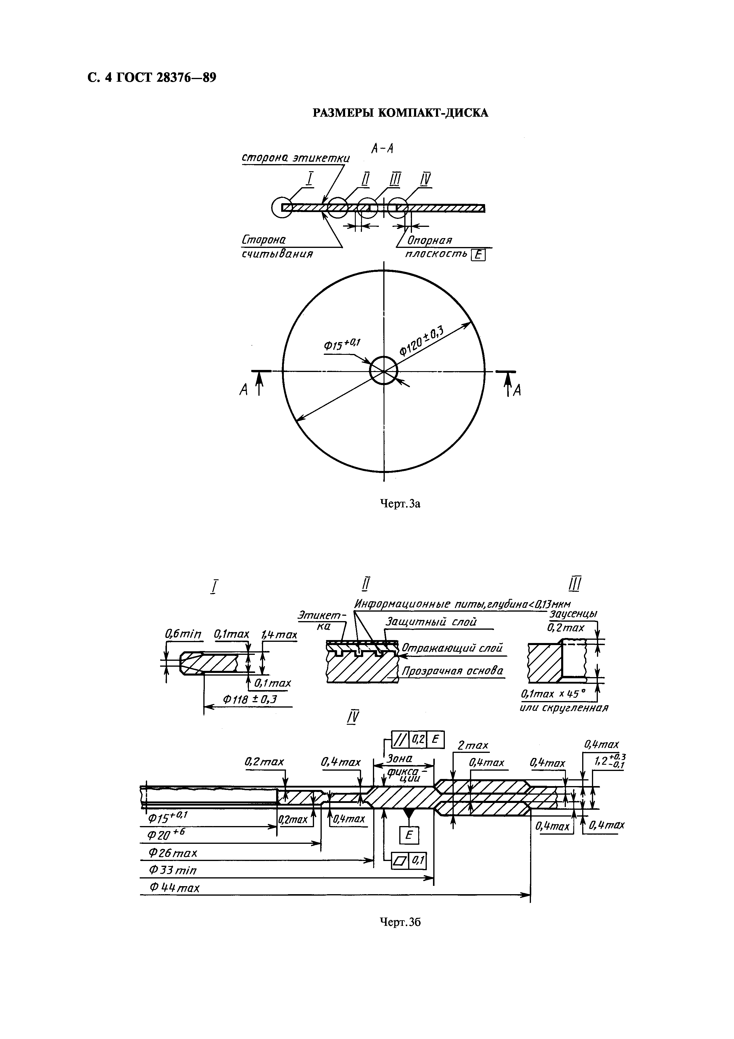
| Область применения: | Стандарт распространяется на оптический отражающий диск с предварительно записанной звуковой информацией в цифровом виде по системе записи по ГОСТ 27667. |
| Оглавление: | 1 Основные параметры 2 Размеры Приложение Термины, применяемые в стандарте, и их пояснения |
| Разработан: | Министерство культуры СССР |
| Утверждён: | 19.12.1989 Госстандарт СССР (USSR Gosstandart 3820) |
| Издан: | Издательство стандартов (1990 г. ) Стандартинформ (2006 г. ) |
| Нормативные ссылки: |






